解析天翼云IPsec VPN和SSL VPN的区别

671 阅读3分钟

天翼云提供IPsec VPN和SSL VPN两种类型的VPN服务,这两种VPN服务在使用功能和使用场景上都有所区别。本文就来探讨一下这两种VPN的区别。

VPN是Virtual Private Network虚拟私有网络的简称,它的功能是在两个网络之间创建一条虚拟的网络通道,使用户能通过这条通道访问普通方式所不能访问到的网络资源。

VPN最常见的使用场景就是移动办公,企业的内部IT系统比如OA、财务等系统出于安全考虑不向公网开放,员工如果想在家里办工或出差途中要访问公司内网,可以通过拨公司里的VPN后通过VPN访问公司内网资源。

一、天翼云****IPsec VPN

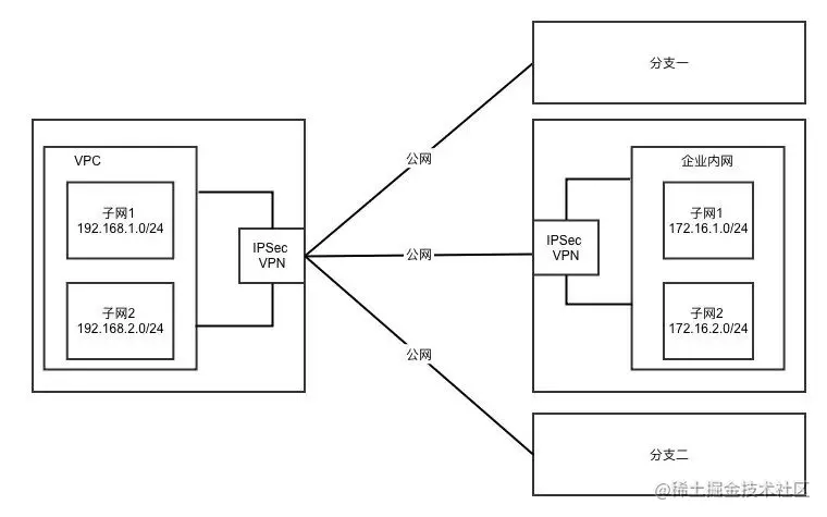
天翼云IPsec VPN是一种站点到站点的VPN服务,即建立整个站点到天翼云端的VPN通道,通过IPsec VPN构建混合云环境。

单个IPsec VPN实例支持多个站点的同时接入,VPN通道建立后,云端成为企业内网的延伸,云主机可以直接访问企业内网服务器,同样企业内网服务器也可以直接访问云主机,而不需要通过云主机的弹性IP访问。

天翼云IPsec VPN类似于云专线,它和云专线的最大区别是IPsec VPN是经由公网连接,而云专线是通过数字专线连接。云专线不经过互联网更安全,IPsec VPN只需要有互联网连接更灵活。

天翼云IPsec VPN适应于云主机与企业内网IT设备需要互访的混合云场景,特别适合于多个分支机构与云端混合组网的场景。

使用天翼云IPsec VPN要求企业侧具有一台支持IPsec VPN 的VPN网关设备,比如支持IPsec VPN的防火墙、软路由或电信政企网关,并且VPN网关设备需要具有固定公网IP地址。

当前中国电信正在进行产品升级,很快中国电信互联网专线的客户都将能通过政企网关快速安全地接入天翼云,将云端转化为企业网络的延伸。

二、天翼云****SSL VPN

天翼云SSL VPN是天翼云和合作厂商推出的一款VPN产品,它是一种点到站点的VPN服务,即建立单台设备到云平台的VPN服务。

天翼云SSL VPN服务安装部署在云主机上,云主机需要绑定弹性IP地址,客户端通过安装SSL VPN客户端访问云主机。

天翼云SSL VPN适应于企业将核心业务系统部署在云端,为防止出现业务系统身份认证方式被伪造、被黑客发起跳板攻击等安全问题,配置为业务不向公网开放,访问时需要通过客户端VPN拨号后访问云端业务。

天翼云SSL VPN当前支持Windows、Mac OS、Linux操作系统以及Android、iOS手机和平板电脑,不支持硬件防火墙等网络设备接入。

三、天翼云****IPsec VPN和SSL VPN对比总结