layer之数据表格应用

224 阅读1分钟

一起养成写作习惯!这是我参与「掘金日新计划 · 4 月更文挑战」的第1天,点击查看活动详情

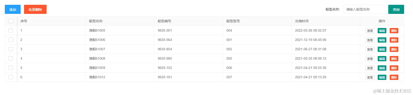
数据表格在开发中很常见,以下展示了数据列表及数据的编辑

一、代码

<html>
	<head>
		<meta charset="utf-8">
		<title>Layui</title>
		<meta name="renderer" content="webkit">
		<meta http-equiv="X-UA-Compatible" content="IE=edge,chrome=1">
		<meta name="viewport" content="width=device-width, initial-scale=1, maximum-scale=1">
		<link rel="stylesheet" href="../layui/css/layui.css" media="all">
		<!-- 注意:如果你直接复制所有代码到本地,上述css路径需要改成你本地的 -->
	</head>
	<body>
		<div style="padding: 20px;">
			<div style="overflow: hidden;">
				<div style="float: left;">
					<button type="button" class="layui-btn layui-btn-normal" onclick="tianjia()">添加</button>
					<button type="button" class="layui-btn layui-btn-danger" onclick="plsc()">批量删除</button>
				</div>
				<div class="" style="float: right;">
					<label class="layui-form-label">船型名称:</label>
					<div class="layui-input-inline">
						<input type="text" name="title" lay-verify="title" autocomplete="off" placeholder="请输入船型名称"
							class="layui-input">
					</div>
					<button type="button" class="layui-btn">查询</button>
				</div>
			</div>
			<table class="layui-table" lay-data="" lay-filter="demo">
				<thead>
					<tr>
						<th lay-data="{type:'checkbox', fixed: 'left'}"></th>
						<th lay-data="{field:'xh',}">序号</th>
						<th lay-data="{field:'cxmc',}">船型名称</th>
						<th lay-data="{field:'cxbh',}">船型编号</th>
						<th lay-data="{field:'cxxh',}">船型型号</th>
						<th lay-data="{field:'chsj',}">出海时间</th>
						<th lay-data="{fixed: 'right', width:178, align:'center', toolbar: '#barDemo'}">操作</th>
					</tr>
				</thead>
				<tbody>
					<tr>
						<td></td>
						<td>1</td>
						<td>渔船61005</td>
						<td>9635-301</td>
						<td>004</td>
						<td>2022-03-26 08:32:07</td>
					</tr>
					<tr>
						<td></td>
						<td>2</td>
						<td>渔船61006</td>
						<td>9635-564</td>
						<td>001</td>
						<td>2021-12-19 08:45:06</td>
					</tr>
					<tr>
						<td></td>
						<td>3</td>
						<td>渔船61007</td>
						<td>9635-854</td>
						<td>002</td>
						<td>2021-06-27 08:31:08</td>
					</tr>
					<tr>
						<td></td>
						<td>4</td>
						<td>渔船61008</td>
						<td>9635-985</td>
						<td>005</td>
						<td>2021-05-25 08:06:12</td>
					</tr>
					<tr>
						<td></td>
						<td>5</td>
						<td>渔船61009</td>
						<td>9635-152</td>
						<td>006</td>
						<td>2021-04-21 09:25:36</td>
					</tr>
					<tr>
						<td></td>
						<td>6</td>
						<td>渔船61012</td>
						<td>9635-161</td>
						<td>007</td>
						<td>2021-04-21 09:13:26</td>
					</tr>
				</tbody>

			</table>
		</div>

		<script type="text/html" id="barDemo">
			<a class="layui-btn layui-btn-primary layui-btn-xs" lay-event="detail">查看</a>
			<a class="layui-btn layui-btn-xs" lay-event="edit">编辑</a>
			<a class="layui-btn layui-btn-danger layui-btn-xs" lay-event="del">删除</a>
		</script>

		<script src="../layui/layui.js" charset="utf-8"></script>
		<!-- 注意:如果你直接复制所有代码到本地,上述 JS 路径需要改成你本地的 -->
		<script>
			function tianjia() {
				layer.open({
					type: 1,
					title: '添加',
					btn: ['确定', '关闭'],
					content: "<div style='width:1000px;height:600px;padding:20px;line-height:35px;'><ul><li style='display:flex;margin-bottom:10px;'><div style='width:160px;text-align: right;margin-right:20px;color: #686B6D;'>船型名称:</div><input type='text' style='width:500px;padding-left:10px;border-radius: 5px;border: 1px solid #E5E6E7;'></li><li style='display:flex;margin-bottom:10px;'><div style='width:160px;text-align: right;margin-right:20px;color: #686B6D;'>船型编号:</div><input type='text' style='width:500px;padding-left:10px;border-radius: 5px;border: 1px solid #E5E6E7;'></li><li style='display:flex;margin-bottom:10px;'><div style='width:160px;text-align: right;margin-right:20px;color: #686B6D;'>船型型号:</div><input type='text' style='width:500px;padding-left:10px;border-radius: 5px;border: 1px solid #E5E6E7;'></li><li style='display:flex;margin-bottom:10px;'><div style='width:160px;text-align: right;margin-right:20px;color: #686B6D;'>出海时间:</div><input type='text' style='width:500px;padding-left:10px;border-radius: 5px;border: 1px solid #E5E6E7;'></li></ul></div>"
				});
			}

			function plsc() {
				layer.confirm('确定删除么', function(index) {
					layer.close(index);
				});
			}
		</script>
		<script>
			layui.use('table', function() {
				var table = layui.table;
				//监听工具条
				table.on('tool(demo)', function(obj) {
					var data = obj.data;
					if (obj.event === 'detail') {
						layer.open({
							type: 1,
							title: '查看',
							btn: ['关闭'],
							content: "<div style='width:1000px;height:600px;padding:20px;line-height:35px;'><ul><li style='display:flex;'><div style='width:160px;text-align: right;margin-right:20px;color: #686B6D;'>序号:</div>" +
								data.xh +
								"</li><li style='display:flex;'><div style='width:160px;text-align: right;margin-right:20px;color: #686B6D;'>船型名称:</div>" +
								data.cxmc +
								"</li><li style='display:flex;'><div style='width:160px;text-align: right;margin-right:20px;color: #686B6D;'>船型编号:</div>" +
								data.cxbh +
								"</li><li style='display:flex;'><div style='width:160px;text-align: right;margin-right:20px;color: #686B6D;'>船型型号:</div>" +
								data.cxxh +
								"</li><li style='display:flex;'><div style='width:160px;text-align: right;margin-right:20px;color: #686B6D;'>出海时间:</div>" +
								data.chsj +
								"</li></ul></div>"
						});
					} else if (obj.event === 'del') {
						layer.confirm('真的删除行么', function(index) {
							obj.del();
							layer.close(index);
						});
					} else if (obj.event === 'edit') {
						layer.open({
							type: 1,
							title: '编辑',
							btn: ['确定', '关闭'],
							content: "<div style='width:1000px;height:600px;padding:20px;line-height:35px;'><ul><li style='display:flex;margin-bottom:10px;'><div style='width:160px;text-align: right;margin-right:20px;color: #686B6D;'>序号:</div>" +
								data.xh +
								"</li><li style='display:flex;margin-bottom:10px;'><div style='width:160px;text-align: right;margin-right:20px;color: #686B6D;'>船型名称:</div><input type='text' placeholder='" +
								data.cxmc +
								"' style='width:500px;padding-left:10px;border-radius: 5px;border: 1px solid #E5E6E7;'></li><li style='display:flex;margin-bottom:10px;'><div style='width:160px;text-align: right;margin-right:20px;color: #686B6D;'>船型编号:</div><input type='text' placeholder=" +
								data.cxbh +
								" style='width:500px;padding-left:10px;border-radius: 5px;border: 1px solid #E5E6E7;'></li><li style='display:flex;margin-bottom:10px;'><div style='width:160px;text-align: right;margin-right:20px;color: #686B6D;'>船型型号:</div><input type='text' placeholder=" +
								data.cxxh +
								" style='width:500px;padding-left:10px;border-radius: 5px;border: 1px solid #E5E6E7;'></li><li style='display:flex;margin-bottom:10px;'><div style='width:160px;text-align: right;margin-right:20px;color: #686B6D;'>出海时间:</div><input type='text' placeholder='" +
								data.chsj +
								"' style='width:500px;padding-left:10px;border-radius: 5px;border: 1px solid #E5E6E7;'></li></ul></div>"
						});
					}
				});
			});
		</script>

	</body>
</html>

需要注意的是:时间格式拼接的时候要用'"+time+"' 如果用"+time+" 取到的是2022-03-26而不是2022-03-26 08:32:07

二、效果

2022-04-02_092322.png

一起加油!!!