京东面试官:Redis 这些我必问

189 阅读26分钟

7.jpg

京东面试官:Redis 这些我必问

原创2022-03-09 16:00·LBL-埃文斯

京东面试官:Redis 这些我必问

分布式缓存

缓存好处:高性能 + 高并发

高性能(常用)

京东面试官:Redis 这些我必问


数据库查询耗费了800ms,其他用户对同一个数据再次查询 ,假设该数据在10分钟以内没有变化过,并且 10 分钟之内有 1000 个用户 都查询了同一数据,10 分钟之内,那 1000 每个用户,每个人查询这个数据都感觉很慢 800ms
比如 :某个商品信息,在 一天之内都不会改变,但是这个商品每次查询一次都要耗费2s,一天之内被浏览 100W次
mysql 单机也就 2000qps,缓存单机轻松几万几十万qps,单机 承载并发量是 mysql 单机的几十倍。

如果感觉小编写得不错,请素质三连:点赞+转发+关注。我会努力写出更好的作品分享给大家。更多学习资料小编已打包好,可以找我领取哦!领取方式:私信回复暗号 【444】 即可免费领取更多完整版资料。

高并发

京东面试官:Redis 这些我必问


在中午高峰期,有 100W 个用户访问系统 A,每秒有 4000 个请求去查询数据库,数据库承载每秒 4000 个请求会宕机,加上缓存后,可以 3000 个请求走缓存 ,1000 个请求走数据库。
缓存是走内存的,内存天然可以支撑4w/s的请求,数据库(基于磁盘)一般建议并发请求不要超过 2000/s

缓存不良后果

  1. 缓存与数据库双写不一致
  2. 缓存雪崩
  3. 缓存穿透
  4. 缓存并发竞争

Redis 线程模型

redis 单线程 ,memcached 多线程
redis 是单线程 nio 异步线程模型

Redis 和 Memcached 区别

  1. Redis 支持服务器端的数据操作:Redis比Memcached来说,拥有更多的数据结构和并支持更丰富的数据操作,通常在Memcached里,你需要将数据拿到客户端来进行类似的修改再set回去。这大大增加了网络 IO 的次数和数据体积。在Redis中,这些复杂的操作通常和一般的GET/SET一样高效。所以,如果需要缓存能支持更复杂的结构和操作,那么Redis会是不错的选择
  2. 集群模式:memcached 没有原生的集群模式,需要依靠客户端来实现往集群中分片写入数据,但是 Redis 目前是原生支持 cluster模式的

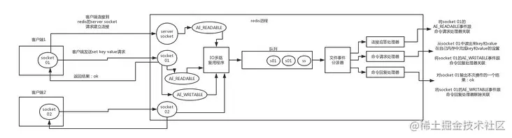
Redis 单线程模型

一个线程+一个队列

京东面试官:Redis 这些我必问

redis 基于 reactor 模式开发了网络事件处理器,这个处理器叫做文件事件处理器,file event handler,这个文件事件处理器是单线程的,所以redis 是单线程的模型,采用 io多路复用机制同时监听多个 socket,根据socket上的事件来选择对应的事件处理器来处理这个事件。
文件事件处理器包含:多个 socket,io多路复用程序,文件事件分派器,事件处理器(命令请求处理器、命令恢复处理器、连接应答处理器)
文件事件处理器是单线程的,通过 io 多路复用机制监听多个 socket,实现高性能和线程模型简单性
被监听的 socket 准备好执行 accept,read,write,close等操作的时候,会产生对应的文件事件,调用之前关联好的时间处理器处理
多个 socket并发操作,产生不同的文件事件,i/o多路复用会监听多个socket,将这些 socket放入一个队列中排队。事件分派器从队列中取出socket给对应事件处理器。
一个socket时间处理完后,事件分派器才能从队列中拿到下一个socket,给对应事件处理器来处理。

文件事件:
AE_READABLE 对应 socket变得可读(客户端对redis执行 write操作)
AE_WRITABLE 对应 socket 变得可写(客户端对 redis执行 read操作)
I/O 多路复用可以同时监听AE_REABLE和 AE_WRITABLE ,如果同时达到则优先处理 AE_REABLE 时间
文件事件处理器:
连接应答处理器 对应 客户端要连接 redis
命令请求处理器 对应 客户端写数据到 redis
命令回复处理器 对应 客户端从 redis 读数据

流程:

  1. redis 初始化时,会将连接应答处理器跟 AE_READABLE事件关联
  2. 客户端对 redis 发起连接,产生一个 AE_READABLE 事件
  3. 连接应答处理器处理客户端 AE_READABLE 事件,创建客户端对应的 socket,同时将这个 socket的 AE_READABLE 事件和命令请求处理器关联
  4. 客户端对 redis 发起读请求,会在 socket上产生一个 AE_READABLE 事件
  5. 绑定 AE_READABLE 事件的命令请求处理器会从 socket 中读取请求相关数据,执行对应操作,当执行完毕后,将 socket的 AE_WRITABLE 事件跟命令回复处理器关联
  6. 当客户端这边准备好读取响应时,会在 socket上产生一个AE_WRITABLE事件
  7. 绑定 AE_WRITABLE 事件的命令回复处理器将准备好的响应数据写入 socket,供客户端来读取
  8. 命令回复处理器写完后,删掉 socket的 AE_WRITABLE 事件和命令回复处理器的绑定关系

Redis 单线程模型效率高

一秒钟可以处理几万个请求

  1. 非阻塞 I/O 多路复用机制(不处理事件,只轮询请求压入队列)
  2. 纯内存操作(操作只有几微秒)
  3. 单线程反而 避免了多线程频繁上下文切换的问题

Redis 数据类型

  • string

普通的 set,get kv缓存

  • hash

类型 map结构,比如一个对象(没有嵌套对象)缓存到 redis里面,然后读写缓存的时候,可以直接操作hash的字段(比如把 age 改成 21,其他的不变)
key=150
value = {

"id":150,
"name":"zhangsan",
"age":20

}

  • list

有序列表 ,元素可以重复
可以通过 list 存储一些列表型数据结构,类似粉丝列表,文章评论列表。
例如:微信大 V的粉丝,可以以 list 的格式放在 redis 里去缓存
key=某大 V value=[zhangsan,lisi,wangwu]
比如 lrange 可以从某个元素开始读取多少个元素,可以基于 list 实现分页查询功能,基于 redis实现高性能分页,类似微博下来不断分页东西。
可以搞个简单的消息队列,从 list头怼进去(lpush),list尾巴出来 (brpop)

  • set

无序集合,自动去重
需要对一些数据快速全局去重,(当然也可以基于 HashSet,但是单机)
基于 set 玩差集、并集、交集的操作。比如:2 个人的粉丝列表整一个交集,看看 2 个人的共同好友是谁?
把 2 个大 V 的粉丝都放在 2 个 set中,对 2 个 set做交集(sinter)

  • sorted set

排序的 set,去重但是可以排序,写进去的时候给一个分数,自动根据分数排序

排行榜:

  1. 将每个用户以及其对应的分数写入进去

zadd board score username

  1. zrevrange board 0 99 可以获取排名前 100 的用户
  2. zrank board username 可以看到用户在排行榜里的排名

例如:
zadd board 85 zhangsan
zadd board 72 wangwu
zadd board 96 lis
zadd board 62 zhaoliu

自动排序为:
96 lisi
85 zhangsan
72 wangwu
62 zhaoliu

获取排名前 3 的用户 : zrevrange board 0 3
96 lisi
85 zhangsan
72 wangwu

查看zhaoliu的排行 :zrank board zhaoliu 返回 4

Redis 过期策略

内存是宝贵的,磁盘是廉价的
给key设置过期时间后,redis对这批key是定期删除+惰性删除
定期删除:
redis 默认每隔 100ms随机抽取一些设置了过期时间的 key,检查其是否过期了,如果过期就删除。
注意:redis是每隔100ms随机抽取一些 key来检查和删除,而不是遍历所有的设置过期时间的key(否则CPU 负载会很高,消耗在检查过期 key 上)
惰性删除:
获取某个key的时候, redis 会检查一下,这个key如果设置了过期时间那么是否过期,如果过期了则删除。
如果定期删除漏掉了许多过期key,然后你也没及时去查,也没走惰性删除,如果大量过期的key堆积在内存里,导致 redis 内存块耗尽,则走内存淘汰机制。

内存淘汰策略:

  1. noeviction:当内存不足以容纳新写入数据时,新写入操作直接报错(没人用)
  2. allkeys-lru: 当内存不足以容纳新写入数据时,在键空间中,移除最近最少使用的key(最常用)
  3. allkeys-random: 当内存不足以容纳新写入数据时,在键空间中,随机移除某个 key,(没人用)
  4. volatile-lru:当内存不足以容纳新写入数据时,在设置了过期时间的键空间中,移除最近最少使用的key(不合适)
  5. volatile-ttl:当内存不足以容纳新写入数据时,在设置了过期时间的键空间中,有更早过期时间的 key 优先移除(不合适)

LRU 算法:

package com.mousycoder.mycode;

import java.util.LinkedHashMap;
import java.util.Map;

/**
 * @version 1.0
 * @author: mousycoder
 * @date: 2019/10/31 17:55
 */
public class LRUCache<K,V> extends LinkedHashMap<K,V> {

    private final int CACHE_SIZE;

    public LRUCache( int cacheSize) {
        super((int)Math.ceil(cacheSize / 0.75) + 1 ,0.75f,true);
        this.CACHE_SIZE = cacheSize;
    }

    @Override
    protected boolean removeEldestEntry(Map.Entry<K, V> eldest) {
        return size() > CACHE_SIZE;
    }

    public static void main(String[] args) {
        LRUCache<Integer,Integer> lruCache = new LRUCache<>(10);
        for (int i = 0; i < 15; i++) {
            lruCache.put(i,i);
        }

        Integer integer1 = lruCache.get(0);
        for (Integer integer : lruCache.keySet()) {
            System.out.println(integer);
        }

    }
}

Redis 高并发和高可用

缓存架构(多级缓存架构、热点缓存)
redis 高并发瓶颈在单机,读写分离,一般是支撑读高并发,写请求少,也就 一秒一两千,大量请求读,一秒钟二十万次。

京东面试官:Redis 这些我必问

主从架构

京东面试官:Redis 这些我必问


一主多从,主负责写,将数据同步复制到其他 slave节点,从节点负责读,所有读的请求全部走从节点。主要是解决读高并发。、
主从架构->读写分离->支撑10W+读QPS架构

Redis Replication

京东面试官:Redis 这些我必问


master->slave 复制,是异步的
核心机制:

  1. redis 采用异步方式复制数据到 slave 节点
  2. 一个 master node是可以配置多个 slave node的
  3. slave node也可以连接其他的 slave node
  4. slave node 做复制的时候,是不会 block master node的正常工作
  5. slave node 在做复制的时候,也不会 block对自己的查询操作,它会用旧的数据集来提供服务。但是复制完成时,需要删除旧数据集,加载新的数据集,这个时候就会暂停对外服务了。
  6. slave node 主要用来进行横向扩容,做读写分离,扩容 slave node 可以提高读的吞吐量

master持久化对主从架构的意义:
如果开启了主从架构,一定要开启 master node的持久化,不然 master宕机重启数据是空的,一经复制,slave的数据也丢了

主从复制原理:

京东面试官:Redis 这些我必问


第一次启动或者断开重连情况:

  1. 当启动一个 slave node的时候,它会发送一个 PSYNC 命令给 master node
  2. master 会触发一次 full resynchronization (如果不是第一次连接,master 只会复制给 slave 部分缺少的数据,从backlog里找)
  3. master会启动一个后台线程,开始生成一份 RDB 快照( bgsave,也可以直接在内存中创建),同时将从客户端收到的所有写命令缓存在内存中。RDB 文件生成完毕之后,master会将这个RDB发送给slave,slave会先写入本地磁盘,然后再从本地磁盘加载到内存中。然后 master会将内存中缓存的写命令发送给 slave,slave也会同步这些数据(slave如果跟 master网络故障,断开连接,会自动重连,master如果发现有多个 slave 来重新连接,仅仅只会启动一个 RDB save 操作,用一份数据服务所有 slave node)

正常情况下:
master 来一条数据,就异步给 slave

如果感觉小编写得不错,请素质三连:点赞+转发+关注。我会努力写出更好的作品分享给大家。更多学习资料小编已打包好,可以找我领取哦!领取方式:私信回复暗号 【444】 即可免费领取更多完整版资料。

Redis高可用性

全年 99.99%的时间,都是出于可用的状态,那么就可以称为高可用性
redis 高可用架构叫故障转移,failover,也可以叫做主备切换,切换的时间不可用,但是整体高可用。
sentinal node(哨兵)

Sentinal

作用:

  1. 集群监控,负责监控 redis master 和 slave进程是否正常
  2. 消息通知,如果某个 redis 实例有故障,那么哨兵负责发送消息作为报警通知给管理员
  3. 故障转移,如果 master 挂掉,会自动转移到 slave
  4. 配置中心,如果故障转移了,通知 client 客户端新的 master地址

两节点哨兵集群

京东面试官:Redis 这些我必问


quorum = 1 (代表哨兵最低个数可以尝试故障转移,选举执行的哨兵)
master 宕机,只有 S2 存活,因为 quorum =1 可以尝试故障转移,但是没达到 majority =2 (最低允许执行故障转移的哨兵存活数)的标准,无法执行故障转移

三节点哨兵集群(经典)

京东面试官:Redis 这些我必问


如果 M1 宕机了,S2,S3 认为 master宕机,选举一个执行故障转移,因为 3 个哨兵的 majority = 2,所以可以执行故障转移

Redis 主从 + 哨兵

丢数据:

京东面试官:Redis 这些我必问

  1. master内存中数据异步同步到 slave master 就挂掉了,丢掉了 master 内存中的数据

京东面试官:Redis 这些我必问

  1. 脑裂,某个 master 所在机器突然脱离了正常的网络,其他 slave机器不能连接,但是实际上 master还在运行,哨兵认为 master 宕机,选举 slave为master,此时集群里有 2 个 master, client还没来得及切换到新的master,还继续写在旧的 master上,数据丢了,此时旧的 master再次恢复,被被作为一个 slave 挂到新的 master 上,自己的数据被清空 (脑裂,大脑一分为 2,同时指挥同一个人)

解决方案:

  1. min-slaves-max-lag 10 (至少一个 slave同步的延迟不能超过 10s) 减少异步复制的数据丢失,发现slave复制数据和 ack延时过长,拒绝写入,减少同步数据损失。让client做降级写到本地磁盘里和限流,或者先暂存到消息队列,然后重新发回 master
  2. min-slaves-to-write 1 减少脑裂带来的数据丢失,最多损失 10 s数据,假设master 不能继续给 slave发送数据,并且 slave 10s没给自己的 ack消息,直接拒绝客户端写请求,同时 client做降写到本地磁盘、限流,或者先暂存到消息队列,然后重新发回 master

哨兵

sdown 主观宕机,哨兵觉得一个 master 宕机(ping 超过了
is-master-down-after-milliseconds毫秒数)
odown 客观宕机,quorum数量的哨兵都觉得 master宕机
哨兵互相感知通过 redis的 pub/sub系统,每隔 2 秒往同一个 channel里发消息(自己的 host,ip,runid),其他哨兵可以消费这个消息
以及同步交换master的监控信息。
哨兵确保其他slave修改master信息为新选举的master
当一个 master被认为 odown && marjority哨兵都同意,那么某个哨兵会执行主备切换,选举一个slave成为master(考虑 1. 跟master断开连接的时长 2. slave 优先级 3.复制 offset 4. runid)
选举算法:

  1. 如果slave跟master断开连接已经超过 down-after-milliseconds * 10 + master宕机时间,则放弃
  2. 按 slave 优先级排序 ,slave-priority 越小越靠前
  3. replica offset ,哪个slave复制越多的数据,越靠前
  4. runid 越小,越靠前

quorum 数量哨兵认为odown->选举一个哨兵切换->获得 majority哨兵的授权(quorum < majority 需要 majority个哨兵授权,quorum >= majority 需要 quorum 哨兵授权)
第一个选举出来的哨兵切换失败了,其他哨兵等待 failover-time之后,重新拿confiuration epoch做为新的version 切换,保证拿到最新配置,用于 configuration传播(通过 pu/sub消息机制,其他哨兵对比 version 新旧更新 master配置)

Redis 优化方案

高并发:主从架构
高容量:Redis集群,支持每秒几十万的读写并发
高可用:主从+哨兵

Redis 持久化

持久化的意义在于故障恢复数据备份(到其他服务器)+故障恢复(遇到灾难,机房断电,电缆被切)

  • RDB 对 Redis 中的数据执行周期性的持久化。
  • AOF 机制,每条写命令作为日志,以 append-only模式写入一个日志文件总,在 redis重启的时候,可以通过回放AOF日志中的写入指令来重新构建整个数据集

AOF 只有一个,Redis 中的数据是有一定限量的,内存大小是一定的,AOF 是存放写命令的,当大到一定的时候,AOF 做 rewrite 操作,就会基于当时 redis 内存中的数据,来重新构造一个更小的 AOF 文件,然后将旧的膨胀很大的文件给删掉,AOF 文件一直会被限制在和Redis内存中一样的数据。AOF同步间隔比 RDB 小,数据更完整

RDB

优点:

  • RDB 会生成多个数据文件,每个数据文件都代表了某一个时刻中 redis 的数据,这种多个数据文件的方式,非常适合做冷备,可以将这种完整的数据文件发送到一些远程的安全存储上去,RDB 做冷备,生成多个文件,每个文件都代表某一个时刻的完整的数据快照,AOF 也可以做冷备,只有一个文件,每隔一定时间去 copy一份这个文件出来。 RDB 做冷备,由Redis控制固定时长去生成快照文件,比较方便。AOF,需要自己写脚本定时控制。
  • RDB 对 redis对外提供的读写服务,影响非常小,可以让 redis 保持高性能,因为 redis 主进程只需要 fork一个子进程,让子进程执行磁盘 IO 操作来进行 RDB 持久化
  • 相对于 AOF 持久化机制来说,直接基于 RDB 数据文件来重启和恢复 redis 进程,更加快速

缺点:

  • 如果想要在 redis故障时,尽可能少丢数据,那么 RDB 没有 AOF 好,一般 RDB 数据快照,都是间隔 5 分钟,或者更长的时候生成一次,这个时候就得接受一旦 redis 进程宕机,那么会丢失最近 5 分钟数据
  • RDB 每次在 fork子进程来执行 RDB 快早数据文件生成的时候,如果数据文件特别大,可能会导致对客户端提供的服务暂停数毫秒,甚至数秒(RDB 生成间隔不要太长)

AOF 存放的指令日志,数据恢复的时候,需要回放执行所有指令日志,RDB 就是一份数据文件,直接加载到内存中。

AOF

优点:

  1. 更好保护数据不丢失,后台线程 fsync 操作,最多丢失一秒钟数据,保证 os cache中的数据写入磁盘中
  2. AOF 用 append-only 模式,没有磁盘寻址开销,写入性能非常高,文件不容易损坏。
  3. AOF 日志过大的时候,后台 rewrite log时候,老的日志文件照常写入,新的merge后的日志文件 ready的时候,再交换新老日志文件
  4. 适合灾难性恢复,某人不小心 flushall清空所有数据,只要后台 rewrite还没发生,那么可以立刻拷贝 AOF 文件,将最后一条 flushall命令给删了,然后再将该 AOF 文件放回去,可以通过恢复机制,自动恢复所有数据

缺点:

  1. AOF 日志文件比 RDB 数据快照文件大
  2. 降低 Redis的写 QPS
  3. AOF 复杂,Bug多
  4. 数据恢复比较慢

最佳方案

AOF 来保证数据不丢失,RDB 做不同时间的冷备

Redis Cluster

京东面试官:Redis 这些我必问


支持 N 个 Redis master node,每个 master node挂载多个 slave node
多master + 读写分离 + 高可用

数据量很少,高并发 -> replication + sentinal 集群
海量数据 + 高并发 + 高可用 -> redis cluster

分布式算法

hash算法->一致性 hash 算法-> redis cluster->hash slot算法

redis cluster :自动对数据进行分片,每个 master 上放一部分数据,提供内置的高可用支持,部分master不可用时,还是可以继续工作
cluster bus 通过 16379进行通信,故障检测,配置更新,故障转移授权,另外一种二进制协议,主要用于节点间进行高效数据交换,占用更少的网络带宽和处理时间

hash算法

key进行hash,然后对节点数量取模,最大问题只有任意一个 master 宕机,大量数据就要根据新的节点数取模,会导致大量缓存失效。

一致性 hash 算法

京东面试官:Redis 这些我必问


key进行hash,对应圆环上一个点,顺时针寻找距离最近的一个点。保证任何一个 master 宕机,只受 master 宕机那台影响,其他节点不受影响,此时会瞬间去查数据库。
缓存热点问题:
可能集中在某个 hash区间内的值特别多,那么会导致大量的数据都涌入同一个 master 内,造成 master的热点问题,性能出现瓶颈。
解决方法:
给每个 master 都做了均匀分布的虚拟节点,这样每个区间内大量数据都会均匀的分布到不同节点内,而不是顺时针全部涌入到同一个节点中。

Hash Slot算法

redis cluster 有固定 16384 个 hash slot,对每个key计算 CRC16 值,然后对16384取模,可以获取 key对应的 hash slot
redis cluster 中每个 master 都会持有部分 slot ,当一台 master 宕机时候,会最快速度迁移 hash slot到可用的机器上(只会短暂的访问不到)
走同一个 hash slot 通过 hash tag实现

Redis Cluster 核心

  1. 基础通信

通过 gossip 协议通信(小道留言,所有节点都持有一份元数据,不同的节点如果出现了元数据的变更,就不断将元数据发送给其他节点,让其他节点也进行元数据的变更)

京东面试官:Redis 这些我必问


集群元数据:包括 hashslot->node之间的映射表关系,master->slave之间的关系,故障的信息
集群元数据集中式存储(storm),底层基于zookeeper(分布式协调中间件)集群所有元数据的维护。好处:元数据的更新和读取,时效性好,一旦变更,其他节点立刻可以感知。缺点:所有元数据的更新压力全部集中在一个地方,可能会导致元数据的存储有压力。
goosip: 好处:元数据的更新比较分散,有一定的延时,降低了压力。缺点:更新有延时,集群的一些操作会滞后。(reshared操作时configuration error)

  1. 10000 端口

自己提供服务的端口号+ 10000 ,每隔一段时间就会往另外几个节点发送ping消息,同时其他几点接收到ping之后返回pong

  1. 交换的信息

故障信息,节点的增加和移除, hash slot 信息

  1. gossip协议

meet:某个节点发送 meet给新加入的节点,让新节点加入集群中,然后新节点就会开始于其他节点进行通信
ping:每个节点都会频繁给其他节点发送ping,其中包含自己的状态还有自己维护的集群元数据,互相通过ping交换元数据
ping:返回ping和meet,包含自己的状态和其他信息
fail:某个节点判断另一个节点fail之后,就发送 fail 给其他节点,通知其他节点,指定的节点宕机了

  1. ping消息

ping 很频繁,且携带元数据,会加重网络负担
每个节点每秒会执行 10 次 ping,每次选择 5 个最久没有通信的其他节点
当如果发现某个节点通信延迟达到了 cluster_node_timeout /2 ,那么立即发送 ping, 避免数据交换延迟过长,落后时间太长(2 个节点之间 10 分钟没有交换数据,整个集群处于严重的元数据不一致的情况)。
每次ping,一个是带上自己的节点信息,还有就是带上1/10其他节点的信息,发送出去,进行数据交换
至少包含 3 个其他节点信息,最多包含总节点-2 个其他节点的信息

  1. JRedis原理
  • 请求重定向

客户端发送到任意一个redis实例发送命令,每个redis实例接受到命令后,都会计算key对应的hash slot,如果在本地就本地处理,否则返回moved给客户端,让客户端进行重定向 (redis-cli -c)

  • hash slot

通过tag指定key对应的slot,同一个 tag 下的 key,都会在一个 hash slot中,比如 set key1:{100} 和 set key2:{100}

  • smart jedis

本地维护一份hashslot->node的映射表。
JedisCluster 初始化的时候,随机选择一个 node,初始化 hashslot->node 映射表,同时为每个节点创建一个JedisPool连接池,每次基于JedisCluster执行操作,首先JedisCluster都会在本地计算key的hashslot,然后再本地映射表中找到对应的节点,如果发现对应的节点返回moved,那么利用该节点的元数据,更新 hashslot->node映射表(重试超过 5 次报错)

  • hashslot迁移和ask重定向

hash slot正在迁移,那么会返回ask 重定向给jedis,jedis 接受到ask重定向之后,,会重定向到目标节点去执行

  • 高可用性和主备切换原理

判断节点宕机:
如果一个节点认为另外一个节点宕机了, 就是pfail,主观宕机
如果多个节点都认为另外一个节点宕机了,那么就是fail,客观宕机(跟哨兵原理一样)
在cluster-node-timeout内,某个节点一直没有返回 pong,那么就被认为是 pfail
如果一个节点认为某个节点pfail了,那么会在gossip消息中,ping给其他节点,如果超过半数的节点认为pfail了,那么就会变成fail。
从节点过滤:
对宕机的 mster node ,从其所有的 slave node中,选择一个切换成 master node
检查每个 slave node与master node断开连接的时间,如果超过了cluster-node-timeout *
cluster-slave-validity-factor,那么就没资格切换成 master(和哨兵一致)
从节点选举:
每个从节点,根据自己对 master 复制数据的 offset,设置一个选举时间,offset越大(复制数据越多)的从节点,选举时间越靠前,所有的 master node 开始投票,给要进行选举的 slave进行投票,如果大部分 master node(N/2 +1) 都投票给某个从节点,那么选举通过,从节点执行主备切换,从节点切换成主节点
总结:和哨兵很像,直接集成了 replication 和 sentinal

缓存雪崩

京东面试官:Redis 这些我必问

方案:
事前:保证 redis 集群高可用性 (主从+哨兵或 redis cluster),避免全盘崩溃
事中:本地 ehcache 缓存 + hystrix 限流(保护数据库) & 降级,避免 MySQL被打死
事后: redis持久化,快速恢复缓存数据,继续分流高并发请求

限制组件每秒就 2000 个请求通过限流组件进入数据库,剩余的 3000 个请求走降级,返回一些默认 的值,或者友情提示
好处 :

  1. 数据库绝对不会死,确保了每秒只会过去 2000 个请求
  2. 只要数据库不死,对于用户来说 2/5的请求可以被处理
  3. 系统没死,用户多点几次可能就刷出来了

缓存穿透

京东面试官:Redis 这些我必问


4000 个请求黑客攻击请求数据库里没有的数据
解决方案:把黑客查数据库中不存在的数据的值,写到缓存中,比如: set -999 UNKNOWN

缓存与数据库双写一致性

  1. cache aside pattern

京东面试官:Redis 这些我必问


读的时候,先读缓存,缓存没有,就读数据库,然后取出数据后放入缓存,同时返回响应
更新的时候,删除缓存,更新数据库
为什么不更新缓存:
更新缓存代价太高(更新 20 次,只读 1 次),lazy思想,需要的时候再计算,不需要的时候不计算

  1. 修改数据库成功,删除缓存失败,导致数据库是新的数据,缓存中是旧的数据

方案:先删除缓存,再修改数据库

京东面试官:Redis 这些我必问

京东面试官:Redis 这些我必问

  1. 修改数据库还没修改完,同时又有查询请求,把旧的数据放到缓存中(高并发,每秒并发读几万,每秒只要有数据更新请求,就可能出现数据库+缓存不一致情况)

方案:写,读路由到相同的一个内存队列(唯一标识,hash,取模)里,更新和读操作进行串行化(后台线程异步执行队列串行化操作),(队列里只放一个更新查询操作即可,多余的过滤掉,内存队列里没有该数据更新操作,直接返回 )有该数据更新操作则轮询取缓存值,超时取不到缓存值,直接取一次数据库的旧值

京东面试官:Redis 这些我必问


TP 99 意思是99%的请求可以在200ms内返回
注意点:多个商品的更新操作都积压在一个队列里面(太多操作积压只能增加机器),导致读请求发生大量的超时,导致大量的读请求走数据库
一秒 500 写操作,每200ms,100 个写操作,20 个内存队列,每个队列积压 5 个写操作,一般在20ms完成

Redis 并发竞争问题

京东面试官:Redis 这些我必问


方案:分布式锁 + 时间戳比较

如果感觉小编写得不错,请素质三连:点赞+转发+关注。我会努力写出更好的作品分享给大家。更多学习资料小编已打包好,可以找我领取哦!领取方式:私信回复暗号 【444】 即可免费领取更多完整版资料。

Redis 集群部署架构

10台机器,5 主 5 从,每个节点QPS 5W ,一共 25W QPS(Redis cluster 32G + 8 核 ,Redis 进程不超过 10G)总内存 50g,每条数据10kb,10W 条数据1g,200W 条数据 20G,占用总内存不到50%,目前高峰期 3500 QPS

作者:mousycoder