TiDB Online DDL 在 TiCDC 中的应用丨TiDB 工具分享

378 阅读16分钟

引言

TiCDC 作为 TiDB 的数据同步组件,负责直接从 TiKV 感知数据变更同步到下游。其中比较核心的问题是数据解析正确性问题,具体而言就是如何使用正确的 schema 解析 TiKV 传递过来的 Key-Value 数据,从而还原成正确的 SQL 或者其他下游支持的形式。本文主要通过对 TiDB Online DDL 机制原理和实现的分析,引出对当前 TiCDC 数据解析实现的讨论。

背景和问题

数据同步组件是数据库生态中不可或缺的生态工具,比较知名的开源单机数据库 MySQL 就将数据同步作为 Server 能力的一部分,并基于 MySQL binlog 实现异步/半同步/同步的主从复制。由于 MySQL 悲观事务模型和表元数据锁的存在,我们总是可以认为 MySQL binlog 中存在因果关系的 data 和 schema 符合时间先后顺序的,即:

New data commitTs > New schema commitTs

但是对于 TiDB 这种存储计算分离的架构而言,schema 的变更在存储层持久化,服务层节点作为多缓存节点,总是存在一个 schema 状态不一致的时间段。为了保证数据一致性和实现在线 DDL 变更,现有的分布式数据库大都采用或者借鉴了Online, Asynchronous Schema Change in F1 机制。所以我们要回答的问题变成了,在 TiDB Online DDL 机制下,TiCDC 如何正确处理 data 和 schema 的对应关系,存在因果关系的 data 和 schema 是否仍然满足:

​ New data commitTs > New schema commitTs

为了回答这个问题,我们首先需要先阐述原始的 F1 Online Schema Change 机制的核心原理,然后描述当前 TiDB Online DDL 实现,最后我们讨论在当前 TiCDC 实现下,data 和 schema 的处理关系和可能出现的不同的异常场景。

1. F1 Online Schema Change 机制

F1 Online Schema Change 机制要解决的核心问题是,在单存储多缓存节点的架构下,如何实现满足数据一致性的 Online Schema 变更,如图 1 所示:

img

图 1: 单存储多缓存节点的架构下的 schema 变更

这里我们定义数据不一致问题为数据多余(orphan data anomaly)和数据缺失(integrity anomaly),Schema 变更结束后出现数据多余和数据缺失我们就认为数据不一致了。这类系统的 schema 变更问题特点可以总结成以下 3 点:

  1. 一份 schema 存储,多份 schema 缓存

  2. 部分 new schema 和 old schema 无法共存

  3. 直接从 old schema 变更到 new schema 时,总是存在一个时间区间两者同时存在

特点 1 和特点 3 是系统架构导致的,比较容易理解。特点 2 的一个典型例子是 add index,加载了 new schema 的服务层节点插入数据时会同时插入索引,而加载了 old schema 的服务层节点执行删除操作只会删除数据,导致出现了没有指向的索引, 出现数据多余。

Schema 变更问题的特点 2 和特点 3 看起来是互相矛盾的死结,new schema 和 old schema 无法共存,但又必然共存。而 F1 Online Schema 机制提供的解决方案也很巧妙,改变不了结果就改变条件。所以该论文的解决思路上主要有 2 点,如图 2 所示:

img

图 2: F1 Online DDL 解决方案

1. 引入共存的中间 schema 状态,比如 S1->S2’->S2, S1 和 S2’ 可以共存,S2’ 和 S2 可以共存;

2. 引入确定的隔离时间区间,保证无法共存的 schema 不会同时出现;

具体来讲:

  • 引入共存的中间 schema 状态

因为直接从 schema S1 变更到 schema S2 会导致数据不一致的问题,所以引入了 delete-only 和 write-only 中间状态,从 S1 -> S2 过程变成 S1 -> S2+delete-only -> S2+write-only -> S2 过程,同时使用 lease 机制保证同时最多有 2 个状态共存。这时只需要证明每相临的两个状态都是可以共存的,保证数据一致性,就能推导出 S1 到 S2 变更过程中数据是一致的。

  • 引入确定的隔离时间区间

定义 schema lease,超过 lease 时长后节点需要重新加载 schema,加载时超过 lease 之后没法获取 new schema 的节点直接下线,不提供服务。所以可以明确定义 2 倍 lease 时间之后,所有节点都会更新到下一个的 schema。

1.1 引入共存的中间状态

我们需要引入什么样的中间状态呢?那要看我们需要解决什么问题。这里我们仍然使用 add index 这个 DDL 作为例子,其他 DDL 细节可以查阅 Online, Asynchronous Schema Change in F1

Delete-only 状态

我们可以看到 old schema 是无法看到索引信息的,所以会导致出现删除数据,遗留没有指向的索引这种数据多余的异常场景,所以我们要引入的第一个中间状态是 delete-only 状态,赋予 schema 删除索引的能力。在 delete-only 状态下,schema 只能在 delete 操作的时候对索引进行删除,在 insert/select 操作的时候无法操作索引,如图 3 所示:

img

图 3: 引入 delete-only 中间状态

原始论文对于 delete-only 的定义如下:

img

假设我们已经引入了明确的隔离时间区间(下一个小节会细讲),能保证同一时刻最多只出现 2 个 schema 状态。所以当我们引入 delete-only 状态之后,需要考虑的场景就变成:

  1. old schema + new schema(delete-only)

  2. new schema(delete-only) + new schema

  • 对于场景 1,所有的服务层节点要么处于 old schema 状态,要么处于 new schema(delete-only) 状态。由于 index 只能在 delete 的时候被操作,所以根本没有 index 生成,就不会出现前面说的遗留没有指向的索引问题,也不会有数据缺失问题,此时数据是一致的。我们可以说 old schema 和 new schema(delete-only) 是可以共存的。

  • 对于场景 2,所有的服务层节点要么处于 new schema(delete-only) 状态,要么处于 new schema 状态。处于 new schema 状态的节点可以正常插入删除数据和索引,处于 new schema( delete-only) 状态的节点只能插入数据,但是可以删除数据和索引,此时存在部分数据缺少索引问题,数据是不一致的。

引入 delete-only 状态之后,已经解决了之前提到的索引多余的问题,但是可以发现,处于 new schema( delete-only) 状态的节点只能插入数据,导致新插入的数据和存量历史数据都缺少索引信息,仍然存在数据缺失的数据不一致问题。

Write-only 状态

在场景 2 中我们可以看到,对于 add index 这种场景,处于 new schema( delete-only) 状态节点插入的数据和存量数据都存在索引缺失的问题。而存量数据本身数量是确定且有限的,总可以在有限的时间内根据数据生成索引,但是 new insert 的数据却可能随时间不断增加。为了解决这个数据缺失的问题,我们还需要引入第二个中间状态 write-only 状态,赋予 schema insert/delete 索引的能力。处于 write-only 状态的节点可以 insert/delete/update 索引,但是 select 无法看到索引,如图 4 所示:

img

图 4: 引入 write-only 状态

原始论文中对于 write-only 状态的定义如下:

img

引入 write-only 状态之后,上述的场景 2 被切分成了场景 2‘ 和场景 3:

2’: new schema(delete-only) + new schema(write-only)

3: new schema(write-only) + new schema

  • 对于场景 2‘,所有的服务层节点要么处于 new schema(delete-only) 状态,要么处于 new schema(write-only) 。处于 new schema(delete-only) 状态的服务层节点只能插入数据,但是可以删除数据和索引,处于 new schema(write-only) 可以正常插入和删除数据和索引。此时仍然存在索引缺失的问题,但是由于 delete-only 和 write-only 状态下,索引对于用户都是不可见的,所以在用户的视角上,只存在完整的数据,不存在任何索引,所以内部的索引缺失对用户而言还是满足数据一致性的。

  • 对于场景 3,所有的服务层节点要么处于 new schema(write-only) 状态,要么处于 new schema。此时 new insert 的数据都能正常维护索引,而存量历史数据仍然存在缺失索引的问题。但是存量历史数据是确定且有限的,我们只需要在所有节点过渡到 write-only 之后,进行历史数据索引补全,再过渡到 new schema 状态,就可以保证数据和索引都是完整的。此时处于 write-only 状态的节点只能看到完整的数据,而 new schema 状态的节点能看到完整的数据和索引,所以对于用户而言数据都是一致的。

小节总结

通过上面对 delete-only 和 write-only 这两个中间状态的表述,我们可以看到,在 F1 Online DDL 流程中,原来的单步 schema 变更被两个中间状态分隔开了。每两个状态之间都是可以共存的,每次状态变更都能保证数据一致性,全流程的数据变更也能保证数据一致性。

img

1.2 引入确定的隔离时间区间

为了保证同一时刻最多只能存在 2 种状态,需要约定服务层节点加载 schema 的行为:

  1. 所有的服务层节点在 lease 之后都需要重新加载 schema;

  2. 如果在 lease 时间内无法获取 new schema,则下线拒绝服务;

通过对服务层节点加载行为的约定,我们可以得到一个确定的时间边界,在 2*lease 的时间周期之后,所有正常工作的服务层节点都能从 schema state1 过渡到 schema state2, 如图 5 所示:

img

图 5: 最多 2*lease 时长后所有的节点都能过渡到下一个状态

1.3 中间状态可见性

要正确理解原始论文的中间状态,需要正确理解中间状态的可见性问题。前面小节为了方便我们一直使用 add index 作为例子,然后表述 delete-only 和 write-only 状态下索引对于用户 select 是不可见的,但是 write-only 状态下,delete/insert 都是可以操作索引的。如果 DDL 换成 add column,那节点处于 write-only 状态时,用户 insert 显式指定新增列可以执行成功吗?答案是不能。

总得来说,中间状态的 delete/insert 可见性是内部可见性,具体而言是服务层节点对存储层节点的可见性,而不是用户可见性。对于 add column 这个 DDL,服务层节点在 delete-only 和 write-only 状态下就能看到 new column,但是操作受到不同的限制。对用户而言,只有到 new schema 状态下才能看到 new column,才能显式操作 new column,如图 6 所示:

img

图 6: 中间状态可见性

为了清晰表述可见性,我们举个例子,如图 7 所示。原始的表列信息为 , DDL 操作之后表列信息为 <c1,c2>。

img

img

图 7: 中间状态过渡

  • 小图 (1) 中,服务层节点已经过渡到了场景 1,部分节点处于 old schema 状态,部分节点处于 new schema(delete-only) 状态。此时 c2 对用户是不可见的,不管是 insert<c1,c2> 还是 delete<c1,c2> 的显式指定 c2 都是失败的。但是存储层如果存在 [1,xxx] 这样的数据是可以顺利删除的,只能插入 [7] 这样的缺失 c2 的行数据。

  • 小图 (2) 中,服务层节点已经过渡到了场景 2,部分节点处于 new schema(delete-only) 状态,部分节点处于 new schema(write-only) 状态,此时 c2 对用户仍是不可见的,不管是 insert<c1,c2> 还是 delete<c1,c2> 的显式指定 c2 都是失败的。但是处于 write-only 状态的节点,insert [9] 在内部会被默认值填充成 [9,0] 插入存储层。处于 delete-only 状态的节点,delete [9] 会被转成 delete [9,0]。

  • 小图 (3) 中,服务层所有节点都过渡到 write-only 之后,c2 对用户仍是不可见的。此时开始进行数据填充,将历史数据中缺失 c2 的行进行填充(实现时可能只是在表的列信息中打上一个标记,取决于具体的实现)。

  • 小图 (4) 中,开始过渡到场景 3,部分节点处于 new schema(write-only) 状态,部分节点处于 new schema 状态。处于 new schema(write-only) 状态的节点,c2 对用户仍是不可见的。处于 new schema 状态的节点,c2 对用户可见。此时连接在不同服务层节点上的用户,可以看到不同的的 select 结果,不过底层的数据是完整且一致的。

总结

上面我们通过 3 个小节对 F1 online Schema 机制进行了简要描述。原来单步 schema 变更被拆解成了多个中间变更流程,从而保证数据一致性的前提下实现了在线 DDL 变更。

img

对于 add index 或者 add column DDL 是上述的状态变更,对于 drop index 或者 drop column 则是完全相反的过程。比如 drop column 在 write-only 阶段及之后对用户都不可见了,内部可以正确 insert/delete,可见性和之前的论述完全一样。

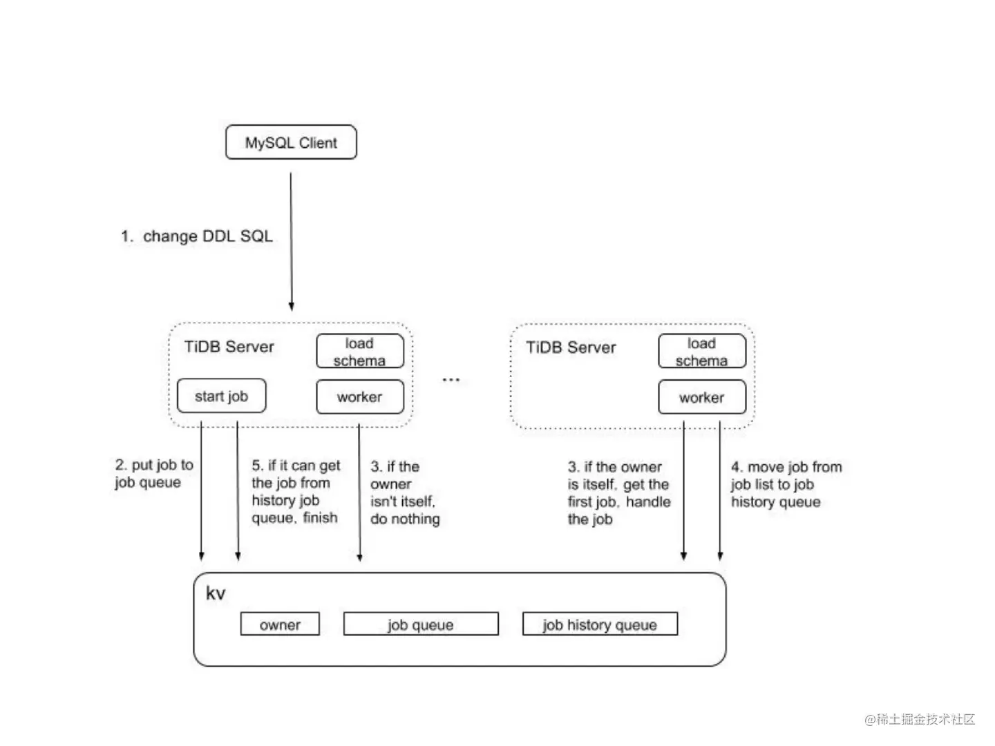
2. TiDB Online DDL 实现

TiDB Online DDL 是基于 F1 Online Schema 实现的,整体流程如图 8 所示:

img

图 8 TiDB Online DDL 流程

简单描述如下:

  • TiDB Server 节点收到 DDL 变更时,将 DDL SQL 包装成 DDL job 提交到 TIKV job queue 中持久化;

  • TiDB Server 节点选举出 Owner 角色,从 TiKV job queue 中获取 DDL job,负责具体执行 DDL 的多阶段变更;

  • DDL 的每个中间状态(delete-only/write-only/write-reorg)都是一次事务提交,持久化到 TiKV job queue 中;

  • Schema 变更成功之后,DDL job state 会变更成 done/sync,表示 new schema 正式被用户看到,其他 job state 比如 cancelled/rollback done 等表示 schema 变更失败;

  • Schema state 的变更过程中使用了 etcd 的订阅通知机制,加快 server 层各节点间 schema state 同步,缩短 2*lease 的变更时间。

  • DDL job 处于 done/sync 状态之后,表示该 DDL 变更已经结束,移动到 job history queue 中;

详细的 TiDB 处理流程可以参见:schema-change-implement.mdTiDB ddl.html

3. TiCDC 中 Data 和 Schema 处理关系

前面我们分别描述了 TiDB Online DDL 机制的原理和实现,现在我们可以回到最一开始我们提出的问题:在 TiDB Online DDL 机制下,是否还能满足:

New data commitTs > New schema commitTs

答案是否定的。在前面 F1 Online Schema 机制的描述中,我们可以看到在 add column DDL 的场景下,当服务层节点处于 write-only 状态时,节点已经能够插入 new column data 了,但是此时 new column 还没有处于用户可见的状态,也就是出现了 New data commitTs < New schema commitTs,或者说上述结论变成了:

New data commitTs > New schema(write-only) commitTs

但是由于在 delete-only + write-only 过渡状态下,TiCDC 直接使用 New schema(write-only) 作为解析的 schema,可能导致 delete-only 节点 insert 的数据无法找到对应的 column 元信息或者元信息类型不匹配,导致数据丢失。所以为了保证数据正确解析,可能需要根据不同的 DDL 类型和具体的 TiDB 内部实现,在内部维护复杂的 schema 策略。

在当前 TiCDC 实现中,选择了比较简单的 schema 策略,直接忽略了各个中间状态,只使用变更完成之后的 schema 状态。为了更好表述在 TIDB Online DDL 机制下,当前 TiCDC 需要处理的不同场景,我们使用象限图进行进一步归类描述。

Old schemaNew schema
Old schema data12
New schema data34
  • 1 对应 old schema 状态

此时 old schema data 和 old schema 是对应的****;****

  • 4 对应 new schema public 及之后

此时 new schema data 和 new schema 是对应的;

  • 3 对应 write-only ~ public 之间数据

    此时 TiCDC 使用 old schema 解析数据,但是处于 write-only 状态的 TiDB 节点已经可以基于 new schema insert/update/delete 部分数据,所以 TiCDC 会收到 new schema data。不同 DDL 处理效果不同,我们选取 3 个常见有代表性的 DDL 举例。

    • add column: 状态变更 absent -> delete-only -> write-only -> write-reorg -> public。由于 new schema data 是 TiDB 节点在 write-only 状态下填充的默认值,所以使用 old schema 解析后会被直接丢弃,下游执行 new schema DDL 的时候会再次填充默认值。对于动态生成的数据类型,比如 auto_increment 和 current timestamp,可能会导致上下游数据不一致。

    • change column:有损状态变更 absent -> delete-only -> write-only -> write-reorg -> public, 比如 int 转 double,编码方式不同需要数据重做。在 TiDB 实现中,有损 modify column 会生成不可见 new column,中间状态下会同时变更新旧 column。对于 TiCDC 而言,只会处理 old column 下发,然后在下游执行 change column,这个和 TiDB 的处理逻辑保持一致。

    • drop column:状态变更 absent-> write-only -> delete-only -> delete-reorg -> public。write-only 状态下新插入的数据已经没有了对应的 column,TiCDC 会填充默认值然后下发到下游,下游执行 drop column 之后会丢弃掉该列。用户可能看到预期外的默认值,但是数据能满足最终一致性。

  • 2 对应直接从 old schema -> new schema

    说明这类 schema 变更下,old schema 和 new schema 是可以共存的,不需要中间状态,比如 truncate table DDL。TiDB 执行 truncate table 成功后,服务层节点可能还没有加载 new schema,还可以往表中插入数据,这些数据会被 TiCDC 直接根据 tableid 过滤掉,最终上下游都是没有这个表存在的,满足最终一致性。

总结

TiCDC 作为 TiDB 的数据同步组件,数据解析正确性问题是保证上下游数据一致性的核心问题。为了能充分理解 TiCDC 处理 data 和 schema 过程中遇到的各种异常场景,本文首先从 F1 Online Schema Change 原理出发,详细描述在 schema 变更各个阶段的数据行为,然后简单描述了当前 TiDB Online DDL 的实现。最后引出在当前 TiCDC 实现下在 data 和 schema 处理关系上的讨论。