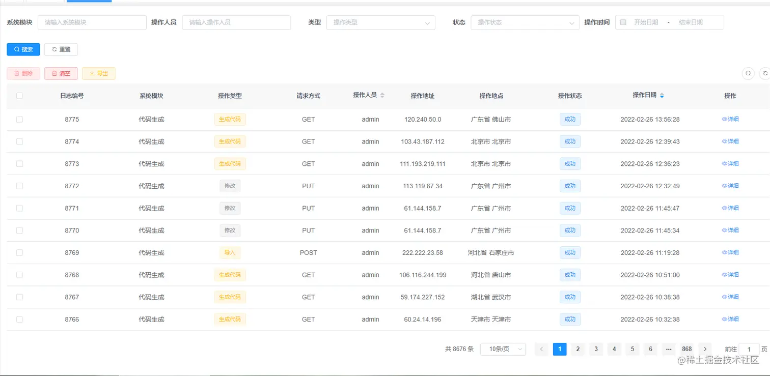
若依-vue前端界面的element-ui复刻

表单

<el-form
ref=""
:model=""
label-width="px"
size="medium/small/mini"
>
<el-form-item
label="" //标签名
prop="表单数据对象的属性名" //修改表单数据必备
>
<el-input
v-model="表单数据对象.属性名" //将数据存入表单的数据对象中
placeholder="" //输入框提示文字
</el-form-item>
//2.带下拉框的输入框
<el-form-item
label="类型"
prop="type"
style="display: inline-block">
//下拉框选项配置
<el-select
v-model="表单数据对象.属性名" //将数据存入表单的数据对象中
placeholder="">
<el-option label="新增"
value="add" //将会被输入到表单对象对应的属性中
></el-option>
<el-option label="修改" value="update"></el-option>
<el-option label="删除" value="update"></el-option>
<el-option label="授权" value="accredit"></el-option>
</el-select>
</el-form-item>
//3.选择日期的表单输入框
<el-form-item label="操作时间" prop="date" style="display: inline-block;">
<el-date-picker
v-model="operationLogForm.date"
type="daterange" //表单类型为日期
range-separator="-" //开始日期与结束日期之间的连接符号
start-placeholder="开始日期"
end-placeholder="结束日期"
style="width:240px;">
</el-date-picker>
</el-form-item>
//4.搜索和重置按钮
<el-form-item style="display: inline-block">
<el-button
type="primary" //按钮的风格类型
icon="el-icon-search" //按钮图标
style="font-size:12px;"
@click="onSubmit" //绑定提交函数
>搜索</el-button>
<el-button
icon="el-icon-refresh"
style="font-size:12px"
@click="resetForm('operationLogForm')" //清除数据按钮,传参:表单的数据对象(将其数据清空)
>重置</el-button>
</el-form-item>
</div>
</el-form>
表格
<el-table
ref="multipleTable"
:cell-style="{padding:'8px 0'}"
:data="tableData"
tooltip-effect="dark"
style="min-width: 1280px;"
@selection-change="handleSelectionChange"
>
<el-table-column
type="selection"> //将第一列设置成多选框
</el-table-column>
<el-table-column
prop="id" //该列所对应的表格对象的属性
label="日志编号" //标签名
sortable> //该列是否可以进行排序
</el-table-column>
<el-table-column
prop="system"
label="系统模块">
</el-table-column>
<el-table-column
prop="type"
label="操作类型">
//插槽,插入要自定义的内容
<template slot-scope="scope">
<el-tag //标签组件
:type="scope.row.handleType"> //根据表中数据,设置标签的类型
{{scope.row.type}} //表中此行数据
</el-tag>
</template>
</el-table-column>
<el-table-column
prop="handle"
label="操作"
align="center">
<template slot-scope="scope">
<el-button
@click="handleClick(scope.row)" //按钮上绑定的行数,传参:此列此行的内容
type="text"
size="small">查看</el-button>
</template>
</el-table-column>
</el-table>
分页器
<el-pagination
background
@size-change="handleSizeChange"
@current-change="handleCurrentChange"
:current-page="currentPage"
:page-sizes="[10,20,30,40]"
:page-size="pagesize"
layout="total, sizes, prev, pager, next, jumper"
total:共多少条,sizes:调整每页显示的条数,prev:上一页,pager:页码,next:下一页,jumper:跳转到多少页
:total="tableCon.length">
</el-pagination>