了解Java格式化输出printf,一篇就够了

185 阅读4分钟

格式化详解


了解C语言的都知道,C语言的输出语句printf();可以对里面的内容格式化然后输出。那么在Java中也给我们提供了相关的方法。两者十分相似。注意Java中的格式化输出语句是 System.out.printf();

那么格式化的优点是什么,我认为最重要的一点就是方便,以及增加代码可读性。例如下面这两段代码:

package day_11_23;

/**
 * @author soberw
 */
public class Exer {
    public static void main(String[] args) {
        String name = "张三";
        char sex = '男';
        int age = 18;
        System.out.println("姓名:" + name + ",年龄:" + age + ",性别:" + sex + "。");
//        姓名:张三,年龄:18,性别:男。

        System.out.printf("姓名:%s,年龄:%d,性别:%c。", name, age, sex);
//        姓名:张三,年龄:18,性别:男。
    }
}

显然第二段更加美观,第一段频繁使用字符串拼接,如果数据过多,一会自己就迷了。还有就是我们在对一些特定数据进行操作时,格式化也给我们提供了很多便利。

格式化输出

在这里插入图片描述
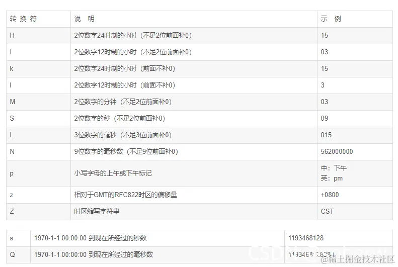
其中日期转化的%tx中的x表示另外的处理日期和时间格式的转换符,它们的组合能够将日期和时间格式化成多种格式。包括如下
在这里插入图片描述
在这里插入图片描述

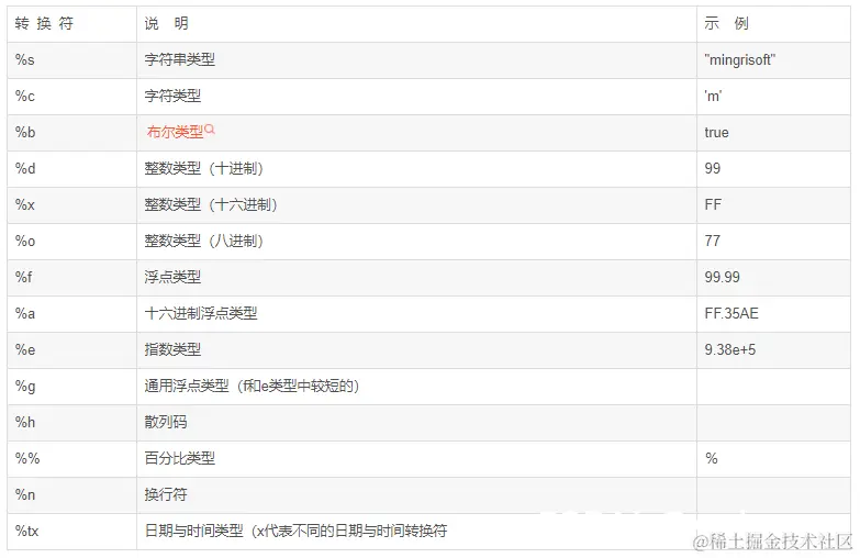
在Java中格式化需要用到转化符 % ,格式化以%符号开头,用相应的参数搭配替换内容。(%符号可根据\理解,要想输出%符号,格式需要写成这样%%

转换符

常用转换符

常用转换符实例说明:

package day_11_23;

/**
 * @author soberw
 */
public class Printf {
    public static void main(String[] args) {
        //格式化输出实例
        System.out.printf("我是%s,性别%c,今年%d岁%n", "张三", '男', 18);
        //我是张三,性别男,今年18岁

        //%n 换行类同 \n
        //%s 格式化字符串
        System.out.printf("我的名字是:%s\n", "张三");
        //我的名字是:张三

        //%d  格式化数字(十进制)
        System.out.printf("张三今年%d岁%n", 18);
        //张三今年18岁
        //%o  格式化数字(八进制)
        System.out.printf("%o%n", 63);
        //77
        //%x  格式化数字(十六进制)
        System.out.printf("%x%n", 255);
        //ff

        //%c  格式化字符型j  (可用字符对应的ASCII码替换)
        System.out.printf("%c%n", 97);
        //a
        System.out.printf("%c%n", 'a');
        //a

        //%b   格式化布尔值
        System.out.printf("%b%n", true);
        //true
        
        //%f   格式化浮点型
        //%.xf   x为数字,表示要保留几位小数,如%.2f为保留两位小数(会四舍五入)
        System.out.printf("%f%n", 1.555);
        //1.555000
        System.out.printf("%.2f",1.2555);
        //1.26    }
}

日期转换

在格式化日期之前,我们必须要先获取到当前日期,或者手动设置一个日期。

package day_11_23;

import java.util.Calendar;
import java.util.Date;

/**
 * @author soberw
 */
public class PrintfDate {
    public static void main(String[] args) {
        Calendar c = Calendar.getInstance();
        Date date = c.getTime();

        //%tc  包括全部日期信息
        System.out.printf("%tc%n", date);
        //周二 11月 23 13:39:27 CST 2021

        //%tF  "年-月-日"格式
        System.out.printf("%tF%n", date);
        //2021-11-23

        //%tD  "月/日/年"格式
        System.out.printf("%tD%n", date);
        //11/23/21

        //%tr   "HH:MM:SS PM"格式(12小时制)
        System.out.printf("%tr%n", date);
        //01:43:04 下午

        //%tT   "HH:MM:SS"格式(24小时制)
        System.out.printf("%tT%n", date);
        //13:43:04

        //%tR   "HH:MM"格式 (24小时制)
        System.out.printf("%tR%n", date);
        //13:44

        //%tH   小时(2位数字24小时制,不足补零)
        System.out.printf("%tH%n", date);
        //13

        //%tI   小时(2位数字12小时制,不足补零)
        System.out.printf("%tI%n", date);
        //01

        //%tk   小时(2位数字24小时制,不补零)
        System.out.printf("%tk%n", date);
        //13

        //%tl   小时(2位数字12小时制,不补零)
        System.out.printf("%tl%n", date);
        //1

        //%tM   分钟(2位数字分钟,不足补零)
        System.out.printf("%tM%n", date);
        //53

        //%tS   秒(2位数字秒,不足补零)
        System.out.printf("%tS%n", date);
        //14

        //%tL   毫秒(3位数字毫秒,不足补零)
        System.out.printf("%tL%n", date);
        //699

        //%tN   毫秒(9位数字毫秒,不足补零)
        System.out.printf("%tN%n", date);
        //699000000

        //%tp 上午或者下午
        System.out.printf("%tp%n",date);
        //下午

        //%ts  1970-1-1 00:00:00到现在经过的秒数
        System.out.printf("%ts%n",date);
        //1637646987
        
        //%tQ  1970-1-1 00:00:00到现在经过的毫秒数
        System.out.printf("%tQ%n",date);
        //1637646987635

        //%tA  星期
        System.out.printf("%tA%n",date);
        //星期二
    }
}

搭配标志

有了上面的演示,我们发现原来格式化输出如此好用。本来很难实现的效果比如格式化日期时间,现在只需要格式化一下就OK了,但是其实还可以更简单一下,比如下面的代码:

package day_11_23;


/**
 * @author soberw
 */
public class PrintDateTime {
    public static void main(String[] args) {
        //举例输出:当前日期,格式为 "2021年11月23日 14:04:03 星期二"
        long d = System.currentTimeMillis();

        System.out.printf("%tY年%tm月%td日 %tT %tA ",d,d,d,d,d);
//        2021年11月23日 14:33:27 星期二
        System.out.println();
        System.out.printf("%1$tY年%1$tm月%1$td日 %1$tT %1$tA",d);
//        2021年11月23日 14:33:27 星期二
    }
}

如果存在同一个数据同时格式化了好几次的情况,我们不必再重复去写好几遍,比如下面的写法。那么如何实现呢,Java给我们提供了相关的标志符,可以搭配转换符来使用:
在这里插入图片描述
代码演示:

package day_11_23;

/**
 * @author soberw
 */
public class PrintfIdentifier {
    public static void main(String[] args) {
        //+  为正数或者负数添加符号
        System.out.printf("%+d,%+d\n",15,-3);
        //+15,-3

        //-   左对齐,后跟数字控制长度
        System.out.printf("|%-5d|\n",123);
        //|123  |

        //0   数字前面补零,后跟数字控制长度
        System.out.printf("%02d\n",3);
        //03
        System.out.printf("%06.2f\n",1.2555);
        //001.26

        //空格  在整数之前添加指定数量的空格,后跟数字控制长度(空格也可省略)
        System.out.printf("|% 5d|\n",99);
        //|   99|
        System.out.printf("|%5d|\n",99);
        //|   99|

        //,  对数字分组,一般千位分组
        System.out.printf("%,d\n",1000000);
        //1,000,000
        System.out.printf("%,.2f\n",1000000.00000);
        //1,000,000.00

        //(   用括号括住负数
        System.out.printf("%(.2f\n",-33.333);
        //(33.33)

        //#   如果是浮点数则包括小数点,如果是16进制或者8进制则添加0x或者0
        System.out.printf("%#x\n",99);
        System.out.printf("%#o\n",99);
        System.out.printf("%#.2f\n",.233);

        //<   格式化前一个转换符所描述的参数,可以连写,可实现共用参数
        System.out.printf("%f和%<3.2f和%<3.3f\n",99.45);
        //99.450000和99.45和99.450

        //$   通过索引号获取参数,索引号从1开始,可实现共用参数(第一个可省略不写)
        System.out.printf("%1$d,%1$d,%1$d\n",11);
        //11,11,11
        System.out.printf("%1$d,%2$d,%1$d\n",11,222);
        //11,222,11
    }
}