vim编辑器超祥解

182 阅读1分钟

一、 什么是vi/vim命令

Vim是从 vi 发展出来的一个文本编辑器。代码补完、编译及错误跳转等方便编程的功能特别丰富,在程序员中被广泛使用。

简单的来说, vi 是老式的字处理器,不过功能已经很齐全了,但是还是有可以进步的地方。 vim 则可以说是程序开发者的一项很好用的工具。

1.1 vim的工作模式

vim有三种工作模式,分别为命令模式,插入模式和退出模式。命令模式下不能编辑文本,通过i进入插入模式进行编辑,编辑完成后通过Esc键进入命令模式,在命令模式下输入:wq进行保存退出,其中w表示保存,q表示退出。

1.2 # 不同工作模式之间的切换

image.png

二、命令模式切换至输入模式

a在当前光标位置之后插入内容
i在当前光标位置之前插入内容
I在所在行的行首插入内容
o在光标所在行之下插入一个新行内容
O在光标所在行之上插入一个新行内容
A在所在行的行尾插入内容

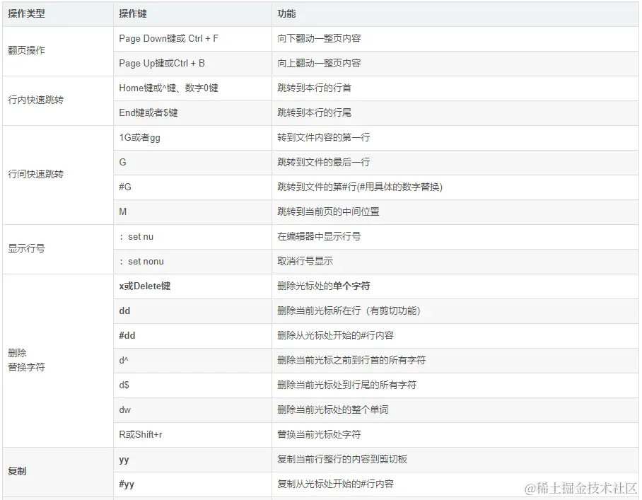
三、命令模式中的基本操作

image.png image.png