Alibaba微服务组件Nacos注册中心实战

159 阅读3分钟

1. 什么是 Nacos

Nacos 致力于帮助您发现、配置和管理微服务。Nacos 提供了一组简单易用的特性集,帮助您快速实现动态 服务发现、服务配置、服务元数据及流量管理。

Nacos 的关键特性包括:

  • 服务发现和服务健康监测
  • 动态配置服务
  • 动态 DNS 服务
  • 服务及其元数据管理

1.1 Nacos 架构

image.png NamingService: 命名服务,注册中心核心接口
ConfigService:配置服务,配置中心核心接口

1.2 Nacos Server部署

下载源码编译
源码下载地址:github.com/alibaba/nac…

cd nacos/
mvn ‐Prelease‐nacos clean install ‐U
cd nacos/distribution/target/

下载安装包
下载地址:github.com/alibaba/Nac…
1.2.1 单机模式
官方文档: nacos.io/zh­cn/docs/…
解压,进入nacos目录 image.png 单机启动nacos,执行命令

bin/startup.sh ‐m standalone

也可以修改默认启动方式 image.png 访问nocas的管理端:http://192.168.3.14:8848/nacos ,默认的用户名密码是 nocas/nocas

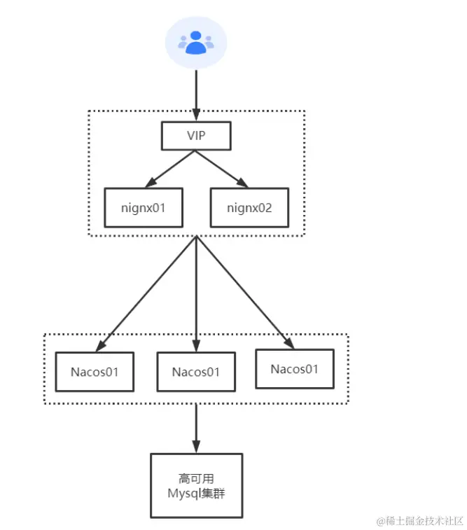
image.png 1.2.2 集群模式 官网文档: nacos.io/zh­cn/docs/… 集群部署架构图

image.png

  • 1)单机搭建伪集群,复制nacos安装包,修改为nacos8849,nacos8850,nacos8851

image.png

  • 2)以nacos8849为例,进入nacos8849目录
  • 2.1)修改conf\application.properties的配置,使用外置数据源
#使用外置mysql数据源
spring.datasource.platform=mysql
### Count of DB:
db.num=1
### Connect URL of DB:
db.url.0=jdbc:mysql://127.0.0.1:3306/nacos?characterEncoding=utf8&connectTimeout=1000&soc
ketTimeout=3000&autoReconnect=true&useUnicode=true&useSSL=false&serverTimezone=UTC
db.user.0=root10 
db.password.0=root

image.png

  • 2.2)将conf\cluster.conf.example改为cluster.conf,添加节点配置
# ip:port
192.168.3.14:8849
192.168.3.14:8850
192.168.3.14:8851
  • 3)创建mysql数据库,sql文件位置:conf\nacos­mysql.sql
    1. 修改启动脚本(bin\startup.sh)的jvm参数

image.png

  • 5) 分别启动nacos8849,nacos8850,nacos8851
  • 以nacos8849为例,进入nacos8849目录,启动nacos
bin/startup.sh

image.png

image.png

7)官方推荐,nginx反向代理 image.png 访问: http://192.168.3.14:8847/nacos

1.3 prometheus+grafana监控Nacos

nacos.io/zh-cn/docs/…
Nacos 0.8.0版本完善了监控系统,支持通过暴露metrics数据接入第三方监控系统监控Nacos运行状态。

1. nacos暴露metrics数据

management.endpoints.web.exposure.include=*

测试: http://localhost:8848/nacos/actuator/prometheus

image.png

2. prometheus采集Nacos metrics数据

启动prometheus服务

prometheus.exe ‐‐config.file=prometheus.yml

测试:http://localhost:9090/graph

image.png

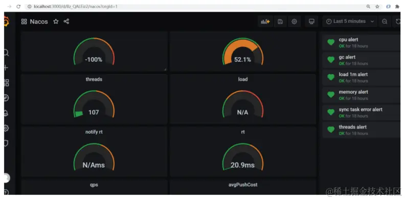
3. grafana展示metrics数据

测试: http://localhost:3000/ image.png

2. Nacos注册中心

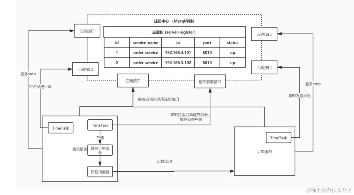
2.1 注册中心演变及其设计思想

image.png

image.png

2.2 Nacos注册中心架构

image.png

2.3 核心功能

服务注册:Nacos Client会通过发送REST请求的方式向Nacos Server注册自己的服务,提供自身的元数据,比如ip地址、端口等信息。Nacos Server接收到注册请求后,就会把这些元数据信息存储在一个双层的内存Map中。
服务心跳:在服务注册后,Nacos Client会维护一个定时心跳来持续通知Nacos Server,说明服务一直处于可用状态,防止被剔除。默认5s发送一次心跳。
服务同步:Nacos Server集群之间会互相同步服务实例,用来保证服务信息的一致性。
服务发现:服务消费者(Nacos Client)在调用服务提供者的服务时,会发送一个REST请求给Nacos Server,获取上面注册的服务清单,并且缓存在Nacos Client本地,同时会在Nacos Client本地开启一个定时任务定时拉取服务端最新的注册表信息更新到本地缓存
服务健康检查:Nacos Server会开启一个定时任务用来检查注册服务实例的健康情况,对于超过15s没有收到客户端心跳的实例会将它的healthy属性置为false(客户端服务发现时不会发现),如果某个实例超过30秒没有收到心跳,直接剔除该实例(被剔除的实例如果恢复发送心跳则会重新注册)

2.4 服务注册表结构

image.png

2.5 服务领域模型

image.png

2.6 服务实例数据

image.png