Kafka介绍及设计原理详解

2,744 阅读8分钟

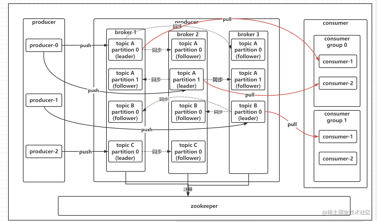
kafka基本概念

kafka是一个分布式分区的消息服务。

名称解释
broker消息中间件处理节点,一个Kafka节点就是一个broker,一个或者多个Broker可以组成一个Kafka集群
topicKafka根据topic对消息进行归类,发布到Kafka集群的每条消息都需要指定一个topic
producer消息生产者,向Broker发送消息的客户端
Consumer消息消费者,从Broker读取消息的客户端
ConsumerGroup每个Consumer属于一个特定的Consumer Group,一条消息可以被多个不同的Consumer Group消费,但是一个Consumer Group中只能有一个Consumer能够消费该消息
Partition物理上的概念,一个topic可以分为多个partition,每个partition内部消息是有序的

kafka设计原理

image.png

kafka核心总控制器Controller

kafka集群中会有一个或者多个broker,其中又一个broker会被选举为总控制器(kafka controller),它负责管理整个集群中所有分区和副本的状态。

  • 当某个分区的leader副本出现故障时,由控制器负责为该分区选举新的leader副本。
  • 当检测到某个分区的ISR集合发生变化时,由控制器负责通知所有broker更新其元数据信息。
  • 当使用kafka-topics.sh脚本为某个topic增加分区数量时,同样还是由控制器负责让新分区被其他节点感知到。

controller选举机制

kafka集群启动的时候,会自动选举一台broker作为controller来管理整个集群,选举的过程是集群中每个broker都会尝试在zookeeper上创建一个/controller临时节点,zookeeper会保证有且仅有一个broker能创建成功,这个broker就会成为集群的总控器controller
当这个controller角色的broker宕机了,此时zookeeper临时节点会消失,集群里其他broker会一直监听这个临时节点,发现临时节点消失了,就竞争再次创建临时节点,就是我们上面说的选举机制,zookeeper又会保证有一个broker成为新的controller。 具备控制器身份的broker需要比其他普通的broker多一份职责,具体细节如下:

  1. 监听broker相关的变化。为Zookeeper中的/brokers/ids/节点添加BrokerChangeListener,用来处理broker增减的变化。
  2. 监听topic相关的变化。为Zookeeper中的/brokers/topics节点添加TopicChangeListener,用来处理topic增减的变化;为Zookeeper中的/admin/delete_topics节点添加TopicDeletionListener,用来处理删除topic的动作。
  3. Zookeeper中读取获取当前所有与topic、partition以及broker有关的信息并进行相应的管理。对于所有topic所对应的Zookeeper中的/brokers/topics/[topic]节点添加PartitionModificationsListener,用来监听topic中的分区分配变化。
  4. 更新集群的元数据信息,同步到其他普通的broker节点中。

Partition副本选举Leader机制

controller感知到分区leader所在的broker挂了(controller监听了很多zk节点可以感知到broker存活),controller会从ISR列表(参数unclean.leader.election.enable=false的前提下)里挑第一个broker作为leader(第一个broker最先放进ISR列表,可能是同步数据最多的副本),如果参数unclean.leader.election.enabletrue,代表在ISR列表里所有副本都挂了的时候可以在ISR列表以外的副本中选leader,这种设置,可以提高可用性,但是选出的新leader有可能数据少很多。
副本进入ISR列表有两个条件:

  1. 副本节点不能产生分区,必须能与zookeeper保持会话以及跟leader副本网络连通
  2. 副本能复制leader上的所有写操作,并且不能落后太多。(与leader副本同步滞后的副本,是由replica.lag.time.max.ms配置决定的,超过这个时间都没有跟leader同步过的一次的副本会被移出ISR列表)

消费者消费消息的offset记录机制

每个consumer会定期将自己消费分区的offset提交给kafka内部topic:__consumer_offsets,提交过去的时候,keyconsumerGroupId+topic+分区号value就是当前offset的值,kafka会定期清理topic里的消息,最后就保留最新的那条数据,因为__consumer_offsets可能会接收高并发的请求,kafka默认给其分配50个分区(可以通过offsets.topic.num.partitions设置),这样可以通过加机器的方式抗大并发。通过如下公式可以选出consumer消费的offset要提交到__consumer_offsets的哪个分区。
公式:hash(consumerGroupId) % __consumer_offsets主题的分区数

消费者Rebalance机制

rebalance就是说如果消费组里的消费者数量有变化或消费的分区数有变化kafka会重新分配消费者消费分区的关系。比如consumer group中某个消费者挂了,此时会自动把分配给他的分区交给其他的消费者,如果他又重启了,那么又会把一些分区重新交还给他。
注意rebalance只针对subscribe这种不指定分区消费的情况,如果通过assign这种消费方式指定了分区,kafka不会进行rebanlance

如下情况可能会触发消费者rebalance

  1. 消费组里的consumer增加或减少了;
  2. 动态给topic增加了分区;
  3. 消费组订阅了更多的topic;

rebalance过程中,消费者无法从kafka消费消息,这对kafkaTPS会有影响,如果kafka集群内节点较多,比如数百个,那重平衡可能会耗时极多,所以应尽量避免在系统高峰期的重平衡发生。

消费者Rebalance分区分配策略

主要有三种rebalance的策略:range、round-robin、sticky
Kafka 提供了消费者客户端参数partition.assignment.strategy 来设置消费者与订阅主题之间的分区分配策略。默认情况为range分配策略
假设一个主题有10个分区(0-9),现在有三个consumer消费

  • range策略就是按照分区序号排序,假设 n=分区数/消费者数量 = 3, m=分区数%消费者数量 = 1,那么前 m 个消费者每个分配 n+1 个分区,后面的(消费者数量-m )个消费者每个分配 n 个分区。比如分区0~3给一个consumer,分区4~6给一个consumer,分区7~9给一个consumer。
  • round-robin策略就是轮询分配,比如分区0、3、6、9给一个consumer,分区1、4、7给一个consumer,分区2、5、8给一个consumer
  • sticky策略初始时分配策略与round-robin类似,但是在rebalance的时候,需要保证如下两个原则: 1)分区的分配要尽可能均匀 。
    2)分区的分配尽可能与上次分配的保持相同。
    当两者发生冲突时,第一个目标优先于第二个目标 。这样可以最大程度维持原来的分区分配的策略。
    比如对于第一种range情况的分配,如果第三个consumer挂了,那么重新用sticky策略分配的结果如下:
    consumer1除了原有的0~3,会再分配一个7
    consumer2除了原有的4~6,会再分配8和9

Rebalance过程

image.png 第一阶段:选择组协调器:
组协调器GroupCoordinator:每个consumer group都会选择一个broker作为自己的组协调器coordinator,负责监控这个消费组里的所有消费者的心跳,以及判断是否宕机,然后开启消费者rebalance
consumer group中的每个consumer启动时会向kafka集群中的某个节点发送 FindCoordinatorRequest 请求来查找对应的组协调器GroupCoordinator,并跟其建立网络连接。
组协调器选择方式
consumer消费的offset要提交到__consumer_offsets的哪个分区,这个分区leader对应的broker就是这个consumer groupcoordinator
第二阶段:加入消费组JOIN GROUP
在成功找到消费组所对应的 GroupCoordinator 之后就进入加入消费组的阶段,在此阶段的消费者会向 GroupCoordinator 发送 JoinGroupRequest 请求,并处理响应。然后GroupCoordinator 从一个consumer group中选择第一个加入groupconsumer作为leader(消费组协调器),把consumer group情况发送给这个leader,接着这个leader会负责制定分区方案。
第三阶段( SYNC GROUP)
consumer leader通过给GroupCoordinator发送SyncGroupRequest,接着GroupCoordinator就把分区方案下发给各个consumer,他们会根据指定分区的leader broker进行网络连接以及消息消费。

HW与LEO

HW俗称高水位HighWatermark的缩写,取一个partition对应的ISR中最小的LEO(log-end-offset)作为HWconsumer最多只能消费到HW所在的位置。另外每个replica都有HW,leaderfollower各自负责更新自己的HW的状态。对于leader新写入的消息,consumer不能立刻消费,leader会等待该消息被所有ISR中的replicas同步后更新HW,此时消息才能被consumer消费。这样就保证了如果leader所在的broker失效,该消息仍然可以从新选举的leader中获取。对于来自内部broker的读取请求,没有HW的限制。 image.png
Kafka的复制机制既不是完全的同步复制,也不是单纯的异步复制。事实上,同步复制要求所有能工作的follower都复制完,这条消息才会被commit,这种复制方式极大的影响了吞吐率。而异步复制方式下,follower异步的从leader复制数据,数据只要被leader写入log就被认为已经commit,这种情况下如果follower都还没有复制完,落后于leader时,突然leader宕机,则会丢失数据。而Kafka的这种使用ISR的方式则很好的均衡了确保数据不丢失以及吞吐率。再回顾下消息发送端对发出消息持久化机制参数acks的设置,结合HW和LEO来看下acks=1的情况。

image.png