快速查询的秘籍—B+树索引上

118 阅读3分钟

大家好,我是热心的大肚皮,皮哥。 前段时间和多位大佬讨论过,是聊聊实操还是聊聊八股文呢,一千个读者就会有一千个哈姆雷特,皮哥最后认真思考了下初衷,不知道大家有没有这样的痛点,在学习时或者实操时,找不到成体系的讲解文章,只能从头看书寻找,这样学习效率低下,所以皮哥决定,由浅入深,先学原理,在来实操,正所谓,先学武功,后来退敌。不多说,开整。

如何查询页中数据?

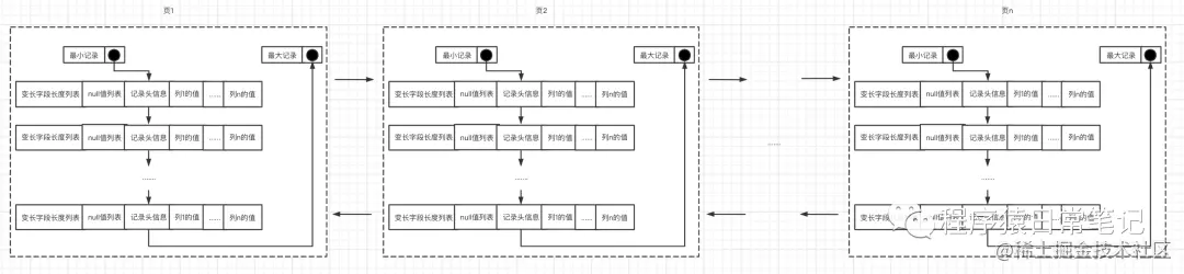
先来回顾下前行、页存储。如下图所示。

细节不过多赘述了,感兴趣的同学,可以看看前几篇文章。

  • 在一个页中查询 根据主键查询:则根据页目录通过二分法快速查询。 根据其他列查询:从infimum记录开始遍历查询,然后进行记录对比是否符合要求。
  • 多个页查询 根据主键查找:从第一个页开始,遍历每个页采用二分法查找。 根据其他列查询:从第一个页开始,继而从infimum记录开始遍历查询,然后进行记录对比是否符合要求。

在使用中肯定是多个页的场景居多,那么有没有快速的查询办法呢?当然有,就是索引。

索引如何提效的呢?

有同学还记得我们在讲页中记录存储的时候,其中属性record_type与min_rec_flag是什么含义吗?大家想不到也别回去查了,这个属性会在聊索引的时候讲,也就是现在。

  • record_type 0:普通的用户记录 1:目录项记录(过会会讲) 2:Infimum记录 3:Supremum记录
  • min_rec_flag 1:目录项纪录 2:普通用户记录

回到正题,如果提高查询效率呢?思路与页中的目录项一样,采用二分法查询,只不过是新增一个页,给所有的页做个目录,这个目录只包含两个信息。

  • key 页中用户记录中最小的主键值。
  • 页号 用page_no 表示。

如果数据记录极多呢?如下图。

那如果记录继续增多呢?如下图。

看到这里,大家有没有眼熟,倒过来看像不像颗树,上面是树根,下面是树叶,这是一种数据结构,就是B+树。真正的数据都是存在最底层,也就是叶子节点,其余存目录项纪录的叫做非叶子节点。 之前聊的页的Page Header中有个PAGE_LEVEL的属性,它代表这个叶作为节点在B+树中的层级。

叶分裂

多补充个知识点,我们工作中经常听到叶分裂,那么什么是叶分裂呢?
第一步,如下图,页1中有1、3、7三条记录,这时候添加了记录5,由于页1空间已满,存入页5中,但是不满足下一个页的最小主键记录要大于上一个页的最小记录。

第二步,将页5中的记录5与页1中的记录7进行位置互换。 这个过程就叫做叶分裂。
下篇会聊聊聚簇索引、二级索引、联合索引等。