uniCloud项目中树形分类页面的快速开发(三)

970 阅读4分钟

本文是《uniCloud项目中树形分类页面的快速开发》的第三部分。主要分享schema2code自动生成页面代码后二次开发的主要内容。通过二次开发,更好地满足项目需求,增强用户体验。

一、改写的目标与编码思路

1、目标

  • 父类ID自动填充,禁用手工输入。
  • 分类的层级自动填充,禁用手工输入。
  • 子类存在时,禁止删除父类。
  • 可以自由确定分类项的列表顺序。
  • 列表页显示为树形列表,体现父子关联。

2、编码思路

  • 将列表页面的新增按钮改为为新增一级分类按钮,移动到页面左上角位置。
  • 添加新增子分类按钮放在每行列表项的操作栏目内。
  • 如果已经是第三级分类,不显示新增子分类按钮。
  • 新增一级分类页面跳转时不传参,新增子分类跳转页面时传递父类的相关数据。
  • 在新增子分类时,根据分类数据自动填充相关表单项的默认值,禁用手动输入功能。
  • 允许修改分类名称、排序和图片。
  • 删除分类项时,判断是否有子类,查询子类中是否有父类ID与将要删除项的ID相同,如果有则拒绝删除,没有则允许删除。

二、对/pages/taxonomy/list.vue进行改写。

1、将新增按钮改写成新增一级分类,移动到页面左上角位置。

  • 改写前的样子。

截屏2021-12-14 10.34.10.png

  • 改写后的样子。

截屏2021-12-14 10.35.26.png

  • 改写的代码示例。

截屏2021-12-14 10.37.44.png

从改写的代码示例可以看出,新增一级分类按钮绑定的点击事件跳转到/pages/taxonomy/add.vue页面,跳转时不带任何参数。

2、在每一行列表项添加一个新增子分类按钮。

  • 改写前的样子。

截屏2021-12-14 10.43.43.png

  • 改写后的样子。

截屏2021-12-14 10.44.26.png

  • 改写的代码示例。

截屏2021-12-14 11.11.18.png

从改写的代码示例可以看出,新增子分类按钮绑定的点击事件依然是跳转到/pages/taxonomy/add.vue页面,跳转时携带了父类ID、层级和父类名称三个参数。

@click="navigateTo('./add?parent_id='+item._id+'&level='+item.level+'&parent_name='+item.name)"
  • 新增子分类按钮标签上添加一个判断,层级值小于2(层级为0-一级,1-二级)时显示该按钮,否则不显示该按钮。这样就把分类层级限制在三级以内了。
<button v-if="item.level<2" class="uni-button" type="primary" size="mini" ......

三、对/pages/taxonomy/add.uve进行改写。

1、添加onLoad生命周期函数,判断页面传入参数,对表单进行自动赋值。

截屏2021-12-14 13.57.01.png

2、改写页面相关模版代码,禁用表单中父类ID、层级标单项的手动输入功能。

截屏2021-12-14 13.58.30.png

  • 改写代码后新增分类页面长成这样:

截屏2021-12-14 14.03.08.png

  • 在列表页面测试新增分类功能正常。

截屏2021-12-14 14.05.25.png

四、对/pages/taxonomy/edit.uve进行改写,禁止对分类层级和父类ID进行修改。

  • 示例代码

截屏2021-12-15 08.43.45.png

  • 页面截图

截屏2021-12-15 08.43.27.png

五、再次修改列表页面,实现父子项树形关联显示,控制删除按钮选项。

实现思路:

  • 按照父子关联显示要求构建新的列表项,重新构建data数组。
  • 如果分类项有子项,隐藏删除按钮。
  • 设置排序字段。

具体编码:

1、在js代码部分的data对象中添加一个空数组newData

截屏2021-12-16 09.26.04.png

2、在js代码部分的onqueryload函数中,重新整理列表数据,按照父子关系重新排序。控制删除按钮。

截屏2021-12-16 09.36.21.png

3、修改页面template

  • 这里对data数组进行了处理,添加一个是否有子分类项属性hasSubItem,赋值给newData,现在改为遍历newData。

截屏2021-12-16 09.38.29.png

  • 在删除按钮上加一个判断,如果有子分类项就不显示。

截屏2021-12-15 10.49.22.png

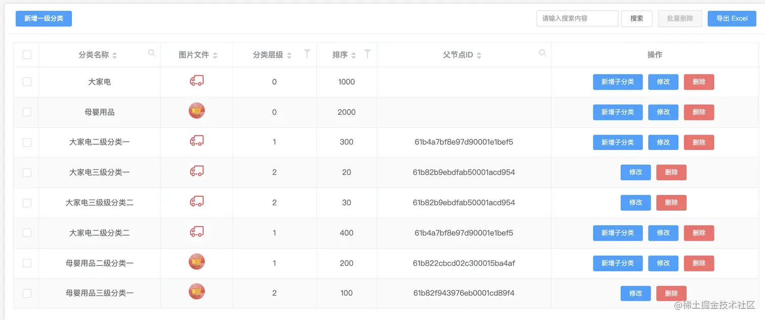
  • 改写代码后,基本符合我们的设计思路了。

截屏2021-12-16 09.40.35.png

4、关于排序

  • 从上面的列表页面截图可以看出,所有父子项的排序都是按照排序字段的值从小到大排列的。修改排序值后,列表中分类项的显示顺序也随之发生改变。
  • 实现排序功能很简单。就是在js代码部分的dbOrderBy参数值设置成需要排序的字段名即可。

截屏2021-12-16 09.46.48.png

至此我们已经按照项目需求完成了分类管理项目管理端的二次开发。下一部分,继续分享分类管理移动端页面快速开发。敬请期待。