XXL-JOB初步使用

1,575 阅读6分钟

xxl-job概述

XXL-JOB是一个分布式任务调度平台,其核心设计目标是开发迅速、学习简单、轻量级、易扩展。它的源代码是开源的。


XXL-JOB使用

先到官网下载最新版本的XXL-JOB项目到本地,我下载的是2.3最新版本。 解压源码,按照maven格式将源码导入IDE, 使用maven进行编译即可,源码结构如下:

模块说明:

xxl-job-admin:调度中心
xxl-job-core:公共依赖
xxl-job-executor-samples:执行器Sample示例(选择合适的版本执行器,可直接使用,也可以参考其并将现有项目改造成执行器)
    :xxl-job-executor-sample-springbootSpringboot版本,通过Springboot管理执行器,推荐这种方式;
    :xxl-job-executor-sample-frameless:无框架版本;

初始化XXL-JOB数据库

确保本地已安装mysql,执行项目中的sql文件脚本,脚本路径:doc/db/tables_xxl_job.sql。 到此我们已经准备好XXL-JOB的初始数据表。

配置部署调度中心

找到调度中心项目:xxl-job-admin,该项目可以单独移出,独立启用部署。

作用:统一管理任务调度平台上调度任务,负责触发调度执行,并且提供任务管理平台。

调度中心配置

调度中心配置文件地址:/xxl-job-admin/src/main/resources/application.properties

配置内容:

### 端口
server.port=8096
server.servlet.context-path=/xxl-job-admin

### actuator
management.server.servlet.context-path=/actuator
management.health.mail.enabled=false

### resources
spring.mvc.servlet.load-on-startup=0
spring.mvc.static-path-pattern=/static/**
spring.resources.static-locations=classpath:/static/

### freemarker
spring.freemarker.templateLoaderPath=classpath:/templates/
spring.freemarker.suffix=.ftl
spring.freemarker.charset=UTF-8
spring.freemarker.request-context-attribute=request
spring.freemarker.settings.number_format=0.##########

### mybatis
mybatis.mapper-locations=classpath:/mybatis-mapper/*Mapper.xml
#mybatis.type-aliases-package=com.xxl.job.admin.core.model

### 调度中心JDBC链接
spring.datasource.url=jdbc:mysql://127.0.0.1:3306/xxl_job?useUnicode=true&characterEncoding=UTF-8&autoReconnect=true&serverTimezone=Asia/Shanghai
spring.datasource.username=root
spring.datasource.password=123456
spring.datasource.driver-class-name=com.mysql.cj.jdbc.Driver

### datasource-pool
spring.datasource.type=com.zaxxer.hikari.HikariDataSource
spring.datasource.hikari.minimum-idle=10
spring.datasource.hikari.maximum-pool-size=30
spring.datasource.hikari.auto-commit=true
spring.datasource.hikari.idle-timeout=30000
spring.datasource.hikari.pool-name=HikariCP
spring.datasource.hikari.max-lifetime=900000
spring.datasource.hikari.connection-timeout=10000
spring.datasource.hikari.connection-test-query=SELECT 1
spring.datasource.hikari.validation-timeout=1000

### 报警邮箱
spring.mail.host=smtp.qq.com
spring.mail.port=25
spring.mail.username=xxx@qq.com
spring.mail.from=xxx@qq.com
spring.mail.password=xxx
spring.mail.properties.mail.smtp.auth=true
spring.mail.properties.mail.smtp.starttls.enable=true
spring.mail.properties.mail.smtp.starttls.required=true
spring.mail.properties.mail.smtp.socketFactory.class=javax.net.ssl.SSLSocketFactory

### 调度中心通讯TOKEN [选填]:非空时启用;
xxl.job.accessToken=

### 调度中心国际化配置 [必填]: 默认为 "zh_CN"/中文简体, 可选范围为 "zh_CN"/中文简体, "zh_TC"/中文繁体 and "en"/英文;
xxl.job.i18n=zh_CN

## 调度线程池最大线程配置【必填】
xxl.job.triggerpool.fast.max=200
xxl.job.triggerpool.slow.max=100

### 调度中心日志表数据保存天数 [必填]:过期日志自动清理;限制大于等于7时生效,否则, 如-1,关闭自动清理功能;
xxl.job.logretentiondays=30

我们初步使用只需要将数据源配置该为本地的数据库配置,并指定调度中心项目的端口等信息就可以了。

配置完毕我们可以启动调度中心,这里我本地调度中心端口配置的8096,所以通过:http://localhost:8096/xxl-job-admin/ 访问。出现以下界面表示调度中心启动成功。


配置部署执行器

执行器有多种版本,有springboot版也有无框架版,一般我们使用springboot版本。

作用:负责接收“调度中心”的调度并执行;可直接部署执行器,也可以将执行器集成到现有业务项目中。

我们可以直接使用源码提供的xxl-job-executor-sample-springboot项目作为执行器,也可以自己新建一个springboot项目作为执行器,或者将自己的项目作为执行器。以下我们使用新建的springboot项目作为执行器。

创建执行器项目

我们以现有springboot项目作为执行器,配置执行器相关信息

  1. application.properties文件添加xxl-job相关配置信息
server.port=8097

# xxl-job 相关配置------------------------------
# 日志配置
logging.config=classpath:logback.xml
### 调度中心部署跟地址 [选填]:如调度中心集群部署存在多个地址则用逗号分隔。执行器将会使用该地址进行"执行器心跳注册"和"任务结果回调";为空则关闭自动注册;
xxl.job.admin.addresses=http://127.0.0.1:8096/xxl-job-admin
### 执行器通讯TOKEN [选填]:非空时启用;
xxl.job.accessToken=
### 执行器AppName [选填]:执行器心跳注册分组依据;为空则关闭自动注册
xxl.job.executor.appname=xxl-job-executor-manage
### 执行器注册 [选填]:优先使用该配置作为注册地址,为空时使用内嵌服务 ”IP:PORT“ 作为注册地址。从而更灵活的支持容器类型执行器动态IP和动态映射端口问题。
xxl.job.executor.address=
### 执行器IP [选填]:默认为空表示自动获取IP,多网卡时可手动设置指定IP,该IP不会绑定Host仅作为通讯实用;地址信息用于 "执行器注册" 和 "调度中心请求并触发任务";
xxl.job.executor.ip=
### 执行器端口号 [选填]:小于等于0则自动获取;默认端口为9999,单机部署多个执行器时,注意要配置不同执行器端口;
xxl.job.executor.port=9999
### 执行器运行日志文件存储磁盘路径 [选填] :需要对该路径拥有读写权限;为空则使用默认路径;
xxl.job.executor.logpath=/data/applogs/xxl-job/jobhandler
### 执行器日志文件保存天数 [选填] : 过期日志自动清理, 限制值大于等于3时生效; 否则, 如-1, 关闭自动清理功能;
xxl.job.executor.logretentiondays=30

记得根据配置的执行器名称,在调度中心创建一个同名执行器,注册方式可选自动或手动注册。


  1. 添加xxl-job配置类 (该文件可直接拷贝源代码中的,不用做其他修改)
/**
 * xxl-job 配置类
 */
@Configuration
public class XxlJobConfig {
    private Logger logger = LoggerFactory.getLogger(XxlJobConfig.class);

    @Value("${xxl.job.admin.addresses}")
    private String adminAddresses;

    @Value("${xxl.job.accessToken}")
    private String accessToken;

    @Value("${xxl.job.executor.appname}")
    private String appname;

    @Value("${xxl.job.executor.address}")
    private String address;

    @Value("${xxl.job.executor.ip}")
    private String ip;

    @Value("${xxl.job.executor.port}")
    private int port;

    @Value("${xxl.job.executor.logpath}")
    private String logPath;

    @Value("${xxl.job.executor.logretentiondays}")
    private int logRetentionDays;


    @Bean
    public XxlJobSpringExecutor xxlJobExecutor() {
        logger.info(">>>>>>>>>>> xxl-job config init.");
        XxlJobSpringExecutor xxlJobSpringExecutor = new XxlJobSpringExecutor();
        xxlJobSpringExecutor.setAdminAddresses(adminAddresses);
        xxlJobSpringExecutor.setAppname(appname);
        xxlJobSpringExecutor.setAddress(address);
        xxlJobSpringExecutor.setIp(ip);
        xxlJobSpringExecutor.setPort(port);
        xxlJobSpringExecutor.setAccessToken(accessToken);
        xxlJobSpringExecutor.setLogPath(logPath);
        xxlJobSpringExecutor.setLogRetentionDays(logRetentionDays);

        return xxlJobSpringExecutor;
    }

}

  1. 添加logback.xml日志xml文件 (该文件可直接拷贝xxl-job源代码中的,不用做其他修改)
<?xml version="1.0" encoding="UTF-8"?>
<configuration debug="false" scan="true" scanPeriod="1 seconds">

    <contextName>logback</contextName>
    <property name="log.path" value="/data/applogs/xxl-job/xxl-job-executor-sample-springboot.log"/>

    <appender name="console" class="ch.qos.logback.core.ConsoleAppender">
        <encoder>
            <pattern>%d{HH:mm:ss.SSS} %contextName [%thread] %-5level %logger{36} - %msg%n</pattern>
        </encoder>
    </appender>

    <appender name="file" class="ch.qos.logback.core.rolling.RollingFileAppender">
        <file>${log.path}</file>
        <rollingPolicy class="ch.qos.logback.core.rolling.TimeBasedRollingPolicy">
            <fileNamePattern>${log.path}.%d{yyyy-MM-dd}.zip</fileNamePattern>
        </rollingPolicy>
        <encoder>
            <pattern>%date %level [%thread] %logger{36} [%file : %line] %msg%n
            </pattern>
        </encoder>
    </appender>

    <root level="info">
        <appender-ref ref="console"/>
        <appender-ref ref="file"/>
    </root>

</configuration>

  1. 新建JobHandler(任务处理器)

新建任务处理器后,定义一个任务处理很简单。只需要打上 @XxlJob 注解,详细用法如下:

XxlJob开发示例(Bean模式)
开发步骤:
1、为Job方法添加注解 "@XxlJob(value="自定义jobhandler名称", init = "JobHandler初始化方法", destroy = "JobHandler销毁方法")",注解value值对应的是调度中心新建任务的JobHandler属性的值。
2、执行日志:需要通过 "XxlJobHelper.log" 打印执行日志;
3、任务结果:默认任务结果为 "成功" 状态,不需要主动设置;如有诉求,比如设置任务结果为失败,可以通过 "XxlJobHelper.handleFail/handleSuccess" 自主设置任务结果;

以下定义一个简单示例任务处理器:

@Component
public class SampleXxlJob {
    private static Logger logger = LoggerFactory.getLogger(SampleXxlJob.class);

    /**
     * 1、简单任务示例(Bean模式)
     */
    @XxlJob("demoJobHandler")
    public void demoJobHandler() throws Exception {
        //获取任务参数
        String jobParam = XxlJobHelper.getJobParam();
        XxlJobHelper.log("任务参数:" + jobParam);
    }

}

接下来我们在调度中心新建一个与任务处理器名相同的任务,测试效果。

新建任务的详细配置参照官方文档,这里只做最简单的演示,注意我们使用的是Bean模式任务处理,运行模式只能选BEAN,JObHandler与注解的值保持一致。

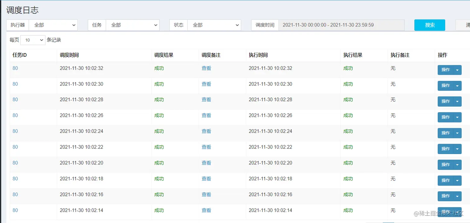
这里我定义的是每个两秒执行一次任务,我们直接看任务调度日志和执行日志:

可以看到任务已经调度和执行成功,执行日志正是我代码里写的逻辑。

xxl-job的初步使用就完成了。

我们实际开发中可以将自身项目作为xxl-job的执行器,按照上面步骤就可以使用。也可以单独新建一个springboot项目模块作为执行器。


认真做好每件事,慢一点才能更快