秒杀系统设计

1,857 阅读7分钟

秒杀活动是指网络商家为促销等目的组织会网上限时抢购活动,这种活动具有瞬时并发量大、库存量少和业务逻辑简单等特点。设计一个秒杀系统需要考虑的因素很多,比如对现有业务的影响、网络带宽消耗以及超卖等因素。本文会讨论秒杀系统的各个环节可能存在的问题以及解决方案。

秒杀系统

傻瓜式秒杀系统

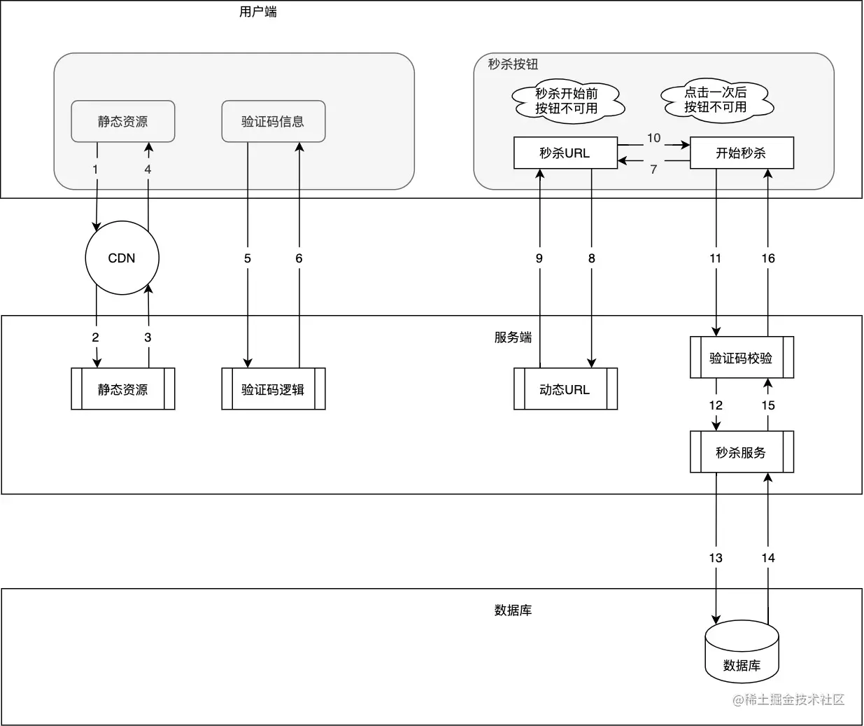
秒杀系统的核心难点是并发量,如果不考虑并发问题,那么我们可以用如下图所示的简单的系统结构来实现秒杀系统,用户只有两个简单操作:刷新界面和秒杀按钮,服务端也只有两个服务接口:返回秒杀界面和处理秒杀逻辑。假设本文中秒杀商品有100个,参与秒杀的用户有100w个。

傻瓜式秒杀系统

但是在高并发场景下,这个系统会有很多问题,我们全文会针对这些问题一一进行优化

  1. 大量用户同时刷新界面,会对服务器的带宽造成非常大的压力;
  2. 用户在秒杀前后可以多次重复点击按钮,造成很多不必要的请求;
  3. 用户可以通过脚本进行抢购,并且抢购成功率非常高;
  4. 服务端承受高并发请求,会出现响应过慢或失败等情况;
  5. 数据库承受高并发请求,会导致连接池耗尽和响应缓慢;
  6. 如果数据库更新设计的不合理,可能会出现超卖的情况;

秒杀界面CDN

秒杀开始之前,用户都会请求秒杀界面,有的用户甚至会不断的刷新秒杀界面,100W用户可能产生上千万次秒杀界面请求。秒杀界面往往包含很多静态资源,如果这些界面请求全部通过服务器获取,会造成大量的带宽消耗,甚至造成秒杀还没开始服务器就崩了的情况。

对于网页这种静态资源的并发访问,业内早就有成熟的解决方案:内容分发网络(CDN)。我们可以在秒杀开始前,预先把网页的静态资源存放在CDN节点,用户在刷新界面时直接从CDN获取静态资源,从而降低刷新秒杀界面对服务器造成的压力。添加了CDN服务之后,秒杀界面有大量用户同时访问和刷新并不会给服务端带来多大压力。

秒杀界面CDN

秒杀按钮优化

我们知道,秒杀系统往往会有一个秒杀按钮,如果不对按钮限制,可能存在以下问题:

  • 用户在秒杀开始前点击按钮,造成很多无用请求;
  • 用户在秒杀开始后多次点击按钮,造成很多重复请求;

所以我们可以对按钮做一些限制:秒杀开始前按钮不可用,用户点击一次秒杀按钮后,按钮也进入不可用状态。这种方式无法限制通过脚本请求后端的情况,但是可以限制正常用户的多次无效点击,大大降低请求量。

秒杀按钮优化

秒杀链接优化

普通情况下,用户在点击秒杀按钮的时候,前端会请求一个固定的URL,这个URL可以在前端界面查到。对于普通不懂技术的用户来说,这没有什么问题,如果用户稍微懂点Http协议,就可以在秒杀开始前拿到URL,在秒杀开始前或开始的毫秒级时间内请求秒杀链接,不仅会给服务端带来很大的压力,还会造成不公平现象:商品都被开脚本的人抢走了。

为了避免这种现象,我们可以将URL动态化,即使秒杀系统的开发人员也无法在知晓在秒杀开始时的URL。具体实现方法是在获取秒杀URL的接口中,返回一个服务器端生成的随机数,并在下单URL中传递该参数完成下单。

秒杀链接优化

秒杀验证码

虽然说我上面通过动态URL避免了用户在秒杀开始前请求秒杀链接,但是用户还是可以通过脚本在秒杀开始的那一刻去请求秒杀连接,普通用户基本没有办法和脚本秒杀进行竞争。

我们可以引入机器难以识别的验证码,用户在请求秒杀链接之前,需要填写验证码识别的结果,验证码错误的请求直接拒绝。使用验证码不仅可以增加脚本秒杀的难度,还可以降低请求的QPS,因为请求不再是在秒杀那一刻进来,而会被分散到填写验证码的时间段内。

秒杀按钮优化

过滤请求

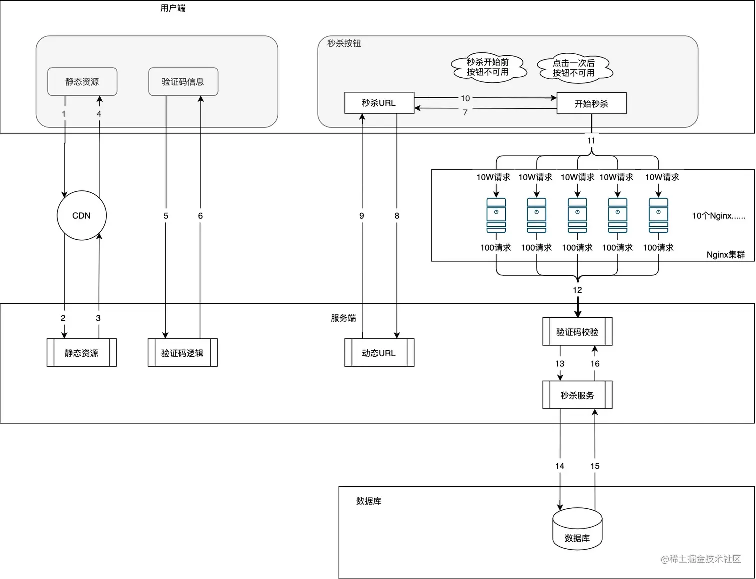
通过上面的步骤,我们可以减少很多重复请求和脚本请求,可以保证秒杀活动中一个人大致只会请求一次(脚本还是可以请求多次)。但是100W人参与秒杀,每人请求一次秒杀链接也有将近100W次请求,服务器还是扛不住。

仔细分析之后可以发现,秒杀的商品只有100个,最后成功的也只有100个,那么我们100W的请求是不是都有必要请求到秒杀服务器上呢?显而易见,我们没有必要把所有请求都打到秒杀服务器上,我们只需要保证有大于100个请求打到秒杀服务器就可以保证秒杀的正常进行,所以我们可以在用户端和服务端添加一层过滤层,过滤层只要保证有100个以上的请求能打到秒杀服务器端。

我们可以使用Nginx服务器来构建过滤层,一个Nginx服务器也没法抗100W的请求,我们假设每个Nginx服务器可以处理10W的请求,那么我们就需要10台Nginx。那么怎么用保证至少有100个请求可以请求到后端呢?我们可以简单的让每个Nginx服务器只通过前100个请求,后续请求直接返回降级界面。通过Nginx过滤,我们可以把100W的请求过滤为1000个请求,大大减少了服务器端的压力。

Nginx过滤请求

Redis缓存

如果通过前面的过滤,请求量依旧非常大,如果数据库无法处理这些请求量,我们就需要在数据库之上添加一层Redis缓存了。单个Redis可以处理几万的QPS,如果预估请求的QPS大于几万,我们还可以使用Redis集群模式来增加Redis的处理能力。

在Redis存放和售卖商品数目大小相同的数字,秒杀服务每次访问数据库之前,都需要先去Redis中扣减库存,扣减成功才能继续更新数据库。这样,最终到的数据库的请求数目和需要售卖商品的数目基本一致,数据库的压力可以大大减少。

Redis原子性

我们知道Redis是不支持事务的,所以可能出现扣减为负数的情况,这种情况下我们可以使用Lua脚本来保证一次扣减操作的原子性,从而保证扣减结果的正确性。

Redis缓存

异步更新数据库

通过Redis判断之后,去更新数据库的请求都是必要的请求,这些请求数据库必须要处理,但是如果数据库还是处理不过来这些请求怎么办呢?

这个时候就可以考虑削峰填谷操作了,削峰填谷最好的实践就是MQ了。经过Redis库存扣减判断之后,我们已经确保这次请求需要生成订单,我们就可以通过异步的形式通知订单服务生成订单并扣减库存。

异步更新数据库

我是御狐神,欢迎大家关注我的微信公众号:wzm2zsd

本文最先发布至微信公众号,版权所有,禁止转载!