基于JavaWeb实现毕业设计选题系统的分析与设计

954 阅读2分钟

 项目编号:BS-GX-002

今天介绍一下一个基于JavaWeb实现的毕业设计选题系统,本系统基于JSP/SERVLET实现开发,采用JDBC连接操作数据库,数据库采用MYSQL数据库,开发工具为IDEA或ECLIPSE。前端使用BootStrap框架进行页面开发,功能完整,运行无误,界面美观大方,是一个优秀的毕业设计作品。下面一起来看看系统的基本架构设计与主要功能模块的展示,希望能对各位有所帮助。 本系统一共分三个角色:

管理员角色:进入系统可以操作所有模块,主要包含  学生信息管理,教师信息管理,选题信息管理,公告管理,留言管理,资源文件管理,管理员用户管理等功能。

教师角色:进入系统后可以管理个人信息,查看学生信息,管理自己的课题,审批学生申请的自己的课题,对学生进行留言,查看系统公告和留言,下载系统资源文件等。

学生角色:进入系统可以管理个人信息,查看教师信息,申请选题,查看留言,查看系统公告,下载系统资源文件等操作。

登陆URL: http://localhost:8080/bysjxt/page-login.jsp

系统部分功能展示如下:

一,管理进入系统

信息管理之学生管理

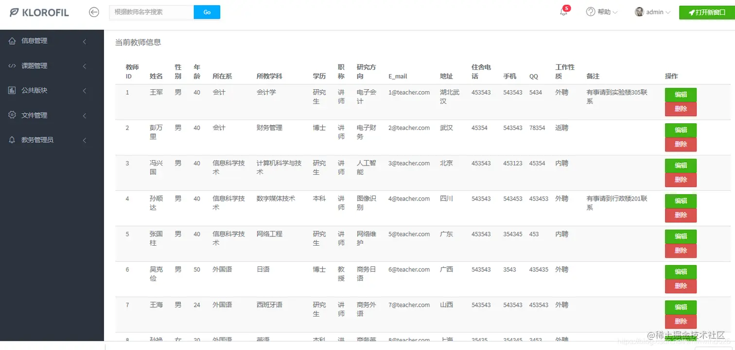
信息管理之教师管理

课题管理之课题列表

课题管理之添加课题

课题管理之选题情况列表:只能对自己的选题进行审核

公告信息

留言信息

系统文件资源管理

教务管理员管理

快捷操作菜单:退出系统

二,教师角色进

查看个人信息

修改个人信息

查看学生信息

管理自己己发布的课题

发布课题

查看学生选题情况

查看公告信息

查看留言信息

添加留言

下资系统文件资源

三,学生角色进入系统

查看个人信息

修改个人信息

查看教师列表

显示课题信息

显示自己选题情况

网上选题

查看公告、查看留言

下载内网资源

\