PTA 字符串分割拼接

459 阅读2分钟

很多人抱怨C中的字符串太过难用,其接口太过老旧。例如,字符串的分割(strtok)、链接(strcat)。这一次,我们自己动手实现更现代接口split和join。

函数split接受分隔符c,可以将字符串以字符p为分割成若干个数组,例如"abbc",如果以'b'进行split,会变成数组["a", "", "c"],而以'c'划分则会变成["abb", ""]。

函数join接受连接字符串s将一个字符串数组中的元素,两两相连,构成一个新的字符串,例如["I", "U"]如果用字符串" love "链接,会得到"I love U";而["abc"]中只有一个元素,因此无论用什么连接,始终得到"abc"本身。

注意:不允许使用编程语言内置的字符串操作。如C中的strtok、strcat,Java、Python中的split、join等。

输入格式:

输入包含两行。

第一行为原始字符串,长度不超过103,不需要读入最后的换行。这一行的输入可能包含有空格、制表符。

第二行依次为分割字符p和连接字符串s。可以假设,p不是一个空格、制表符或者换行。在p以及一个空格后的全部字符(可能包含空格、制表符,不包括换行)均属于连接字符串s。

输出格式:

第一行输出使用p分割后的字符串数组,字符串使用双引号包围,两两之间以逗号和空格分隔,数组前后需要有左方括号和右方括号,以换行结束。 第二行输出使用p分割后再使用s链接的字符串,以换行结束。

输入样例:

abbc
b  x y 
结尾无空行

输出样例:

["a", "", "c"]
a x y  x y c
结尾无空行

代码:

# include <vector>
# include <iostream>
using namespace std;
int main()
{
    vector<string>a;
    string s,t,p;
    string h,l,q,d;
    getline(cin,s);
    cin>>t;
    getchar();
    getline(cin,p);
    l=s;
    int len=t.size();
    cout<<"[";
    while(s.find(t)!=-1)
    {
        int i=s.find(t);
        int j=l.find(t);
        h=l.substr(0,j);
        l=l.substr(j+len);
        cout << "\"" << h << "\"" << ", " ;
        q=s.substr(0,i);
        d=s.substr(i+len);
        s=q+p+d;
    }
    cout << "\"" << l << "\"" ;
    cout << "]" << endl;
    cout << s << endl;
    return 0;
}

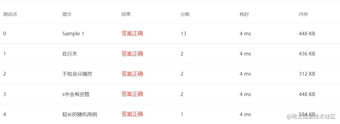
提交结果:

2.png