PTA 重排链表

308 阅读2分钟

给定一个单链表 L1L2Ln1LnL_1→L_2→⋯→L_{n−1}→L_n,请编写程序将链表重新排列为 LnL1Ln1L2L_n→L_1→L_{n−1}→L_2→⋯。例如:给定L为1→2→3→4→5→6,则输出应该为6→1→5→2→4→3。

输入格式:

每个输入包含1个测试用例。每个测试用例第1行给出第1个结点的地址和结点总个数,即正整数N (≤10510^5)。结点的地址是5位非负整数,NULL地址用−1表示。

接下来有N行,每行格式为:

Address Data Next

其中Address是结点地址;Data是该结点保存的数据,为不超过10510^5的正整数;Next是下一结点的地址。题目保证给出的链表上至少有两个结点。

输出格式:

对每个测试用例,顺序输出重排后的结果链表,其上每个结点占一行,格式与输入相同。

输入样例:

00100 6
00000 4 99999
00100 1 12309
68237 6 -1
33218 3 00000
99999 5 68237
12309 2 33218
结尾无空行

输出样例:

68237 6 00100
00100 1 99999
99999 5 12309
12309 2 00000
00000 4 33218
33218 3 -1
结尾无空行

代码:

#include <iostream>
#include <iomanip>
using namespace std;
int main()
{
    int a[100000][3],b[2],d[100000],adress,number,link,t,i,c=0;
    for(int i=0;i<2;i++)
    {
        cin>>b[i];
    }
    for(i=0;i<b[1];i++)
    {
        cin>>adress>>number>>link;
        a[adress][0]=adress;
        a[adress][1]=number;
        a[adress][2]=link;
    }
    int temp=b[0];
    for(i=0;a[temp][2]!=-1;i++)//遍历链表,将地址从头到位储存到b数组中
    {
        d[i]=a[temp][0];
        temp=a[temp][2];
        c++;
    }
    d[i]=a[temp][0];
    c++;
    for(int i=0;i<c/2;i++)
    {
        a[d[c-i-1]][2]=d[i];
        a[d[i]][2]=d[c-i-2];
    }
    if(c%2==0)
    {a[d[c/2-1]][2]=-1;}
    else
    {
        a[d[b[1]/2]][2]=-1;
    }
    t=a[d[c-1]][0];
    for(i=0;a[t][2]!=-1;i++)
    {
        cout<<setw(5)<<setfill('0')<<a[t][0]<<" "<<a[t][1]<<" "<<setw(5)<<setfill('0')<<a[t][2]<<endl;
        t=a[t][2];
    }
    cout<<setw(5)<<setfill('0')<<a[t][0]<<" "<<a[t][1]<<" "<<a[t][2]<<endl;
    return 0;
}

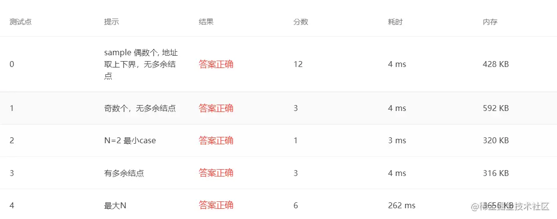
提交结果: