PTA 单链表分段逆转

444 阅读1分钟

给定一个带头结点的单链表和一个整数K,要求你将链表中的每K个结点做一次逆转。例如给定单链表 1→2→3→4→5→6 和 K=3,你需要将链表改造成 3→2→1→6→5→4;如果 K=4,则应该得到 4→3→2→1→5→6。

函数接口定义:

void K_Reverse( List L, int K );

其中List结构定义如下:

typedef struct Node *PtrToNode;
struct Node {
    ElementType Data; /* 存储结点数据 */
    PtrToNode   Next; /* 指向下一个结点的指针 */
};
typedef PtrToNode List; /* 定义单链表类型 */

L是给定的带头结点的单链表,K是每段的长度。函数K_Reverse应将L中的结点按要求分段逆转。

裁判测试程序样例:

#include <stdio.h>
#include <stdlib.h>

typedef int ElementType;

typedef struct Node *PtrToNode;
struct Node {
    ElementType Data; /* 存储结点数据 */
    PtrToNode   Next; /* 指向下一个结点的指针 */
};
typedef PtrToNode List; /* 定义单链表类型 */

List ReadInput(); /* 裁判实现,细节不表 */
void PrintList( List L ); /* 裁判实现,细节不表 */
void K_Reverse( List L, int K );

int main()
{
    List L;
    int K;

    L = ReadInput();
    scanf("%d", &K);
    K_Reverse( L, K );
    PrintList( L );

    return 0;
}

/* 你的代码将被嵌在这里 */

输入样例:

6
1 2 3 4 5 6
4
结尾无空行

输出样例:

4 3 2 1 5 6
结尾无空行

代码:

void K_Reverse( List L, int K )
{
    int n=0;
    PtrToNode p,t,p1,q,head;
    p=L->Next;
    while(p!=NULL)
    {
        n++;
        p=p->Next;
    }
    int m=n/K;
    p=L;
    if(n<K||K<=1)
        return ;
    else
    {
        for(int i=0;i<m;i++)
        {
            p1=p->Next;
            q=p1->Next;
            head=p1;
            for(int j=1; j<K;j++)
            {
                t=q->Next;
                q->Next=p1;
                p1=q;
                q=t;
            }
            head->Next=q;
            p->Next=p1;
            p=head;
        }
        
        return ;
    }
}

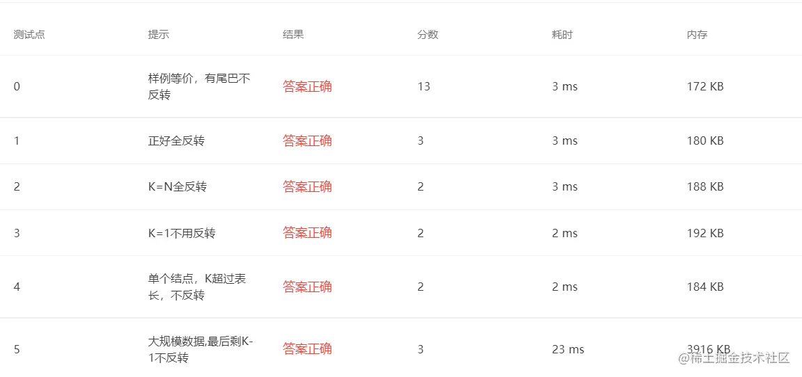
提交结果:

5.png