全数据AI智慧管控云平台——运维脱敏策略配置

340 阅读7分钟

在日常开发运维过程中经常会涉及到生产数据安全问题,可以使用全数据AI智慧管控云平台对生产数据库进行管控,对数据配置脱敏策略,保障生产数据安全。 本文着重介绍全数据AI智慧管控云平台中运维脱敏策略配置功能。

1 准备工作

安装

  • 需要安装JDK1.8或以上版本、全数据AI智慧管控云平台。
  • 全数据AI智慧管控云平台下载地址:bs.deskui.com/pages/down_…

创建用户

  • 使用平台admin用户创建【运维脱敏管理员[OPERMGR]】角色用户和【运维脱敏操作员[OPERUR]】角色用户。

配置数据库连接

  • 使用【运维脱敏管理员[OPERMGR]】用户组登录系统,在左侧菜单栏【数据库管理】->【连接信息管理】页面点击【添加连接】,配置数据库连接信息。 点击具体连接信息右侧【更多】->【配置动态权限】按钮,配置相应的数据库权限,并授权给【运维脱敏操作员[OPERUR]】用户组。

2 配置脱敏策略

这部分内容由【运维脱敏管理员[OPERMGR]】用户操作,请使用【运维脱敏管理员[OPERMGR]】登录系统。

2.1 添加脱敏策略

点击【脱敏策略管理】->【脱敏策略信息管理】,点击【添加脱敏策略】;

  • 脱敏策略名称:输入该策略名称;
  • 脱敏种子,设置脱敏种子(任意整数),不同的数据集合可以通过设置脱敏种子得到不同的脱敏效果;
  • 脱敏策略分类:可选择【脱敏策略分类管理】中新建分类目录结构。

image.png

其它功能

  • 删除脱敏策略:勾选一条或多条脱敏策略记录,点击【删除脱敏策略】,即可删除该脱敏策略下的所有脱敏规则配置;
  • 插件参数设置:点击【插件参数设置】,即可修改多个脱敏策略下的插件参数;
  • 配置扫描黑名单:自动扫描适配脱敏规则时,黑名单中的值默认不匹配脱敏规则;
  • 修改:修改当前脱敏策略信息;
  • 授权用户:将当前脱敏策略授权给【数据脱敏管理员】和【运维脱敏管理员】;
  • 详情:进入该脱敏策略配置详情。

2.2 配置脱敏规则

点击脱敏策略操作栏中【详情】,进入脱敏策略详细信息配置,点击上方【同步表字段】,同步数据库表信息。

在加载来源框中选择新建的数据库连接,点击【同步扫描所有】或勾选需要配置脱敏规则的表点击【同步扫描所选】,开始对数据表自动匹配脱敏规则。

  • 线程数:扫描同步数据表任务使用的线程数,默认为5;
  • 扫描行数:扫描同步表数据行数,默认1000;
  • 适配比率:扫描行数中表字段满足需自动匹配脱敏规则的比率,默认0.8。 如1000行数据中A字段有800行满足需要匹配手机号脱敏,则A字段自动匹配手机号脱敏规则。

image.png

同步数据表

  • 同步所选:勾选需配置脱敏规则的数据表,点击【同步所选】,可在脱敏配置列表详情中对该数据表/视图手动设置脱敏规则;
  • 同步所有:点击【同步所有】,可在脱敏配置列表详情中对该数据库所有数据表/视图手动设置脱敏规则;
  • 扫描同步所选:勾选需配置脱敏规则的数据表,点击【扫描同步所选】,可自动对这些数据表/视图匹配脱敏规则,仍可在脱敏配置列表详情中对该数据表/视图手动追加设置/调整脱敏规则;
  • 扫描同步所有:点击【扫描同步所有】,可自动该数据库所有数据表/视图匹配脱敏规则,仍可在脱敏配置列表详情中对该数据表/视图手动追加设置/调整脱敏规则;

手动配置脱敏规则

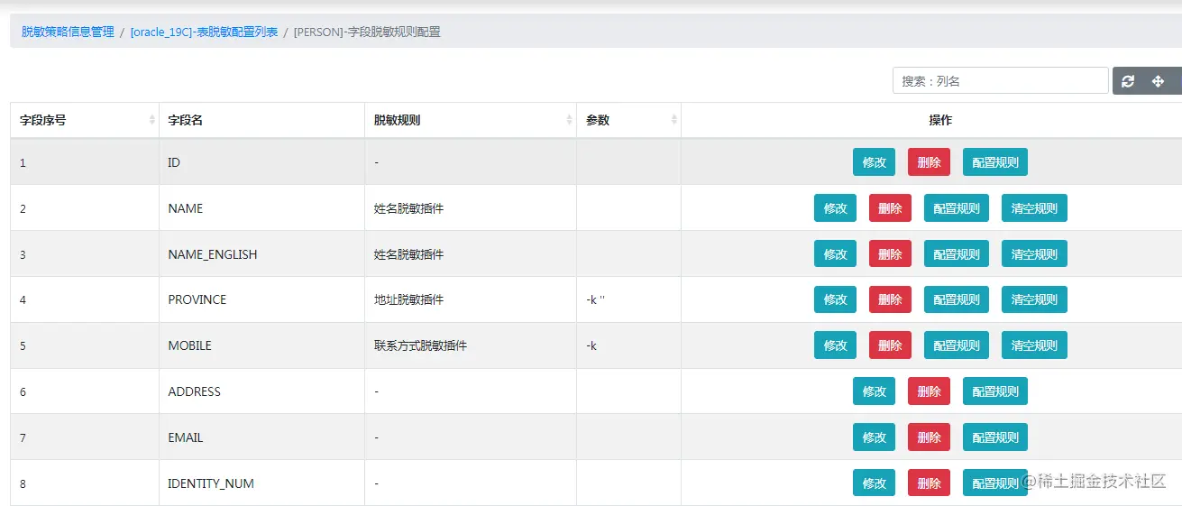
点击上方【表脱敏配置列表】进入脱敏策略详情页面,点击具体数据表操作栏中【规则配置】,可以手动对数据表字段进行脱敏规则配置。 点击表字段操作栏中【配置规则】,对当前字段配置脱敏规则。

image.png

  • 修改:点击字段操作栏中【修改】,可以修显示的字段名;
  • 删除:点击字段操作栏中【删除】,可以删除该字段;
  • 配置规则:点击字段操作栏中【配置规则】,可以对该字段进行脱敏规则配置;
  • 清空规则:点击字段操作栏中【清空规则】,可以清空当前字段配置的脱敏规则。

其它功能

image.png

  • 插件参数配置:点击【插件参数配置】可以对该脱敏策略下所有脱敏规则配置信息批量调整;
  • 删除表规则:勾选需要删除脱敏规则配置的表,点击【删除表规则】
  • 导入规则:点击【导入规则】选择准备好的脱敏规则文件,即可将文件中的脱敏规则配置导入到当前脱敏策略中;
  • 导出规则:点击【导出规则】,可以将当前脱敏策略配置的脱敏规则导出到文件中;
  • 数据预览:点击数据表操作栏中的【数据预览】,可以查看数据表脱敏前后的数据对比。 脱敏策略中的规则是导入规则来源则不可预览数据。

3 绑定数据库连接,授权用户

这部分内容由【运维脱敏管理员[OPERMGR]】用户操作,请使用【运维脱敏管理员[OPERMGR]】登录系统。

到目前为止,我们已经配置好了运维脱敏策略,接下来需要将脱敏策略与数据库连接相绑定,并把绑定脱敏策略的数据库连接授权给【运维脱敏操作员[OPERUR]】。这样运维操作员在平时生产运维工作中查看到的数据是脱敏后的数据,由此也可以保障生产数据的安全。

数据库连接绑定脱敏策略

在左侧菜单栏【数据库管理】->【连接信息管理】,点击数据库连接操作栏中【更多】->【配置动态权限】

  • 模式:当前数据库连接模式;
  • 脱敏策略:选择为当前模式配置脱敏策略,点击右侧"+",可以对当前数据库连接新增多个模式和对应的脱敏策略,一个模式只可对应一个脱敏策略;
  • SQL操作限制配置:选择需要授权的权限;
  • 限制访问表/视图/同义词集合:输入行禁止访问的表/视图/同义词集合;
  • 限制访问函数/存储过程集合:输入行禁止访问的函数/存储过程集合;
  • 查询COST阀值(默认为-1,不受限):输入查询cost阈值。

image.png

授权用户

点击上方配置动态权限下拉按钮,点击【授权用户】,在授权用户界面勾选需要授权的【运维脱敏操作员[OPERUR]】用户,点击上方【绑定】,将配置好了脱敏策略的数据库连接权限批量授权用户。

4 校验

完成数据库连接脱敏策略配置和授权之后,可以通过2种方式来校验成果。

  • 使用【运维脱敏管理员[OPERMGR]】角色,在左侧菜单栏【数据库管理】->【连接信息管理】,点击数据库连接操作栏中【更多】->【脱敏查询/对象浏览】,进入SQL查询页面,输入SQL语句查询配置了脱敏策略的数据表,可以看到敏感字段的数据已经脱敏了。
  • 使用【运维脱敏操作员[OPERUR]】角色,在左侧菜单栏【连接信息管理】,点击数据库连接操作栏中【脱敏查询/对象浏览】,进入SQL查询页面,输入SQL语句查询配置了脱敏策略的数据表,可以看到敏感字段的数据已经脱敏了。