Python的BeautifulSoup中的HTML结构解析

584 阅读2分钟

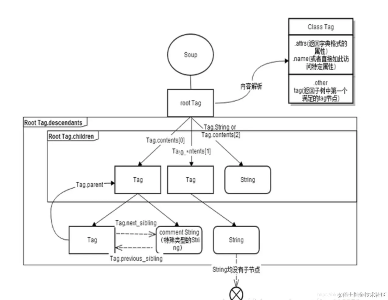
BS把HTML看做一个树形,以标签和文本为基本类型,一个标签包含其他标签,被解析为一个标签是另一个标签的子树。那么,最终整个HTML文档被解析为一棵树的形式。

BS包括四种基本类型: Soup(树),Tag(标签节点),String(字符节点),Comment(注释节点)

这四种类型的节点构成树,Soup代表这颗树,String为叶子节点,tag为标签子节点,为其标签包含的所有内容。

剖析 HTML

使用 BeautifulSoup 类剖析HTML文档。 BeautifulSoup会得出以下一些信息:

  • 有些标签可以内嵌 (<BLOCKQUOTE>) ,有些不行 (<P>).
  • table和list标签有一个自然的内嵌顺序。例如,<TD> 标签内为 <TR> 标签,而不会相反。
  • <SCRIPT> 标签的内容不会被剖析为HTML。
  • <META> 标签可以知道文档的编码类型。

 

剖析树

到目前为止,我们只是载入文档,然后再输出它。 现在看看更让我们感兴趣的剖析树: Beautiful Soup剖析一个文档后生成的数据结构。

剖析对象 (BeautifulSoup或 BeautifulStoneSoup的实例)是深层嵌套(deeply-nested), 精心构思的(well-connected)的数据结构,可以与XML和HTML结构相互协调。 剖析对象包括2个其他类型的对象,Tag对象, 用于操纵像<TITLE> ,<B>这样的标签;NavigableString对象, 用于操纵字符串,如"Page title"和"This is paragraph"。

建树

import bs4#导入BeautifulSoup库

Soup = BeautifulSoup(html)#其中html 可以是字符串,也可以是句柄

需要注意的是,BeautifulSoup会自动检测传入文件的编码格式,然后转化为Unicode格式

节点属性

可以通过Tag.attrs访问,返回字典结构的属性。

或者Tag.name这样访问特定属性值,如果是多值属性则以列表形式返回。

遍历

子节点:

Tag.Tag_child1:直接通过下标名称访问子节点。

Tag.contents:以列表形式返回所有子节点。

Tag.children:生成器,可用于循环访问:for child in Tag.children

 

String 子节点:

Tag.String:Tag只有一个String子节点是,可以这么访问,否则返回None

Tag.Strings:生成器,可用于循环访问:for str in Tag.Strings

 

子孙节点:

Tag.descendants:生成器,可用于循环访问:for des inTag.descendants

 

父节点:

Tag.parent:父节点

Tag.parents:父到根的所有节点

 

兄弟节点:

Tag.next_sibling

Tag.next_siblings

 

Tag.previous_sibling

Tag.previous_siblings

查找

最常用的是find_all()函数

方法搜索当前tag的所有tag子节点,并判断是否符合过滤器的条件。

find_all( name , attrs , recursive , text ,**kwargs )

第一个参数为Tag的名称

#第一个参数为Tag的名称,如:

tag.find_all(‘title’)

#得到”<title>&%^&*</title>”,结果为一个列表

第二个参数为匹配的属性

tag.find_all(“title”,class=”sister”)

#得到如”<title class = “sister”>%^*&</title>

第二个参数也可以为字符串,得到字符串匹配的结果

tag.find_all(“title”,”sister”)

#得到如”<title class = “sister”>%^*&</title>

 参考文档

www.crummy.com/software/Be…