进程等待
进程等待必要性
- 之前讲过,子进程退出,父进程如果不管不顾,就可能造成‘僵尸进程’的问题,进而造成内存泄漏。
- 另外,进程一旦变成僵尸状态,那就刀枪不入,“杀人不眨眼”的kill -9 也无能为力,因为谁也没有办法 杀死一个已经死去的进程。
- 最后,父进程派给子进程的任务完成的如何,我们需要知道。如果子进程运行完成,结果对还是不对, 或者是否正常退出。
- 父进程通过进程等待的方式,回收子进程资源,获取子进程退出信息
进程等待的方法
wait
pid_t wait(int* status);
返回值: 成功:返回被等待进程pid;失败:返回-1。
参数: 输出型参数,获取子进程退出状态,若不关心则可以设置成为NULL
作用:
阻塞等待任意一个子进程退出,获取子进程的返回值将其放到status指向的空间中,并释放子进程资源,返回退出子进程的pid
waitpid
pid_ t waitpid(pid_t pid, int* status, int options);
返回值:
- 当正常返回的时候waitpid返回收集到的子进程的进程ID( > 0 )
- 如果设置了选项WNOHANG,而调用中waitpid发现没有已退出的子进程可收集,则返回0
- 如果调用中出错,则返回-1,这时errno会被设置成相应的值以指示错误所在
参数:
-
pid:
- pid = -1,等待任意一个子进程退出。与wait等效。
- pid > 0.等待其进程ID与pid相等的子进程退出。
-
status:(输出型参数)传入一个int空间的首地址,获取退出的子进程返回值
- WIFEXITED(status): 若为正常终止子进程返回的状态,则为真。(查看进程是否是正常退出)
- WEXITSTATUS(status): 若WIFEXITED非零,提取子进程退出码。(查看进程的退出码)
-
options:(选项参数)
- 0 :表示默认阻塞等待;
- WNOHANG :将waitpid设置为非阻塞(没有子进程已经退出的话就立即报错返回)若pid指定的子进程没有结束,则waitpid()函数返回0,不予以等待。若正常结束,则返回该子进程的ID。
对比两种方法
wait 和 waitpid并不是只处理刚退出的进程,而是对已经退的进程进行处理(不管什么时候退出的)
- 如果子进程已经退出,调用wait/waitpid时,wait/waitpid会立即返回,并且释放资源,获得子进程退出信息。
- 如果在任意时刻调用wait/waitpid,子进程存在且正常运行,则进程可能阻塞。
- 如果不存在该子进程,则立即出错返回。
wait(status) == waitpid(-1, status, 0)
对比阻塞与非阻塞
-
阻塞:为了完成一个功能,发起调用,若当前不具备完成条件,则等待,直到条件具备完成功能后调用返回
-
非阻塞:为了完成一个功能,发起调用,若当前不具备完成条件,则立即报错返回
- 非阻塞操作相较于阻塞操作,对cpu利用更加充分,因为不再一直等待了,所以必须循环进行操作
阻塞与非阻塞的区别:调用是否立即返回
获取子进程status
- wait和waitpid,都有一个status参数,该参数是一个输出型参数,由操作系统填充。
- 如果传递NULL,表示不关心子进程的退出状态信息。
- 否则,操作系统会根据该参数,将子进程的退出信息反馈给父进程。
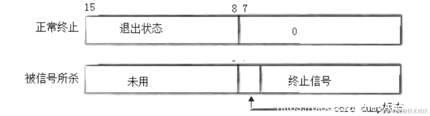
- status不能简单的当作整形来看待,可以当作位图来看待,具体细节如下图(只研究status低16比特位):
status:输出型参数,传入一个int空间的首地址,获取退出的子进程返回值
返回值的获取
- 子进程退出的返回值只使用了一个字节保存,并且通过wait/waitpid函数的status返回给用户
- 然而status这个变量有4个字节(int 型),返回值起始保存在低16位中高8位
- 调用的时候,通过取地址(&status)
- 不能定义一个名status的指针:int* status — 定义了一个指针变量,有8个字节空间,存放的是另一块空间的地址

测试代码:
#include <sys/wait.h>
#include <stdio.h>
#include <stdlib.h>
#include <string.h>
#include <errno.h>
int main()
{
pid_t pid;
if ( (pid=fork()) == -1 )
perror("fork"),exit(1);
if ( pid == 0 ){
sleep(20);
exit(10);
}
else {
int st;
int ret = wait(&st);
if ( ret > 0 && ( st & 0X7F ) == 0 ){ // 正常退出
printf("child exit code:%d\n", (st>>8)&0XFF);
}
else if( ret > 0 ) { // 异常退出
printf("sig code : %d\n", st&0X7F);
}
}
}
测试结果:
[root@localhost linux]# ./a.out #等20秒退出
child exit code:10
具体代码实现
- 进程的阻塞等待方式:
int main() {
pid_t pid;
pid = fork();
if(pid < 0){
printf("%s fork error\n",__FUNCTION__);
return 1;
}
else if( pid == 0 ){ //child
printf("child is run, pid is : %d\n",getpid());
sleep(5);
exit(257);
}
else{
int status = 0;
pid_t ret = waitpid(-1, &status, 0);//阻塞式等待,等待5S
printf("this is test for wait\n");
if( WIFEXITED(status) && ret == pid ){
printf("wait child 5s success, child return code is :%d.\n", WEXITSTATUS(status));
}
else{
printf("wait child failed, return.\n");
return 1;
}
}
return 0;
}
运行结果:
apple@AppledeMacBook-Pro Linux % ./test
child is running
child is run, pid is : 32995
child is running
child is running
child is running
child is running
wait child 5s success, child return code is:1.
- 进程的非阻塞等待方式:
#include <stdio.h>
#include <unistd.h>
#include <stdlib.h>
#include <sys/wait.h>
int main() {
pid_t pid;
pid = fork();
if(pid < 0){
printf("%s fork error\n",__FUNCTION__);
return 1;
}
else if( pid == 0 ){ //child
printf("child is run, pid is : %d\n",getpid());
sleep(5);
exit(1);
}
else{
int status = 0;
pid_t ret = 0;
do
{
ret = waitpid(-1, &status, WNOHANG);//非阻塞式等待
if( ret == 0 ){
printf("child is running\n");
}
sleep(1);
}while(ret == 0);
if( WIFEXITED(status) && ret == pid ){
printf("wait child 5s success, child return code is:%d.\n", WEXITSTATUS(status));
}
else{
printf("wait child failed, return.\n");
return 1;
}
}
return 0;
}
测试结果:
apple@AppledeMacBook-Pro Linux % ./test
child is running
child is run, pid is : 32941
child is running
child is running
child is running
child is running
wait child 5s success, child return code is:1.
如有不同见解,欢迎留言讨论~~