ivew 实现表格中的筛选,排序功能

587 阅读1分钟

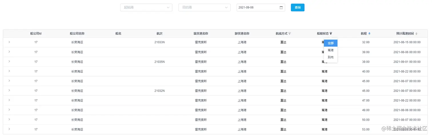
效果图:

image.png

   <Table :columns="columns" :data="tableData" size="small" ref="table" :border="false"
        @on-sort-change="tableSort">
    </Table>
    

return 定义如下:

 columns: [
        {
            type: 'expand',
            width: 50,
            render: (h, params) => {
                return h(expandRow, {
                    props: {
                        row: params.row
                    }
                })
            }
        },
        {
            "title": "船公司Id",
            "key": "carrier",
            "min-width": 150,
            "align": 'center',

        },
        {
            "title": "船公司名称",
            "key": "carrierNameCn",
            "min-width": 150,
            "align": 'center',

        },
        {
            "title": "船名",
            "key": "vesselNameCn",
            "min-width": 150,
            "align": 'center',

        },

        {
            "title": "航次",
            "key": "voyageCode",
            "min-width": 150,
            "align": 'center',

        },
        {
            "title": "装货港名称",
            "key": "polCn",
            "min-width": 150,
            "align": 'center',

        },
        {
            "title": "卸货港名称",
            "key": "podCn",
            "min-width": 150,
            "align": 'center',

        },
        {
            "title": "航线方式",
            "key": "zdorzz",
            "min-width": 150,
            "align": 'center',
            filters: [
                {
                    label: '直达',
                    value: "ZD"
                },
                {
                    label: '中转',
                    value: "ZZ"
                }
            ],
            filterMultiple: false,
            filterRemote(value, row) {
                this.zdorzz = value[0]
                this.searchServiceList() // 调用查询列表接口

            },
            render: (h, params) => {
                return h('div', [
                    h('span', {
                        style: {
                            color: '#000000'
                        }
                    }, params.row.zdorzz = 'ZD' ? '直达' : '中转'),
                ])
            }
        },
        {
            "title": "船舶状态",
            "key": "show",
            "min-width": 150,
            "align": 'center',
            filters: [
                {
                    label: '离港',
                    value: "D"
                },
                {
                    label: '到岗',
                    value: "A"
                }
            ],
            filterMultiple: false,
            filterRemote(value, row) {
                this.dora = value[0]
                this.searchServiceList() // 调用查询列表接口


            },
            render: (h, params) => {
                return h('div', [
                    h('span', {
                        style: {
                            color: '#000000'
                        }
                    }, params.row.show = 'D' ? '离港' : '到岗'),
                ])
            }

        },
        {
            "title": "航程",
            "key": "sailingDays",
            "min-width": 150,
            "align": 'center',
            "sortable": true,


        },
        {
            "title": "预计离港时间",
            "key": "etd",
            "min-width": 150,
            "align": 'center',
            "sortable": true,



        },
        // {
        //     "title": '操作',
        //     "key": 'action',
        //     "min-width": 120,
        //     "align": 'center',
        //      render: (h, params) => {
        //         return h('div', [
        //             h('Button', {
        //                 props: {
        //                     type: 'text',
        //                     size: 'small'
        //                 }
        //             }, 'View'),
        //             h('Button', {
        //                 props: {
        //                     type: 'text',
        //                     size: 'small'
        //                 }
        //             }, 'Edit')
        //         ]);
        //     }
        // }
    ],

methods


tableSort(val) {
    console.log(val);
    if (val.column.key == "sailingDays") {
        if (val.column.key == "asc") {
            this.orderBy = "SAILING_DAYS"
        } else {
            this.orderBy = "SAILING_DAYS DESC"
        }

    } else if (val.column.key == "etd") {
        if (val.column.key == "asc") {
            this.orderBy = "ETD"
        } else {
            this.orderBy = "ETD DESC"
        }
    }
    this.searchServiceList()

},

// 筛选触发的函数
filterOperateType(filters, row, column) {
    let type = Object.keys(filters)
    if (type[0] == 'serviceType') {
        this.serviceType = filters.serviceType[0];
    }

    else if (type[0] == 'userType') {
        this.userType = filters.userType[0];
    }
    this.searchServiceList()

},