Hadoop MapReduce 作业的生命周期

154 阅读2分钟

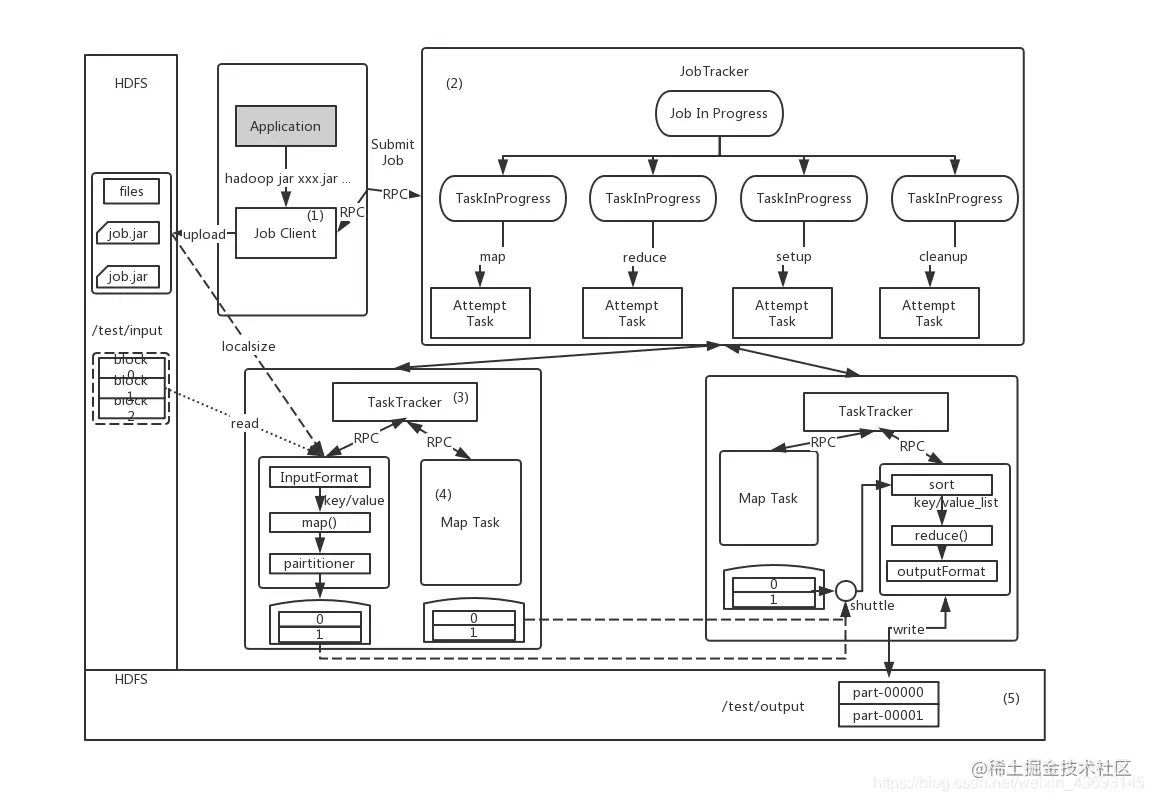
假设用户编写了一个MapReduce程序,并将其打包成xxx.jar文件,并提交作业,该作业的运行过程如图所示: MapReduce作业的生命周期图 这个过程分为以下5个步骤:

  1. 作业提交与初始化。 用户提交作业后,首先由JobClient实例将作业相关信息,(比如讲程序jar包、作业配置文件、分片元信息文件等)上传到分不是文件系统(一般为HDFS)上,其中分片元信息文件记录了每个输入分片的逻辑位置信息。然后JobClient通过RPC通知JobTracker收到新作业提交请求后,由作业调度模块对作业进行初始化:为作业创建一个JobInProgress对象以跟踪作业运行状况,而JobInProgress则会为每个Task创建一个TaskInProgress对象以跟踪每个任务的运行状态,TaskInProgress可能需要管理做个“Task运行尝试”(称为“Task Attempt”)。
  2. 任务调度与监控。 TaskTracker周期性的通过HeartBeat想JobTracker汇报本节点的资源使用情况,一旦出现空闲资源,JobTracker会按照一定的策略选择一个合适的任务使用该空闲资源,这由任务调度器完成。

任务调度器是一个可插拔的独立模块,且为双层架构,即首先选择作业,然后从该作业中选择任务,其中,选择任务时需要重点考虑数据本地性。此外,JobTracker跟踪作业的整个运行过程,并为作业的成功运行提供全方位的保障。首先,当TaskTracker或者Task失败时,转移计算任务;其次,当某个Task执行进度远落后于同一作业的其他Task时,为之启动一个相同的Task,并选取计算快的Task结果作为最终结果。

  1. 任务运行环境准备。 运行环境包括JVM启动和资源隔离,均由TaskTracker实现。TaskTracker为每个Task启动一个JVM以避免不同Task在运行是相互影响;同时,TaskTracker使用了操作系统进程实现资源隔离以防止Task滥用资源。
  2. 执行任务。 TaskTracker为每个Task准备好环境以后,便会启动Task,在运行过程中,每个Task的最新进度首先由Task通过RPC汇报给TaskTracker,再由TaskTracker汇报给JobTracker。
  3. 作业完成。