Flink流

388 阅读8分钟
1.1 前言

Apache Flink 是一个分布式流处理引 擎,它提供了直观且极富表达 力的 API 来实现有状态的流处理应用,并且支持在容错的前提下高效、大规模地运行 此类应用。

1.2 传统数据处理架构
1.2.2 事务型处理

事务性处理.png

该设计在应用需要更新或扩缩容时容易导致问题 。一且多个应用基于相同数据表示或共享架构,那么更改表模式( Schema)或对数据库系统进行扩缩 容必将芳心费力。

1.2.3 分析型处理

分析型.png

将事务型数据复制到一个专门用来处理分析类查询的数据仓库。这个向数据仓库拷贝数据的过程被称 为提取-转换-加载( Extract-Transform-Load, ETL)。 ETL 的基本流程是 : 从事务型数据库中提取数据,将其转换为通用表示形式(可 能包含数据验证、 数据归 一 化 、编码、去重、表模式转换等工作),最终加载到分析型数据库中。 该流程可能会非常麻烦,通常需要复杂的技术方案来满足性能要求。为了保 持数据仓库中的数据同步, ETL 过程需要周期性地执行 。

1.3 状态化流处理

有状态的流式应用.png

有状态指的是能够存储和访问中间结果

1.3.1 事件驱动型应用

事件驱动型应用是一 类通过接收事件流触发特定应用业务逻辑的有状态的流式应用。

事件驱动型应用的典型应用场景有 :-
  • 实时推荐(例如 在客户浏览商家页面的同时进行产品推荐)。
  • 模式识别或复杂事件处理(例如 根据信用卡交易记录进行欺诈识别) 。
  • 异常检测(例如计算机网络入侵检测)。
1.3.2 数据管道应用

以低延迟的方式获取、转换并插入数据,我们将此类应用称为数据管道。它需要在短时间内处理大批量数据。 执行数据管道应用的流处理引擎为了支持不同外部系统的数据读写,还需要 提供多样化的数据源、数据汇连接器 。

1.3.3 流式分析应用

流式分析应用不再需要等待周期性地触发。相反,它会持续获取事件流,以 极低的延迟整合最新事件,从而可以不断更新结果 。

流式分析应用常用于:-
  • 手机网络质量监控。
  • 移动应用中的用户行为分析。
  • 消费者技术中的实时数据即席分析。
1.4 Flink快览

Apache Flink是一个集众多具有竞争力的特性于一身的第三代流处理引 擎。

功能

  • 同时支持事件时间和处理时间语义。
  • 提供精确 一 次( exactly-once)的状态 一 致性保障 。
  • 在每秒处理数百万条事件的同时保持毫秒级延迟。
  • 层次化的 API在表达能力和l易用性方面各有权衡。
  • 允许在不丢失应用状态的前提下更新作业的程序代码,或进行跨 Flink 集 群的作业迁移。
  • 提供了详细、可自由定制的系统及应用指标( metrics)集合,用于提前定 位和!响应问题。

第二章 流处理基础

2.1 Dateflow图

dateflow图.png

Dataflow程序通常表示为有向图。图中顶点称为算子,表示计算;而边表示数据依赖关系。

dateflow物理图.png

为了执行Dataflow程序, 需要将逻辑图转化为物理Dataflow图,后 者会指定程序的执行细节。例如: 当我们使用分布式处理引擎时,每个算子 可能会在不同物理机器上运行多个并行任务。

2.2 数据交换策略

数据交换策略.png

2.3 延迟和吞吐

延迟:

延迟表示处理一个事件所需的时间。本质上,它是从接收事件到在输出中观察到事件处理效果的时间间隔。

吞吐:

吞吐是用来衡量系统处理能力(处理速率)的指标,它告诉我们系统每单位 时间可以处理多少事件。

2.4 数据流上的操作
2.4.1 数据接入和数据输出

负责数据接入操作逻辑的算子称为数据源,数据惊可 以从 TCP 套 接字、文件、Kafka主题或传感器数据接口中获取数据。

负责数据输出的算子称为数据汇,其写入的目标可以 是文件、数据库、消息队列或监控接口等。

2.4.2 转换操作

转换操作.png

转换操作是一类“只过一次”的操作,它 们 会分别处理每个事件。

算子既可以同时接收多个输入流或产生多条 输出流,也可以通过单流分割或合并多条流来改变Dataflow 图的结构 。

2.4.3 滚动聚合

滚动聚合 (如求和、求最小值和求最大值 ) 会根据每个到来的事件持续更新结果。

2.4.4 窗口操作

转换操作和滚动聚合每次处理一个事件来产生输出并(可能)更新状态。

窗口操作会持续创建一些称为”桶“的有限事件集合,并允许我们基于这些有限集进行计算。

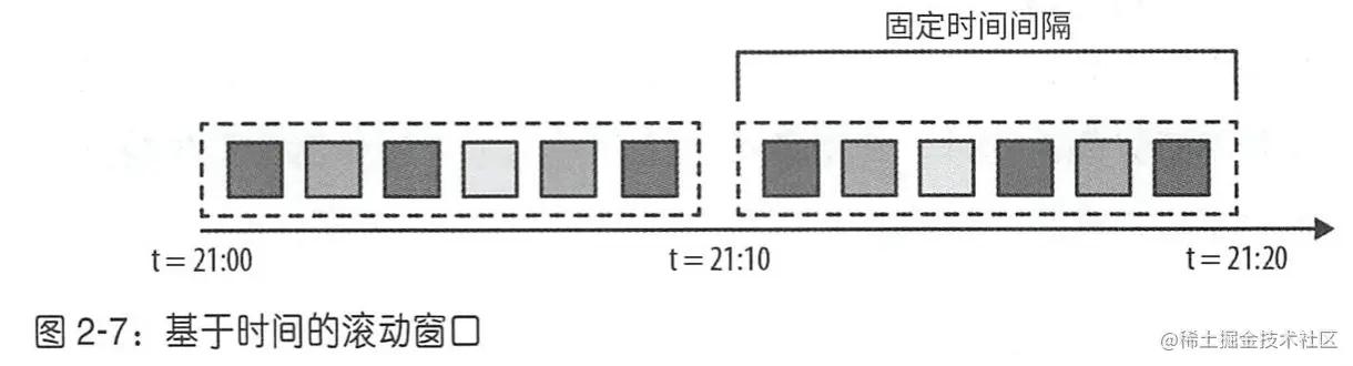
2.4.4.1 滚动窗口

基于数量的滚动窗口.png

定义了在触发计算前需要集齐多少条件。

基于时间的滚动窗口.png

定义了在桶中缓冲数据的时间间隔。

2.4.4.2 滑动窗口

滑动窗口.png

通过指定长度和滑动间隔来定义滑动窗口。滑动间隔决定每隔多久生成一个新的桶。

2.4.4.3 会话窗口

会话窗口.png

根绝会话间隔将事件分为不同的会话,该间隔值定义了会话在关闭前的非活动时间长度,适用于分析用户行为。

2.5 流处理场景下一分钟的含义
2.5.1 处理时间

处理时间是当前流处理算子所在机器上的本地时钟时间。

2.5.2 事件时间

事件时间是数据流中事件实际发生的时间,它以附加在数据流中事件的时间戳为依据。

处理时间提供了很低的延迟,但是它的结果依赖处理速度,具有不确定性。事件时间则与之相反,能保证结果的准确性,并允许你处理延迟甚至无序的事件。

2.6 水位线

水位线是一个全局进度指标,表示我们确信不会再有延迟事件到来的某个时间点。

第三章 Apache Flink架构

3.1 系统架构

Flink 是 一 个用于状态化并行流处理的分布式系统。它的搭建涉及多个进程,这些进程通常会分布在多台机器上。

3.2 搭建Flink所需组件
  • JobManager:控制着单个应用程序的执行。

  • ResourceManager:负责管理Flink的处理资源单元-TaskManager处理槽。

  • TaskManager:是 Flink 的工作进程( worker process)。通常在 Flink 搭建过程 中要启动多个 TaskManager。每个 TaskManager提供-定数量的处理槽。处理

    槽的数目限制了-个 TaskManager可执行的任务数。

  • Dispatcher:会跨多个作业运行,它提供了 一 个 REST 接口来让我们提 交需要执行的应用。

应用提交及组件交互.png

3.3 应用部署
3.3.1 框架模式

Flink应用会打包成一个JAR文件,通过客户端提交到运行的服务上。如果提交到JobManager,则可以立即执行;如果提交到Dispatcher或ResourceManager上,则会启动一个JobManager并将应用转交给它,然后开始执行。

3.3.2 库模式

Flink应用会绑定到一个特定应用的容器镜像 (女口 Docker镜 像)中。镜像中还包含着运行 JobManager 以及 ResourceManager 的代码。 当容器从镜像启动后会自动加载 ResourceManager和 JobManager,并将 绑定的作业提交执行。

3.4 Flink高可用

Flink中的高可用模式是基于能够提供分布式协调和共识服务的ZooKeeper来完成的。JobManager在高可用模式下工作时,会将JobGraph以及全部所需的元数据写入一个

远程存储系统中。此外,JobManager还会将存储位置的路径写入Zookeeper的数据存储。

Flink高可用设置.png

当JobManager发生故障时,其下应用的所有任务都会自动取消。新接手的JobManager会执行以下步骤:

  • 向Zookeeper请求存储位置,以获取JobGraph。JAR文件以及应用最新检查点在远程存储的状态句柄。
  • 向ResourceManager申请处理槽来继续执行应用。
  • 重启应用并利用最近一次检查点重置任务状态。
3.5 水位线传播和事件时间

Flink内部将水位线实现为特殊的记录,他们可以通过算子任务进行接收和发送。当任务接收到一个水位线时会执行以下操作:

  • 基于水位线记录的时间戳更新内部事件时间时钟。
  • 任务的时间服务会找出所有触发时间小于更新后时间时间的计时器。对于每个到期的计时器,调用回调函数,利用他来执行计算或发出记录。
  • 任务根据更新后的事件时间将水位线发出。
3.6 键值分区状态常用原语
  • 单值状态:

    每个键对应存储一个任意类型的值,该值也可以是某个复杂数据结构。

  • 列表状态:

    每个键对应存储一个值得列表。列表中的条目可以是任意类型。

  • 映射状态:

    每个键对应存储一个键值映射,该映射的键和值可以是任意类型。