使用明道云搭建电梯维修与保养系统

330 阅读4分钟

文/明道云实施顾问 魏旭超

引言

进入21世纪,随着我国经济和房地产市场的迅猛发展,越来越多的高层和超高层的民居建筑开始交付使用。作为其中必不可少的乘载工具——电梯,作为一种高层建筑中负责垂直运输的特种设备,结构和运转机理都很复杂,与人身安全关系重大,已经成为各大城市高层建筑的日常运输工具,随之而来的电梯设备管理问题也日益突出。

分析电梯维修保养和安全管理的现状,结合使用零代码搭建平台(明道云)搭建电梯维修保养系统,帮助实现电梯维修保养管理的信息化与智能化。

近年来,电梯安全的社会专注度越来越高。产生的电梯隐患的原因有很多,如电梯质量不过关、维护保养存在缺陷、日常检测与实际安全情况不一致、维修与保养响应慢等,成为了电梯行业亟待解决的问题。

本文通过使用零代码应用搭建平台(明道云),可以规范电梯在维修与保养方面的工作流程,提高维修与保养效率。数据实时入库,确保检测与实际情况一致。统计分析维修保养响应时长,做为效率提升借鉴。

一、搭建准备

1、准备资料

在应用搭建之前,我首先需要掌握电梯行业的相关基础资料。

TSG-T5002-2017《电梯维护保养规则》.xlsx 电梯备件.xlsx

图 1.1 基础资料

2、划分板块

如图 1.2所示,划分为六个大的板块,分别是驾驶舱、电梯档案、电梯维护保养、电梯报修单、备品备件管理、基础信息。每个板块都有实现的功能。

图 1.2 六大板块

二、搭建过程

1、基础信息的搭建

如图2.1所示,基础信息里面的表单,在其他板块会被引用,通过关联记录的方式。后续基础信息发生变化就可以直接在这个板块进行修改,方便节约时间。

图 2.1 基础信息

2、电梯档案

有了基础信息之后,就需要建立我们电梯档案,我们对电梯的属性进行划分:状态、编号、名称、规格、类型、安装地点、负责人、生产商、供应商等,对电梯信息进行储存记录。

图 2.2 电梯信息表

3、电梯维护保养

在电梯维护保养中,有TSG-T5002-2017《电梯维护保养规则》表、电梯维护保养单、保养明细三张表单。

图 2.3 电梯维护保养单

在我们的电梯维修保养单中,对正常运行电梯进行保养规则设置,保养频次、维护人、保养项目有哪些等,下一次保养之前几天及时提醒维护人准备保养

图 2.4 电梯维护保养单

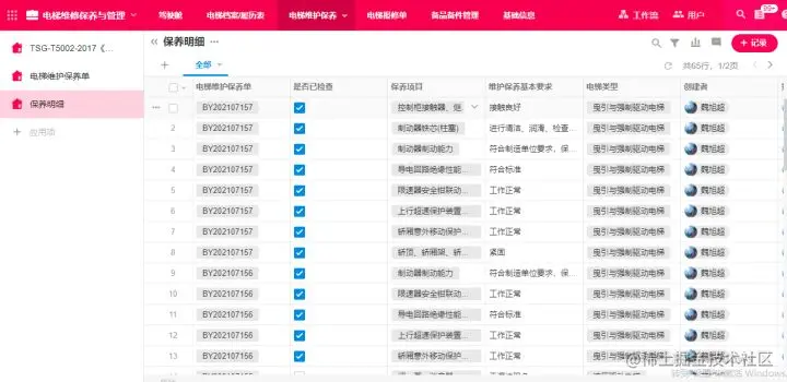
当我们安排好电梯维保之后,会通知相应的维护人,维护人可看保养明细,查看自己的工作内容。维保单与保养明细单的关系,类似在项目管理中,项目与任务的关系,当所属该项目的任务完成时,项目也就完成。当所属该维保单的保养明细完成时,维保单就完成了。

图 2.5 保养明细

4、电梯报修单

图 2.6 报修流程

报修人发现问题电梯,找到电梯部门,电梯部门安排专业维修人员进行维修,当维修完成时,报修人再来对电梯进行检测,当所有流程通过时,自动更新电梯信息表里的电梯状态(正常运行)

规范电梯维修流程,提高电梯维修效率,记录电梯维修记录,形成企业数据资产。

图 2.7 电梯报修单

5、备品备件管理

如图 2.8所示,备品管理类似于一个小型的进销存系统,在电梯的维修与保养两个环节中,都有着申请备件这个部分作为备件出库,备件库存在入库与出库中自动更新,当库存不足时,会自动通知相关负责人进行采购(通过使用工作流完成)。

图 2.8 设备台账

6、驾驶舱

当整个系统正常运行时,接下来的就是对我们所需要了解的数据,进行处理分析。

图 2.9 电梯状态推送分布

图 3.0 设备维修统计

三、总结

通过使用零代码应用搭建平台(明道云)能够规范电梯日常维修与保养流程,极大提高电梯行业的工作效率,且数据的实时入库,确保数据与实际符合。同事积累行业数据,总结经验,优化各个环节,使用明道云帮助电梯行业实现维修保养的信息化与智能化。