跟我一起学习Redis中的跳跃表吧|8月更文挑战

277 阅读4分钟

一、跳跃表

1.1 跳跃表简介
1.2 跳跃表节点实现
1.3 跳跃表实现

1.1 跳跃表简介

  跳跃表(skiplist)是一种有序数据结构,它通过在每个节点中维持多个指向其他节点的指针,从而达到快速访问节点的目的。跳跃表支持平均O(longN)、最坏O(N)复杂度的节点查找,还可以通过顺序性操作来批量处理节点。
  Redis使用跳跃表作为有序集合键的底层实现之一,如果一个有序集合包含的元素数量比较多,又或者有序集合中元素的成员(member)是比较长的字符串时,Redis就会使用跳跃表来作为有序键集合的底层实现。

1.2 跳跃表节点实现

  Redis的跳跃表由redis.h/zskiplistNode和redis.h/zskiplist两个结构定义,其中zskiplistNode结构用于表示跳跃表节点,而zskiplist结构则用于保存跳跃表节点的相关信息,比如节点的数量,以及指向表头节点和表尾节点等相关信息。

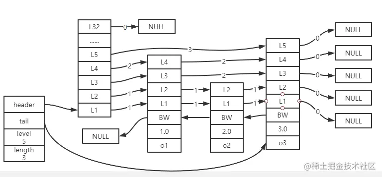
image.png           该图就是一个简单的一个跳跃表

  • header: 指向跳跃表的表头节点。
  • taiil:指向跳跃表的表尾节点。
  • level:记录目前跳跃表的长度,就是跳跃表目前包含节点的数量(表头节点不计算在内)。 上图中,后面四个是zskiplistNode结构,该结构包含以下属性:
  • 层(level):节点中用L1、L2、L3等字样标记节点的各个层,L1代表第一层,L2代表第二层,以此类堆。每个层都带有两个属性:前进指针和跨度。
  • 后退(backwark)指针:节点中用BW字样标记节点的后退指针,它指向位于当前节点的前一个节点。后退指针在程序从表尾向表头时遍历时使用。
  • 分值(score):各个节点中的1.0、2.0、3.0是节点所保存的分值。在跳跃表中,节点按分值从小到大排列。
  • 成员对象(obj):各个节点中的o1、o2和o3是节点所保存的成员对象。

1.2.1 跳跃表节点

跳跃表节点的实现由以下结构定义:

typedef struct zskiplistNode {
    // 后退指针
    struct zskiplistNode *backward;
    // 分值
    double score;
    // 成员对象
    robj *obj;
    // 层
    struct zskiplistLevel {
        // 前进指针
        struct zskiplistNode *forward;
        // 跨度
        unsigned int span;
    } level[];
}

1、层

  跳跃表节点的level数组可以包含多个元素,每个元素都包含一个指向其他节点的指针,程序可以通过这些层来加快访问其他节点的速度,一般来说,层的数量越多,访问其他节点的速度就越快。
  每次创建一个新跳跃表节点的时候,程序都根据幂次定律(power law,越大的数出现的概率越小)随机生成一个介于1和32之间的值作为level数组的大小,这个大小就是层的“高度”。 2、前进指针 每个层都有一个指向表尾方向的前进指针(level[i].forward)属性),用于从表头向表尾方向访问节点。 3、跨度 层的跨度(level[i].span属性)用于记录两个节点之间的距离:

  • 两个节点之间的跨度越大,它们相距得就越远
  • 指向NULL的所有前进指针的跨度都为0,因为它们没有连向任何节点。 4、后退指针 节点的后退指针(backward属性)用于从表尾向表头方向访问节点:跟可以一次跳过多个节点的前进指针不同,因为每个节点只有一个后退指针,所以每次只能后退至前一个节点。 5、分值和成员 节点的分值(score属性)是一个double类型的浮点数,跳跃表中的所有节点都按分值从小到大来排序。
    节点的成员对象(obj属性)是一个指针,它指向一个字符串对象,而字符串对象则保存着一个SDS值。

1.3 跳跃表实现

仅靠多个跳跃表节点就可以组成一个跳跃表。如上图所示。
通过使用一个zskiplist结构来持有这些节点,程序可以更方便地对整个跳跃表进行处理,比如快速访问跳跃表的表头节点和表尾节点,或者快速地获取跳跃表节点的数量(也即是跳跃表的长度)等信息。 zskiplist结构的定义如下:

typedef struct zskiplist {
    // 表头节点和表尾节点
    struct zskiplistNode *head,*tail;
    // 表中节点的数量
    unsigned long length;
    // 表中层数最大的节点的层数
    int level;
} zskiplist;

1、header和tail指针分别指向跳跃表的表头和表尾节点,通过这两个指针,程序可以快速的定位表头和表尾。
2、通过使用length属性来记录节点的数量,程序可以在O(1)复杂度内返回跳跃表的长度。
3、level属性则用于在O(1)复杂度获取跳跃表中层高最大的那个节点的层数量,注意表头节点的层高并不计算在内。