简单说说 web 缓存

361 阅读5分钟

web 缓存

web 缓存是可以自动保存常见文档副本的 HTTP 机制.当 web 请求抵达缓存时,如果本地已经有缓存副本,那么这时候就可以从本地获取副本数据,而不是重新再一次去服务端获取拉取这个文档.

缓存的优缺点

优势

  • 减少了冗余的数据传输,节约了网络请求
  • 减缓了网络瓶颈,不需要更多的带宽就能更快的加载页面
  • 降低了原始服务器的要求.服务器可以更快的响应,避免过载

劣势

  • 消耗内存
  • 缓存数据可能和服务端数据不同步,不一致(服务的数据更新)

缓存可分为强缓存和协商缓存

  • 浏览器进行资源请求时,会判断 response headers 是否命中强缓存,如果命中,直接从本地读取缓存,不会向服务器发送请求,
  • 当强缓存没有命中时,会发送请求到服务端,判断协商缓存是否命中,如果命中,服务器将请求返回,不会返回资源,告诉浏览器从本地读取缓存。如何不命中,服务器直接返回资源
    区别: 强缓存命中,不会请求服务器,直接请求缓存;协商缓存命中,会请求服务器,不会返回内容,然后读取缓存;
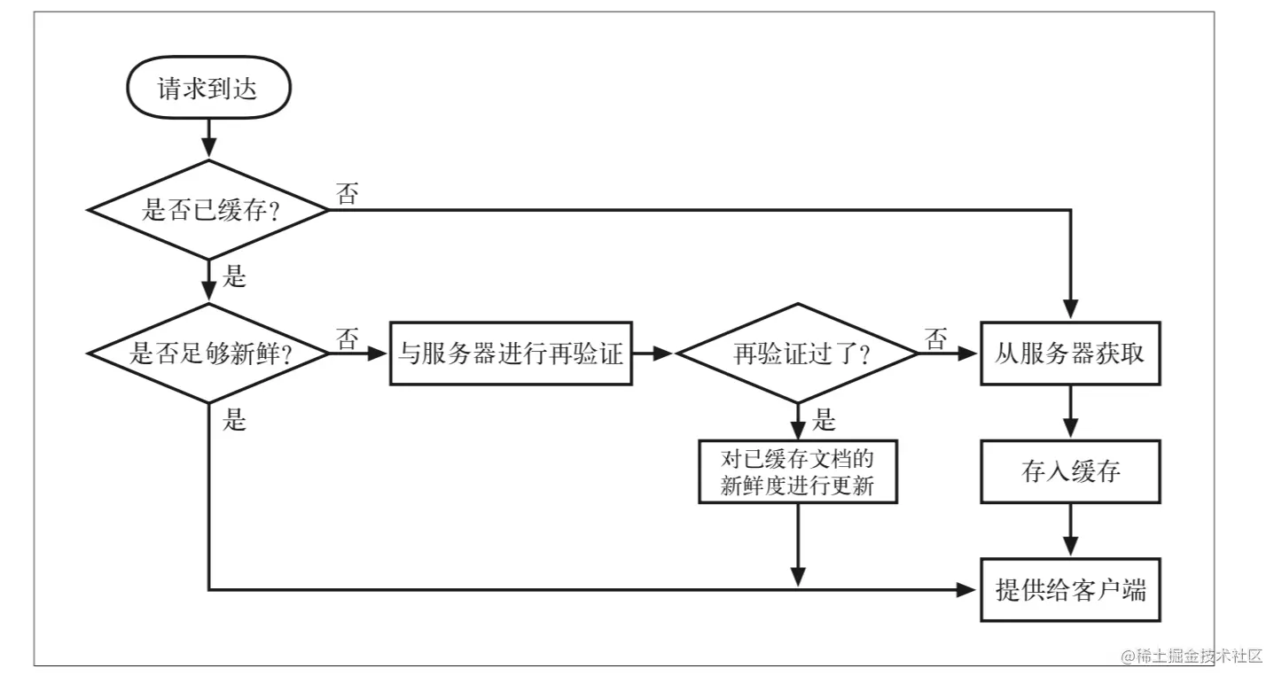
  • 缓存的处理流程 缓存的处理流程

from memory cache 和 from disk cache

memory

200 form memory cache : 不访问服务器,一般已经加载过该资源且缓存在了内存当中,直接从内存中读取缓存。浏览器关闭后,数据将不存在(资源被释放掉了),再次打开相同的页面时,不会出现 from memory cache。

disk

200 from disk cache: 不访问服务器,已经在之前的某个时间加载过该资源,直接从硬盘中读取缓存,关闭浏览器后,数据依然存在,此资源不会随着该页面的关闭而释放掉下次打开仍然会是 from disk cache。

优先访问 memory cache,其次是 disk cache,最后是请求网络资源

协商缓存: 向服务器发送请求,服务器会根据这个请求的 request header 的一些参数来判断是否命中协商缓存,如果命中,则返回 304 状态码并带上新的 response header 通知浏览器从缓存中读取资源;

强缓存和协商缓存的 header 参数

强缓存

  • Expires:过期时间,如果设置了时间,则浏览器会在设置的时间内直接读取缓存,不再请求

  • Cache-Control:当值设为 max-age=300 时,则代表在这个请求正确返回时间(浏览器也会记录下来)的 5 分钟内再次加载资源,就会命中强缓存。

  • cache-control:除了该字段外,还有下面几个比较常用的设置值:

    • max-age:用来设置资源(representations)可以被缓存多长时间,单位为秒;
    • s-maxage:和 max-age 是一样的,不过它只针对代理服务器缓存而言;
    • public:指示响应可被任何缓存区缓存;
    • private:只能针对个人用户,而不能被代理服务器缓存;
    • no-cache:强制客户端直接向服务器发送请求,也就是说每次请求都必须向服务器发送。服务器接收到 请求,然后判断资源是否变更,是则返回新内容,否则返回 304,未变更。这个很容易让人产生误解,使人误 以为是响应不被缓存。实际上 Cache-Control: no-cache 是会被缓存的,只不过每次在向客户端(浏览器)提供响应数据时,缓存都要向服务器评估缓存响应的有效性。
    • no-store:禁止一切缓存(这个才是响应不被缓存的意思)。
  • cache-control 是 http1.1 的头字段,expires 是 http1.0 的头字段,如果 expires 和 cache-control 同时存在,cache-control 会覆盖 expires,建议两个都写。

协商缓存

Last-Modifed/If-Modified-Since 和 Etag/If-None-Match 是分别成对出现的,呈一一对应关系

Etag/If-None-Match

Etag:是属于 HTTP 1.1 属性,它是由服务器(Apache 或者其他工具)生成返回给前端,用来帮助服务器控制 Web 端的缓存验证。 Apache 中,ETag 的值,默认是对文件的索引节(INode),大小(Size)和最后修改时间(MTime)进行 Hash 后得到的。

If-None-Match:当资源过期时,浏览器发现响应头里有 Etag,则再次像服务器请求时带上请求头 if-none-match(值是 Etag 的值)。服务器收到请求进行比对,决定返回 200 或 304

请求示意图

Last-Modifed/If-Modified-Since

Last-Modified:浏览器向服务器发送资源最后的修改时间

If-Modified-Since:当资源过期时(浏览器判断 Cache-Control 标识的 max-age 过期),发现响应头具有 Last-Modified 声明,则再次向服务器请求时带上头 if-modified-since,表示请求时间。服务器收到请求后发现有 if-modified-since 则与被请求资源的最后修改时间进行对比(Last-Modified),若最后修改时间较新(大),说明资源又被改过,则返回最新资源,HTTP 200 OK;若最后修改时间较旧(小),说明资源无新修改,响应 HTTP 304 走缓存。