超详细讲解深拷贝和浅拷贝

192 阅读8分钟

 

       深拷贝和浅拷贝是经常在面试中会出现的,主要考察你对基本类型和引用类型的理解深度。我在无数次的面试中,应聘者还没有一个人能把这个问题回答情况,包括很多机构的培训老师。这篇文章会让你把基本类型和引用类型的区别搞得清清楚楚,搞清楚这两者的区别,你对任何编程语言的都不怕,因为,这不是js一门语言,是任何编程语言中都需要掌握的知识,而且,在任何编程语言中,两者都是一样的。

 

深拷贝和浅拷贝主要是针对对象的属性是对象(引用类型)

一、基本类型和引用类型的区别

1、先了解内存

   任何编程语言的内存分区几乎都是一样的

 

       内存是存储数据的,不同类型的数据要存储在不同的区域,即分类存放,不同的区域作用和功能也不一样。就像你家里的衣柜一样,也分了不同的区域:如挂西装的区域,放袜子的区域等等,我相信每个人都会把这两个东西放在不同的区域。要不然,当你西装革履地参加一个高档的宴会,手塞在裤兜里,掏出来一只臭袜子,是不是很尴尬!!!哈哈!!!

 

以下为内存的分区图。内存分为四个区域:栈区(堆栈),堆区,全局静态区,只读区(常量区和代码区)。

 

https://blog.csdn.net/jiang7701037/article/details/98728249

 

    2、基本类型和引用类型在内存上存储的区别

现在只看栈区和堆区,不管其它区域,也假定只是局部变量。

 

以上函数testf在调用时,

       1)、 定义局部变量 age,由于age是局部变量,所以在栈中申请内存空间,起名为age,又由于给age赋的值250是基本类型,所以,值直接存储在栈中。

       2)、定义局部变量arr,由于arr是局部变量,所以在栈中申请空间,但是arr的内存中存储的是什么?由于给arr赋的值不是基本类型,而是引用类型(new出来的),所以,先在堆中申请空间存放数据 12,23,34,。再把堆区的地址赋给arr。

 

3、到底什么是基本类型和引用类型

      1)、基本类型:就是值类型,即在变量所对应的内存区域存储的是值,如:上面的age变量所对应的内存存储的就是值250.

      2)、引用类型:就是地址类型。

   何为地址:地址就是编号,要地址何用,就是为了容易找到。每个人的家里为什么要有一个唯一的地址,就是在邮寄时,能够找到你家。

比如:我们最早的超市存包的格子,每个格子都有个编号,你存包时,服务员会把你的东西放在某个格子里,再把这个格子的编号给你(一个牌子)。你购物完毕取包时,直接给服务员你的牌子(有编号),服务员根据你的编号就会找到你的包。这个编号就是格子的地址。内存也是一样的,每个内存都有一个编号,方便cpu查找。要不然,浩瀚的内存海洋,cpu要找到数据靠啥找。

以上的变量arr就是引用类型,arr所对应的内存中存储着地址,真正的数据是在地址对应的内存区域里,就像,你填写简历时,会在简历的那张纸上写上你家的地址。简历上写你家地址的地方就相当于arr。而你家是根据这个地址可以找到的。简历上写你家地址的地方就相当于引用着你家(可以想象一根无形的线牵引着你家,在简历上的这根无形的线,顺藤摸瓜就能找到你家)。所以叫做引用类型。

   二、基本类型和引用类型在赋值时内存的变化

你可以认为,赋值就是在拷贝。

1、基本类型:

2、引用类型:

 

如果给arr[0]赋值的话,arr1[0]的值也会发生变化,因为,arr和arr1保存着相同的地址,它门两个引用的数据是共享的。就像你在很多地方(简历的那张纸,户口本上的那张纸)会写上你的家庭地址。这么多张纸都引用着你家。根据一张纸上找到你家,给你家放上一百万的现金(数据改变了,相当于arr[0]=10),再根据另外一张纸的地址也找到了你家,你发现你一百万在(不要给我说被人拿了)

 

如果在上面的基础上增加一句代码:arr[0]=10;那么内存将会有如下变化:

​​

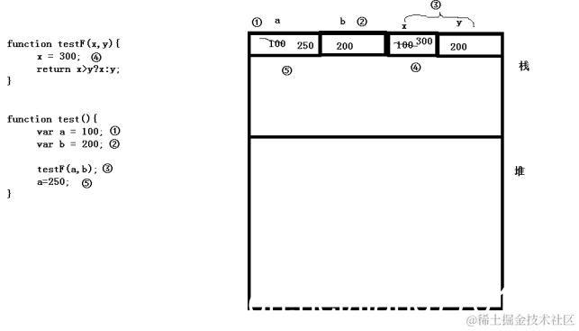
三、基本类型和引用类型作为函数参数的区别(这个可以不看)

1、基本类型作为函数的参数

2、引用类型作为函数的参数:

四、深拷贝和浅拷贝:

   终于说到了深拷贝和浅拷贝。

其实在第二点已经说到了拷贝,所谓拷贝,就是赋值。把一个变量赋给另外一个变量,就是把变量的内容进行拷贝。把一个对象的值赋给另外一个对象,就是把一个对象拷贝一份。

1、基本类没有问题,

因为,基本类型赋值时,赋的是数据(所以,不存在深拷贝和浅拷贝的问题)。

       如:

    Var x = 100;

    Var y = x; //此时x和y都是100;

   如果要改变y的值,x的值不会改变。

 

2、引用类型有问题

  因为,引用类型赋值时,赋的值地址(就是引用类型变量在内存中保存的内容),强烈建议把前面的第二点(基本类型和引用类型在赋值时内存的变化)多看几遍,以保证理解深刻。这样,一劳永逸,以后在碰到任何跟引用类型有关的话题(如:继承时,父类的属性是引用类型)都没有问题。

      如:

var arr1 = new Array(12,23,34)

Var arr2 = arr1;//这就是一个最简单的浅拷贝

 

如果要改变arr2所引用的数据:arr2[0]=100时,那么arr1[0]的值也是100。

        原因就是 arr1和arr2引用了同一块内存区域(以上的第二点中有体现)。

        

这是最简单的浅拷贝,因为,只是把arr1的地址拷贝的一份给了arr2,并没有把arr1的数据拷贝一份。所以,拷贝的深度不够

         

3、用json对象的方式(也是引用类型)来演示浅拷贝和深拷贝

   

1)、定义一个json对象(对象的属性也是对象)


 

   

    

   

   

    

     var p = {
    

   

   

    

   

   

    
	
     "id":
     "007",
    

   

   

    

   

   

    
	
     "name":
     "刘德华",
    

   

   

    

   

   

    
	
     "books":
     new 
     Array(
     "三国演义",
     "红楼梦",
     "水浒传")
     //这是引用类型
    

   

   

    

   

   

    

     }
    

   

 

 

内存图:

 

2)、把该对象p进行复制一份

  • (一)浅拷贝

 

   

    

   

   

    

     var p2 = {};
    

   

   

    

   

   

    

     for(
     let key 
     in p){
    

   

   

    

   

   

    

     	p2[key] = p[key];	
    

   

   

    

   

   

    

     }
    

   

   

    

   

   

    

     p2.books[
     0] =
     "四国";
    

   

   

    

   

   

    

     console.log(p2);
    

   

   

    

   

   

    

     console.log(p);
    

   

 

在控制台中打印的结果(p和p2的books[0]都变成了“四国”):

内存:

 

  • (二)深拷贝(初步)

 

   

    

   

   

    

     var p2 = {};
    

   

   

    

   

   

    

     for(
     let key 
     in p){
    

   

   

    

   

   

    
	
     if(
     typeof p[key]==
     'object'){
    

   

   

    

   

   

    

     		p2[key]=[];
     //因为,我上面写的是数组,所以,暂时赋值一个空数组.
    

   

   

    

   

   

    
		
     for(
     let i 
     in p[key]){
    

   

   

    

   

   

    

     			p2[key][i] = p[key][i]
    

   

   

    

   

   

    

     		}
    

   

   

    

   

   

    

     	}
     else{
    

   

   

    

   

   

    

     		p2[key] = p[key];
    

   

   

    

   

   

    

     	}
    

   

   

    

   

   

    

     }
    

   

   

    

   

   

    

     p2.books[
     0] =
     "四国";
    

   

   

    

   

   

    

     console.log(p2);
    

   

   

    

   

   

    

     console.log(p);
    

   

 

在控制台中打印的结果(只有p2的books[0]变成了“四国”)

内存:

 

  (三)深拷贝(最终)

3.1、深拷贝_如果属性都是json对象,那么用递归的方式

 

//如果对象的属性是对象(引用类型),属性的属性也是引用类型,即层层嵌套很多.怎么办,只能递归

//如下对象,要复制:


 

   

    

   

   

    

     var p = {
    

   

   

    

   

   

    
	
     "id":
     "007",
    

   

   

    

   

   

    
	
     "name":
     "刘德华",
    

   

   

    

   

   

    
	
     "wife":{
    

   

   

    

   

   

    
		
     "id":
     "008",
    

   

   

    

   

   

    
		
     "name":
     "刘德的妻子",
    

   

   

    

   

   

    
		
     "address":{
    

   

   

    

   

   

    
			
     "city":
     "北京",
    

   

   

    

   

   

    
			
     "area":
     "海淀区"
    

   

   

    

   

   

    

     		}
    

   

   

    

   

   

    

     	}
    

   

   

    

   

   

    

     }
    

   

   

    

   

   

    
 
    

   

   

    

   

   

    

     //写函数
    

   

   

    

   

   

    

     function copyObj(obj){
    

   

   

    

   

   

    
	
     let newObj={};
    

   

   

    

   

   

    
	
     for(
     let key 
     in obj){
    

   

   

    

   

   

    
		
     if(
     typeof obj[key] ==
     'object'){
     //如:key是wife,引用类型,那就递归
    

   

   

    

   

   

    

     			newObj[key] = copyObj(obj[key])
    

   

   

    

   

   

    

     		}
     else{
     //基本类型,直接赋值
    

   

   

    

   

   

    

     			newObj[key] = obj[key];
    

   

   

    

   

   

    

     		}
    

   

   

    

   

   

    

     	}
    

   

   

    

   

   

    
	
     return newObj;
    

   

   

    

   

   

    

     }
    

   

   

    

   

   

    
 
    

   

   

    

   

   

    

     let pNew = copyObj(p);
    

   

   

    

   

   

    

     pNew.wife.name=
     "张三疯";
    

   

   

    

   

   

    

     pNew.wife.address.city = 
     "香港";
    

   

   

    

   

   

    

     console.log(pNew);
    

   

   

    

   

   

    

     console.log(p);
    

   

 

 

3.2、深拷贝_如果属性是数组等非键值对的对象

      就得单独处理:要么给数组增加一个自我复制的函数(建议这样做),要么单独判断。


 

   

    

   

   

    

     //给数组对象增加一个方法,用来复制自己
    

   

   

    

   

   

    

     Array.prototype.copyself = 
     function(){
    

   

   

    

   

   

    
	
     let arr = 
     new 
     Array();
    

   

   

    

   

   

    
	
     for(
     let i 
     in 
     this){
    

   

   

    

   

   

    

     		arr[i]  = 
     this[i]
    

   

   

    

   

   

    

     	}
    

   

   

    

   

   

    
	
     return arr;
    

   

   

    

   

   

    

     }
    

   

   

    

   

   

    
 
    

   

   

    

   

   

    

     var p = {
    

   

   

    

   

   

    
	
     "id":
     "007",
    

   

   

    

   

   

    
	
     "name":
     "刘德华",
    

   

   

    

   

   

    
	
     "books":
     new 
     Array(
     "三国演义",
     "红楼梦",
     "水浒传")
     //这是引用类型
    

   

   

    

   

   

    

     }
    

   

   

    

   

   

    
 
    

   

   

    

   

   

    

     function copyObj(obj){
    

   

   

    

   

   

    
	
     let newObj={};
    

   

   

    

   

   

    
	
     for(
     let key 
     in obj){
    

   

   

    

   

   

    
		
     if(
     typeof obj[key] ==
     'object'){
     //如:key是wife,引用类型,那就递归
    

   

   

    

   

   

    

     			newObj[key] = obj[key].copyself();
    

   

   

    

   

   

    

     		}
     else{
     //基本类型,直接赋值
    

   

   

    

   

   

    

     			newObj[key] = obj[key];
    

   

   

    

   

   

    

     		}
    

   

   

    

   

   

    

     	}
    

   

   

    

   

   

    
	
     return newObj;
    

   

   

    

   

   

    

     }
    

   

   

    

   

   

    
 
    

   

   

    

   

   

    

     var pNew = copyObj(p);
    

   

   

    

   

   

    

     pNew.books[
     0] = 
     "四国";
    

   

   

    

   

   

    

     console.log(pNew);
    

   

   

    

   

   

    

     console.log(p);  
    

   

 

这篇文章竟然写了一上午,亲,请怀着感恩的心阅读

[原文链接](blog.csdn.net/jiang770103…)