基于Hexo的个人博客搭建,对接SpringBoot + Vue搭建后台

661 阅读1分钟

博客前台地址

博客前台

  • 前台基于Hexo生成的静态博客页面
  • 博客前台对接LeanCloud搭建文章评论系统
  • 页面中引入中国天气网天气插件以及一些特效插件
  • 博客音乐播放引入的是网易云音乐歌单
  • 评论系统引入了Valine的第三方邮件推送服务,评论时附上QQ邮箱可以自动获取用户QQ头像,同时可以接收作者回复邮件通知。

在这里插入图片描述

如果需要添加友情连接,请在留言区留言,格式如下:

# 格式如下:
博客名称
博客地址URL
博客头像地址URL(CDN加速)

# 例如:
ForageAhead
http://blog.csp1999.top/
http://q1.qlogo.cn/g?b=qq&nk=1165680007&s=100

在这里插入图片描述

博客后台

  • 博客后台后端使用SpringBoot + MyBatis搭建
  • 博客后台前端使用VueCli + ElementUI搭建
  • 数据库使用MySql
  • 登录校验使用JWT + Redis + Token
  • 评论统计使用Valine基于LeanCloud的第三方SDK
  • 博客后台部署在本地,可以实现文章,评论,用户的管理统计等功能

例如文章发布:
在这里插入图片描述

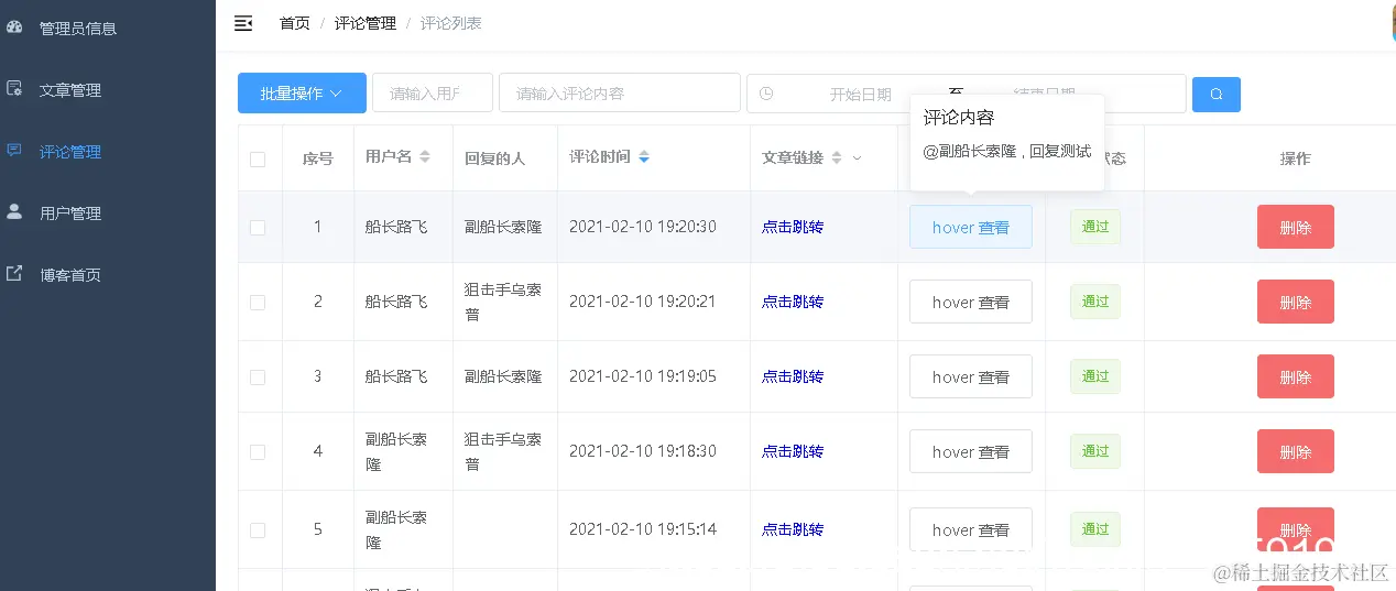
评论管理:
在这里插入图片描述

用户管理:
在这里插入图片描述