海量数据,企业靠什么实现创新与速度?

230 阅读11分钟

数据传输是企业与客户、合作伙伴、供应商之间开展业务的重要环节,是企业挖掘数据价值的基础。然而,**大数据时代的到来催生了海量数据,同时数据类型、交互场景也变得更加复杂,数据传输的效率、安全等方面备受挑战。**企业要想从数据中挖掘价值,创造机遇,首先要解决的是数据传输问题。

大数据传输挑战:

  • 数据量暴增,传输效率低下;
  • 数据类型多样,传统传输方式难以保障完整性;
  • 网络环境复杂,数据丢失、泄露问题日益增多;
  • 跨区域、远距离团队间工作增加,高延时、高丢包率情况凸显;

**解决以上问题的关键是找到优质的数据传输引擎。**这是企业构建高速、安全、稳定数据传输环境的重要支撑,也意味着企业可以在数据驱动发展中占据领先优势。

传统的传输方式TCP遭遇巨大瓶颈

实现数据传输的基础是传输协议,在众多传输协议中,TCP是最常用的IP传输层协议。相对于其他传输协议,TCP能提供更可靠的服务,用于在特定网络系统和应用程序之间建立连接。

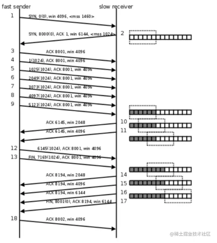
TCP是在1970年代初开发的,当时网络是本地的,数据文件很小,TCP充当了基础协议,使数据能够以非常小的带宽在局域网(LAN)上高效而可靠地移动。为了提供这种可靠性,TCP将确保在单个TCP连接中传输的应用程序数据以与发送时相同的顺序被传递到接收方的应用程序。为此,TCP使用一种算法来建立发送方和接收方之间的连接,依次创建传输请求,然后将数据拆分为小包,这些小包通过网络单独发送而无需确认,直到达到未确认包的定义限制为止(此操作被称为TCP滑动窗口)。

TCP滑动窗口可以看成定义在数据缓冲上的一个窗口。下图是简化的滑动窗口调节示意图,显示了TCP算法通过网络发送小数据包,以及TCP滑动窗口如何控制无需确认即可传输多少数据。随着数据包的延迟,TCP会以较小的窗口大小减慢传输速率,从而进一步限制了允许的未确认数据包的数量。

当数据移动发生在短距离上并且网络不拥塞时,TCP传输算法被证明是有效的。但是,当数据包传输的往返时间(RTT)不可避免地随着距离而增加时,性能和效率会受到影响。尤其是在远距离、跨国传输的场景下,大文件和海量小文件的传输让TCP协议弊端暴露无遗:

  • 传输效率低,端到端之间传输需要按顺序确认,数据处理慢;

  • 传输大文件时数据丢包率、延时增加;

  • 极端的拥塞控制节流,造成人为吞吐量损失;

  • TCP不是绝对可靠(重传)的,文件校验机制不够完善;

TCP协议本质上并不能提供真正意义上的可靠传输,尤其是在数据量和远距离的压力下,TCP协议不但无法保障传输效率,还会成为企业数据安全的风险窗口。

一种全新的技术raysync传输协议

Raysync超高速传输协议是深圳云语科技基于UDP传输协议自主研发的核心传输技术,这一突破性技术不是简单优化或加速数据传输,而是利用突破性传输技术彻底消除底层瓶颈,克服传统网络、硬件的限制,充分利用网络带宽,实现超低延时、高速、端到端的输出服务,传输速率提升近百倍,带宽利用率达96%以上,能够轻松满足TB级别大文件和海量小文件安全、可控、稳定的传输需求。

传输层:碾压TCP协议的黑科技

TCP传输协议在理想条件下可提供可靠的数据传递,但它存在着一个固有吞吐量瓶颈,随着远距离网络传输出现的数据包丢失及延迟增加,该瓶颈则变得更加突出且严重。

镭速传输以一种创新方法在应用层实现可靠性,消除了 TCP 的低效率、数据丢失、处理错误以及所导致的传输速率不稳定等障碍。为了保证 100% 的可靠性,镭速传输实施它的最佳机制,该机制可准确识别并转发传输通道上的真正数据包丢失情况。

应用层:全面超越FTP

FTP传输协议已经使用了40多年,但面对当今复杂的文件交换需求时,FTP文件传输效率远不及数据增长速度也是事实;在企业急需的文件管理功能上,FTP更显无力。

通过FTP实现文件传输和维护安全需要复杂的脚本、持续的维护,甚至需要其他的应用程序来辅助,所有的这些都可能对企业造成时间、金钱上不同程度的损失。

打破大文件传输瓶颈,避免数据孤岛难题,镭速传输通过Raysync超高速传输协议技术构建智能传输平台,能够以前所未有的速度处理和整合海量数据。

高速、安全、可控的大文件传输系统

镭速传输大文件传输系统搭载Raysync超高速传输协议,针对企业在大文件交互、跨平台协作中可以提供全方面支持,实现企业内、企业间的传输标准化。

镭速智能数据压缩、间歇传输技术也能够有效减轻网络负荷,优异的断点续传、数据校验技术确保数据传输稳定可靠,智能管理系统实现数据交互、同步、备份等企业业务需求。 高集成性能够实现快速集成到企业现有OA、ERP等系统,有效降低企业研发成本,实现各业务系统与操作系统平台间的数据文件联动,解决数据孤岛问题。

在不断精进文件传输加速技术的同时,镭速传输也将解决企业文件传输管理难题纳入全方位推动企业数据传输服务的范围,构建了一个智能的大文件传输系统:

  • 数据同步,安全备份

支持文件双向同步,保持多台设备间文件的一致性,无多余碎片化文件,多方数据高效同步;

  • 点对点传输,一步到位

采用便捷用户ID直传模式实现点对点传输,去除中间中转环节,快速实现文件共享;

  • 金融级安全加密技术

采用AES-256+SSL+随机盐高强度加密算法加密,即使开发人员也无法通过保存的密文恢复出源密码,数据安全保障无忧;

  • 审计日志规范操作

采用传输日志和操作日志方式监管用户行为,轻松追溯所有操作行为和文件内容,有效管控文件不当使用,协作企业精细化文件管理

  • 用户自定义管理

用户管理完美映射企业组织架构,支持划区域、部门、职权自定义模式分组管理,设置权限规范企业用户操作

  • 节点机智能管理

配备节点机管理,支持对内外网环境下所有节点机管理进行统一管理和监控,同步收集所有设备操作日志,轻松汇集所有数据

  • 混合云存储保障

镭速传输支持十余种主流存储方式,本地+云存储有效帮助企业文件存储、备份、迁移、同步等工作有序进行

……

丰富的行业服务经验

为了帮助更多企业克服大数据带来的传输挑战,镭速传输多年来专注于安全可控、性能卓越的大文件传输技术与解决方案,通过不断的技术创新与应用实践,服务于高端制造、科研、生命科学、影视媒体等众多行业和领域。例如:

影视行业

行业挑战:

影视制作多为企业内部和驻外机构分散多地的多人协同剪辑、创作,其中大体量的音频、视频、图片等影音内容需要上传、回传,庞大的数据量导致文件交互效率低,制作周期延迟严重影响制作效率。

镭速方案:

镭速传输为影视行业制定影音内容传输方案,通过Raysync超高速传输协议加速影音大数据内容的传输;智能优化网络带宽,有效降低跨国、超远距离传输的网络延时、丢包等影响;构建文件一键同步更新环境,确保所有成员获取最新的、完整的影音资料,帮助影视行业制作工作高效、顺利进行。

IT互联网行业

行业挑战:

海量数据需要在多个机房进行同步备份是互联网工作的日常。而大文件数据量巨大,传输服务与单台文件存储服务器的连接难题导致无法充分利用网络带宽,使用不稳定,数据迁移难。

镭速方案:

镭速传输应用智能分布式传输方案提升数倍的传输速度,优化网络带宽的使用;镭速数据迁移系统集群多机器并行传输,实现最大传输效率可达100Gbps;内置文件校验和传输加密技术,保障数据端到端的安全性、完整性和一致性,确保了整个迁移过程时间短,成功率100%,全程0故障。

金融行业

行业挑战:

许多金融服务机构通过分支发展壮大,但这也往往导致数据和应用环境碎片化。当“升级管理”成为业务发展的优先任务时,他们需要执行收集大量操作日志和数据整合的工作,以提升业务开展效率。

镭速方案:

镭速传输中央统一管理平台能够帮助金融企业快速进行操作日志收集、传输日志监控,用户分组管理、文件鉴权访问等工作,推动精细化管理的快速升级。同时,在文件传输安全管控上,全程设置AES-256+TLS加密算法重重加码,为金融行业制定相匹配的顶级安全防护。

医疗健康业

行业挑战:

数据孤岛问题长期以来困扰着医疗行业,潜在妨碍改善整体医疗健康服务质量的数据分析工作。同时,医疗行业的客户敏感数据,基因研究的海量数据相关的传输、存储难题严重困扰着医疗健康行业的发展。

镭速方案:

镭速传输大文件传输系统有助于统一各个孤岛和不同系统中的数据,为医疗健康提供方、研究人员和机构提供统一的数据集,便于他们收集、分析数据,为生命大数据交互加速。针对敏感数据的传输安全问题,镭速采用金融级安全防护及精细化文件管理,从数据本身和接触数据的用户两方着手安全工作。

**随着信息技术飞速发展,企业数据传输工作不再是一个简单的事情。**尤其是在这个复杂的市场环境中,企业选择数据传输工具不但要考虑传输技术是否足够强大,而且需要优质的服务保障。镭速传输作为一站式大文件传输解决方案提供商,拥有自主研发的Raysync核心传输技术与专业的技术团队,能够为各大企业提供高性能、安全、稳定的大文件传输工具和文件传输管理服务。

本文来源于镭速传输官网,镭速(Raysync)大文件传输软件,高速传输系统,提供ftp传输加速服务,企业级大文件传输协议,解决大数据传输,跨境传输,跨国大文件传输慢的问题,帮助企业提高传输效率。