再不解决延迟不当,小心你的内存被打爆

660 阅读2分钟

​​​​​​​​摘要:这是在具体代码中发现的不当延迟的问题,极端情况下可能把内存打爆。

本文分享自华为云社区《线程中不当使用延迟问题》,原文作者:技术火炬手 。

背景

这是在具体代码中发现的不当延迟的问题,极端情况下可能把内存打爆。

代码 DevLicenseServiceRoaDelegateImpl.java

定义:

使用:

signalRefreshHelp 定义

这段代码最大问题是使用延迟算法不当,在极端情况下会导致内存暴涨,严重影响服务程序的性能。

不要使用 sleep 来实现延迟

使用 sleep 实现延迟看起来非常直观,但是这个在高并发、多请求、长期运行的服务程序里必须特别小心。

这是因为衡量服务程序性能的一个非常重要的指标是 QPS,就是服务程序的处理能力,一般情况下越大越好;

服务程序的总并发能力等于每个线程的 qps;单个线程的 QPS = 1000 毫秒 / (处理一个请求的毫秒);

所以上面那个线程的 QPS <= 1000 / 10000 = 0.1 (因为线程 sleep 了 10000 毫秒)

这里的处理逻辑是错误的!也有很严重的性能隐患,不过幸好调用这个 api 请求不多,才没有导致严重问题。

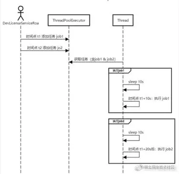
开发者的意图是在创建一个任务后,延迟 10s 执行该任务,处理时序图如下

假如时间点 t1 & t2 挨得很接近的话,线程在执行 job1 & job2 也是很接近。

但实际的情况变成:

就算创建 job1 & job2 的时间很接近,但 job2 执行的时间会比预期多了 10s;连续提交的任务越多,越容易堆积,这些堆积的任务存放在 blocking queue,一直到处理完毕才删除;如果这类请求很多的话,很容易引起内存爆掉。

解决方案

选择合适的数据结构,默认线程池关联的队列是 LinkedBlockingQueue ,没有延迟控制,可以使用 DelayQueue

DelayQueue 内部使用了 PriorityQueue 按时间排序;需要自己使用 Delayed 接口封装请求数据

下面是例子

测试代码,同时加入 3 个需要延迟 10s 的任务

测试结果:

符合预期

点击关注,第一时间了解华为云新鲜技术~