Redis源码、面试指南(3)对象系统、引用计数、有序集合

276 阅读25分钟

三、数据对象的实现

在前面,我们陆续介绍了 Redis 用到的所有主要数据结构。

Redis 并没有直接使用这些数据结构来实现键值对数据库,而是基于这些数据结构创建了一个对象系统,这个系统包含字符串对象、列表对象、哈希对象、集合对象和有序集合对象这五种类型的对象

对象类型及编码

源码文件:object.c

每次当我们在Redis的数据库中新创建一个键值对时,我们至少会创建两个对象,一个对象用作键值对的键(键对象),另一个对象用作键值对的值(值对象)

Redis中的每个对象都由一个redisObject结构表示:

typedef struct redisObject {
    // 对象类型
    unsigned type:4;
    // 底层编码
    unsigned encoding:4;
    // 对象最后一次被访问的时间(日后会说)
    unsigned lru:REDIS_LRU_BITS; /* lru time (relative to server.lruclock) */
    // 引用计数
    int refcount;
    // 指向实际存储单元的指针
    void *ptr;
} robj;

之前在介绍跳表时也给出过该定义,不过当时没有详细说,接下来我们来仔细看看。

  • 类型 该属性记录对象的类型,可选常量如下:
类型常量对象的名称
REDIS_STRING字符串对象
REDIS_LIST列表对象
REDIS_HASH哈希对象
REDIS_SET集合对象
REDIS_ZSET有序集合对象

注:对于Redis键值对来说,键总是字符串对象而值才是上述五种类型其中一种

  • 编码 对象的ptr指针指向对象的底层实现数据结构,而这些数据结构由对象的encoding属性决定。encoding属性记录了对象所使用的编码, 也即是说这个对象使用了什么数据结构作为对象的底层实现,可选的对象编码如下。
编码常量编码所对应的底层数据结构
REDIS_ENCODING_INTlong 类型的整数
REDIS_ENCODING_EMBSTRembstr 编码的简单动态字符串
REDIS_ENCODING_RAW简单动态字符串
REDIS_ENCODING_HT字典
REDIS_ENCODING_LINKEDLIST双端链表
REDIS_ENCODING_ZIPLIST压缩列表
REDIS_ENCODING_INTSET整数集合
REDIS_ENCODING_SKIPLIST跳跃表和字典

每种对象都至少可以使用两种不同的编码,见下图:

通过encoding属性来设定对象所使用的编码,而不是为特定类型的对象关联一种固定的编码,极大地提升了 Redis 的灵活性和效率,因为 Redis可以根据不同的使用场景来为一个对象设置不同的编码,从而优化对象在某一场景下的效率。

举个例子,在列表对象包含的元素比较少时,Redis使用压缩列表作为列表对象的底层实现:

1)因为压缩列表比双端链表更节约内存,并且在元素数量较少时,压缩列表更合适;

2)元素数量增多或者单个元素过大时,对象就会将底层实现从压缩列表转向功能更强、也更适合保存大量元素的双端链表上面;

  • 空转时长(lru):该属性记录了对象最后一次被访问的时间。该值在Redis的内存过期值淘汰时被用到。如果服务器用于回收内存的算法为 volatile-lru 或者 allkeys-lru ,那么当内存到上限值时,空转时长较高的那部分键对象会优先被服务器释放,从而回收内存。
  • 引用计数 Redis在自己的对象系统中构建了一个引用计数技术实现的内存回收机制,通过这一机制,程序可以通过跟踪对象的引用计数信息,在适当的时候自动释放对象并进行内存回收

对象的引用计数信息会随着对象的使用状态而不断变化:

创建一个新对象时, 引用计数的值会被初始化为1

当对象被一个新程序使用时,它的引用计数值会被增一

当对象不再被一个程序使用时它的引用计数值会被减一

当对象的引用计数值变为0时,对象所占用的内存会被释放

修改引用对象计数器有专门的API,如下:

img

对象的整个生命周期可以划分为创建对象操作对象释放对象三个阶段。释放之前最后调用的API即是decRefcount:

void decrRefCount(robj *o) {
    if (o->refcount <= 0) redisPanic("decrRefCount against refcount <= 0");
    // 释放对象
    if (o->refcount == 1) {
        switch(o->type) {
        case REDIS_STRING: freeStringObject(o); break;
        case REDIS_LIST: freeListObject(o); break;
        case REDIS_SET: freeSetObject(o); break;
        case REDIS_ZSET: freeZsetObject(o); break;
        case REDIS_HASH: freeHashObject(o); break;
        default: redisPanic("Unknown object type"); break;
        }
        zfree(o);
    // 减少计数
    } else {
        o->refcount--;
    }
}
  • ptr,该指针指向实际存储的数据单元。

对象的引用计数属性带有**对象共享(只对整数值)**的作用。

举个例子,假设键A创建了一个包含整数值100的字符串对象作为值对象:

img

如果这时键B也要创建一个同样保存了整数值100的字符串对象作为值对象,那么服务器有以下两种做法

·为键 B 新创建一个包含整数值100的字符串对象;

·让键 A 和键 B 共享同一个字符串对象;

以上两种方法很明显是第二种方法更节约内存

在 Redis 中,让多个键共享同一个值对象需要执行以下两个步骤:

·将数据库键的值指针指向一个现有的值对象;

·将被共享的值对象的引用计数增一。

如果键A和键B指向同一对象,现如今的情况如下:

img

共享对象机制对于节约内存非常有帮助,数据库中保存的相同值对象越多,对象共享机制就能节约越多的内存

Redis会在初始化服务器时,创建一万个字符串对象,这些对象包含了从0到9999的所有整数值,当服务器需要用到值为0到9999的字符串对象时,服务器就会使用这些共享对象,而不是新创建对象。

为什么共享对象只对整数值,而不共享包含字符串的对象呢?

因为需要有一个验证时间!只有当共享目标和想要建立的键一样时,才会共享,于是整数只需要O(1),字符串需要O(n),列表或hash则需要O(n^2),这将造成CPU资源浪费

字符串对象

源码文件:t_string.c。

字符串对象是Redis数据库所有键值对的根本,因为键都是字符串对象。如下是Redis中string对象SET、SETEX等命令的底层API:

void setGenericCommand(redisClient *c, int flags, robj *key, robj *val, robj *expire, int unit, robj *ok_reply, robj *abort_reply) {
    long long milliseconds = 0; /* initialized to avoid any harmness warning */
    // 取出过期时间
    if (expire) {
        // 取出 expire 参数的值
        // T = O(N)
        if (getLongLongFromObjectOrReply(c, expire, &milliseconds, NULL) != REDIS_OK)
            return;

        // expire 参数的值不正确时报错
        if (milliseconds <= 0) {
            addReplyError(c,"invalid expire time in SETEX");
            return;
        }
        // 不论输入的过期时间是秒还是毫秒
        // Redis 实际都以毫秒的形式保存过期时间
        // 如果输入的过期时间为秒,那么将它转换为毫秒
        if (unit == UNIT_SECONDS) milliseconds *= 1000;
    }
    // 如果设置了 NX 或者 XX 参数,那么检查条件是否不符合这两个设置
    // 在条件不符合时报错,报错的内容由 abort_reply 参数决定
    if ((flags & REDIS_SET_NX && lookupKeyWrite(c->db,key) != NULL) ||
        (flags & REDIS_SET_XX && lookupKeyWrite(c->db,key) == NULL))
    {
        addReply(c, abort_reply ? abort_reply : shared.nullbulk);
        return;
    }
    // 将键值关联到数据库
    setKey(c->db,key,val);
    // 将数据库设为脏
    server.dirty++;
    // 为键设置过期时间
    if (expire) setExpire(c->db,key,mstime()+milliseconds);
    // 发送事件通知
    notifyKeyspaceEvent(REDIS_NOTIFY_STRING,"set",key,c->db->id);
    // 发送事件通知
    if (expire) notifyKeyspaceEvent(REDIS_NOTIFY_GENERIC,
        "expire",key,c->db->id);
    // 设置成功,向客户端发送回复
    // 回复的内容由 ok_reply 决定
    addReply(c, ok_reply ? ok_reply : shared.ok);
}

字符串对象的编码可以是int、raw、embstr

  • int编码,如果字符串对象的整数值可以被long类型表示,那么该整数值会被保存在ptr指针中编码格式跟实际参数类型不一样);
  • raw编码,如果字符串对象保存的是字符串,且大于39字节,那就使用SDS字符串保存;
  • embstr编码,如果该保存的字符串小于等于39字节,就用embstr格式保存。embstr是专门用来保存短字符串的一种优化编码方式,跟raw的区别在于,它只需要调用一次内存分配一块连续的内存空间,依次包含redisObject和sdshdr,而raw是分别调用两次内存分配来存放redisObject和sdshdr,embstr编码时实例如下图:

img

这样做有什么好处呢?

  1. embstr 编码将创建字符串对象所需的内存分配次数从 raw 编码的两次降低为一次
  2. 释放embstr编码的字符串对象只需要调用一次内存释放函数,而释放raw编码的字符串对象需要调用两次内存释放函数。
  3. 因为embstr编码的字符串对象的所有数据都保存在一块连续的内存里面,所以这种编码的字符串对象比起raw编码的字符串对象能够更好地利用缓存带来的优势。

若利用命令set msg “hello”,其值对象如下图所示:

img

值得注意,long double类型的浮点数在Redis中也是作为字符串来保存的,比如6.666,那么会将其转换为字符串保存。在需要用到该浮点数的时候又会先将其从字符串转成浮点数再计算。

编码转换

int/embstr在特定的情况下会转换为raw编码的对象,且不可逆。

  • int编码的对象执行命令之后变成了字符串值,那就将从int转换为raw;
  • Redis没有为embstr编码的字符串对象编写任何相应的修改程序 (只有int编码的字符串对象和raw编码的字符串对象有这些程序),embstr编码的字符串对象实际上是只读的:当我们对embstr编码的字符串对象执行任何修改命令时,程序会先将对象的编码从embstr转换成raw,然后再执行修改命令;因为这个原因,embstr编码的字符串对象在执行修改命令之后,总会变成一个raw编码的字符串对象

注:Redis常用的字符串对象命令

命令int 编码的实现方法embstr 编码的实现方法raw 编码的实现方法
SET使用 int 编码保存值。使用 embstr 编码保存值。使用 raw 编码保存值。
GET拷贝对象所保存的整数值, 将这个拷贝转换成字符串值, 然后向客户端返回这个字符串值。直接向客户端返回字符串值。直接向客户端返回字符串值。
APPEND将对象转换成 raw 编码, 然后按raw 编码的方式执行此操作。将对象转换成 raw 编码, 然后按raw 编码的方式执行此操作。调用 sdscatlen 函数, 将给定字符串追加到现有字符串的末尾。
INCRBYFLOAT取出整数值并将其转换成 longdouble 类型的浮点数, 对这个浮点数进行加法计算, 然后将得出的浮点数结果保存起来。取出字符串值并尝试将其转换成long double 类型的浮点数, 对这个浮点数进行加法计算, 然后将得出的浮点数结果保存起来。 如果字符串值不能被转换成浮点数, 那么向客户端返回一个错误。取出字符串值并尝试将其转换成 longdouble 类型的浮点数, 对这个浮点数进行加法计算, 然后将得出的浮点数结果保存起来。 如果字符串值不能被转换成浮点数, 那么向客户端返回一个错误。
INCRBY对整数值进行加法计算, 得出的计算结果会作为整数被保存起来。embstr 编码不能执行此命令, 向客户端返回一个错误。raw 编码不能执行此命令, 向客户端返回一个错误。
DECRBY对整数值进行减法计算, 得出的计算结果会作为整数被保存起来。embstr 编码不能执行此命令, 向客户端返回一个错误。raw 编码不能执行此命令, 向客户端返回一个错误。
STRLEN拷贝对象所保存的整数值, 将这个拷贝转换成字符串值, 计算并返回这个字符串值的长度。调用 sdslen 函数, 返回字符串的长度。调用 sdslen 函数, 返回字符串的长度。
SETRANGE将对象转换成 raw 编码, 然后按raw 编码的方式执行此命令。将对象转换成 raw 编码, 然后按raw 编码的方式执行此命令。将字符串特定索引上的值设置为给定的字符。
GETRANGE拷贝对象所保存的整数值, 将这个拷贝转换成字符串值, 然后取出并返回字符串指定索引上的字符。直接取出并返回字符串指定索引上的字符。直接取出并返回字符串指定索引上的字符。

列表对象

源码文件:t_list.c。

其底层编码是ziplist或linkedlist

  • ziplist编码,底层是压缩列表,每个entry保存一个列表项,有两个条件:列表对象保存的所有字符串元素的长度都小于 64 字节;列表对象保存的元素数量小于 512 个

下图是一个ziplist编码的实例:

img

两个条件的任意一个不能被满足时,**对象的编码转换操作就会被执行,**从ziplist转为linkedlist。转换过程见该函数:

void listTypeConvert(robj *subject, int enc) {
    listTypeIterator *li;
    listTypeEntry entry;
    redisAssertWithInfo(NULL,subject,subject->type == REDIS_LIST);
    // 转换成双端链表
    if (enc == REDIS_ENCODING_LINKEDLIST) {
        list *l = listCreate();
        listSetFreeMethod(l,decrRefCountVoid);
        // 遍历 ziplist ,并将里面的值全部添加到双端链表中
        li = listTypeInitIterator(subject,0,REDIS_TAIL);
        while (listTypeNext(li,&entry)) listAddNodeTail(l,listTypeGet(&entry));
        listTypeReleaseIterator(li);
        // 更新编码
        subject->encoding = REDIS_ENCODING_LINKEDLIST;
        // 释放原来的 ziplist
        zfree(subject->ptr);
        // 更新对象值指针
        subject->ptr = l;
    } else {
        redisPanic("Unsupported list conversion");
    }
}
  • linkedlist编码,底层是双端链表来保存SDS字符串对象;

下图是一个双端链表编码的实例:

img

注:字符串对象是 Redis 五种类型的对象中唯一一种会被其他四种类型对象嵌套的对象

注:常用命令如下:

命令ziplist 编码的实现方法linkedlist 编码的实现方法
LPUSH调用 ziplistPush 函数, 将新元素推入到压缩列表的表头。调用 listAddNodeHead 函数, 将新元素推入到双端链表的表头。
RPUSH调用 ziplistPush 函数, 将新元素推入到压缩列表的表尾。调用 listAddNodeTail 函数, 将新元素推入到双端链表的表尾。
LPOP调用 ziplistIndex 函数定位压缩列表的表头节点, 在向用户返回节点所保存的元素之后, 调用ziplistDelete 函数删除表头节点。调用 listFirst 函数定位双端链表的表头节点, 在向用户返回节点所保存的元素之后, 调用 listDelNode 函数删除表头节点。
RPOP调用 ziplistIndex 函数定位压缩列表的表尾节点, 在向用户返回节点所保存的元素之后, 调用ziplistDelete 函数删除表尾节点。调用 listLast 函数定位双端链表的表尾节点, 在向用户返回节点所保存的元素之后, 调用 listDelNode 函数删除表尾节点。
LINDEX调用 ziplistIndex 函数定位压缩列表中的指定节点, 然后返回节点所保存的元素。调用 listIndex 函数定位双端链表中的指定节点, 然后返回节点所保存的元素。
LLEN调用 ziplistLen 函数返回压缩列表的长度。调用 listLength 函数返回双端链表的长度。
LINSERT插入新节点到压缩列表的表头或者表尾时, 使用ziplistPush 函数; 插入新节点到压缩列表的其他位置时, 使用 ziplistInsert 函数。调用 listInsertNode 函数, 将新节点插入到双端链表的指定位置。
LREM遍历压缩列表节点, 并调用 ziplistDelete 函数删除包含了给定元素的节点。遍历双端链表节点, 并调用 listDelNode 函数删除包含了给定元素的节点。
LTRIM调用 ziplistDeleteRange 函数, 删除压缩列表中所有不在指定索引范围内的节点。遍历双端链表节点, 并调用 listDelNode 函数删除链表中所有不在指定索引范围内的节点。
LSET调用 ziplistDelete 函数, 先删除压缩列表指定索引上的现有节点, 然后调用 ziplistInsert 函数, 将一个包含给定元素的新节点插入到相同索引上面。调用 listIndex 函数, 定位到双端链表指定索引上的节点, 然后通过赋值操作更新节点的值。

哈希对象

源码文件t_hash.c。

编码是ziplist或者hashtable。

  • ziplist编码,底层是压缩列表,有两个条件,哈希对象保存的所有键值对的键和值的字符串长度都小于 64 字节;哈希对象保存的键值对数量小于 512 个

    每当有新的键值对要加入到哈希对象时,保存了同一键值对的两个节点总是紧挨在一起,保存键的节点在前,保存值的节点在后;且这些键值对遵循先来后到的原则。

注:在使用ziplist编码的时候,获取键对应值的时间复杂度不是O(1),而是O(N^2)(先遍历键,在遍历值是否相等)!但由于使用ziplist的时候,长度和键的长度较小,对性能影响不是很大。

  • hashtable编码,当不满足上述的两个条件时,就使用字典作为底层实现。哈希对象中的每个键值对都使用一个字典键值对来保存:字典的每个键和值都是一个字符串对象

以下是一个以字典为底层的哈希对象实例:

img

注:当ziplist不满足两个条件其中之一时,原本保存在压缩列表里的所有键值对都会被转移并保存到字典里面。

注:常用命令

命令ziplist 编码实现方法hashtable 编码的实现方法
HSET首先调用 ziplistPush 函数, 将键推入到压缩列表的表尾, 然后再次调用 ziplistPush 函数, 将值推入到压缩列表的表尾。调用 dictAdd 函数, 将新节点添加到字典里面。
HGET首先调用 ziplistFind 函数, 在压缩列表中查找指定键所对应的节点, 然后调用 ziplistNext 函数, 将指针移动到键节点旁边的值节点, 最后返回值节点。调用 dictFind 函数, 在字典中查找给定键, 然后调用dictGetVal 函数, 返回该键所对应的值。
HEXISTS调用 ziplistFind 函数, 在压缩列表中查找指定键所对应的节点, 如果找到的话说明键值对存在, 没找到的话就说明键值对不存在。调用 dictFind 函数, 在字典中查找给定键, 如果找到的话说明键值对存在, 没找到的话就说明键值对不存在。
HDEL调用 ziplistFind 函数, 在压缩列表中查找指定键所对应的节点, 然后将相应的键节点、 以及键节点旁边的值节点都删除掉。调用 dictDelete 函数, 将指定键所对应的键值对从字典中删除掉。
HLEN调用 ziplistLen 函数, 取得压缩列表包含节点的总数量, 将这个数量除以 2 , 得出的结果就是压缩列表保存的键值对的数量。调用 dictSize 函数, 返回字典包含的键值对数量, 这个数量就是哈希对象包含的键值对数量。
HGETALL遍历整个压缩列表, 用 ziplistGet 函数返回所有键和值(都是节点)。遍历整个字典, 用 dictGetKey 函数返回字典的键, 用dictGetVal 函数返回字典的值。

集合对象

源码问阿金t_set.c。

集合对象的编码可以是intset或者hashtable

  • intset编码,使用整数集合作为集合对象的实现,有两个条件:集合对象保存的所有元素都是整数值;集合对象保存的元素数量不超过512个

集合对象包含的所有元素都被保存在整数集合里面,见下:

img

  • hashtable编码,当intset编码的两个条件不满足时,使用字典作为底层实现,字典的每个键都是一个字符串对象,每个字符串对象包含了一个集合元素,而字典的值则全部被设置为 NULL(因为没有没有键就代表了值)

注:常用命令

命令intset 编码的实现方法hashtable 编码的实现方法
SADD调用 intsetAdd 函数, 将所有新元素添加到整数集合里面。调用 dictAdd , 以新元素为键, NULL 为值, 将键值对添加到字典里面。
SCARD调用 intsetLen 函数, 返回整数集合所包含的元素数量, 这个数量就是集合对象所包含的元素数量。调用 dictSize 函数, 返回字典所包含的键值对数量, 这个数量就是集合对象所包含的元素数量。
SISMEMBER调用 intsetFind 函数, 在整数集合中查找给定的元素, 如果找到了说明元素存在于集合, 没找到则说明元素不存在于集合。调用 dictFind 函数, 在字典的键中查找给定的元素, 如果找到了说明元素存在于集合, 没找到则说明元素不存在于集合。
SMEMBERS遍历整个整数集合, 使用 intsetGet 函数返回集合元素。遍历整个字典, 使用 dictGetKey 函数返回字典的键作为集合元素。
SRANDMEMBER调用 intsetRandom 函数, 从整数集合中随机返回一个元素。调用 dictGetRandomKey 函数, 从字典中随机返回一个字典键。
SPOP调用 intsetRandom 函数, 从整数集合中随机取出一个元素, 在将这个随机元素返回给客户端之后, 调用 intsetRemove 函数, 将随机元素从整数集合中删除掉。调用 dictGetRandomKey 函数, 从字典中随机取出一个字典键, 在将这个随机字典键的值返回给客户端之后, 调用dictDelete 函数, 从字典中删除随机字典键所对应的键值对。
SREM调用 intsetRemove 函数, 从整数集合中删除所有给定的元素。调用 dictDelete 函数, 从字典中删除所有键为给定元素的键值对。

有序集合对象

源码文件t_zset.c。

有序集合的编码可以是ziplist和skiplist

  • ziplist 编码,使用压缩列表作为底层实现有两个条件:有序集合保存的元素数量小于 128 个;有序集合保存的所有元素成员的长度都小于 64 字节

注:ziplist为了保证有序性,每次插入删除操作时,都可能需要对其中的数据进行移动。

每个集合元素使用两个紧挨在一起的压缩列表节点来保存,第一个节点保存元素的成员,而第二个元素则保存元素的分值(score)(排序)

img

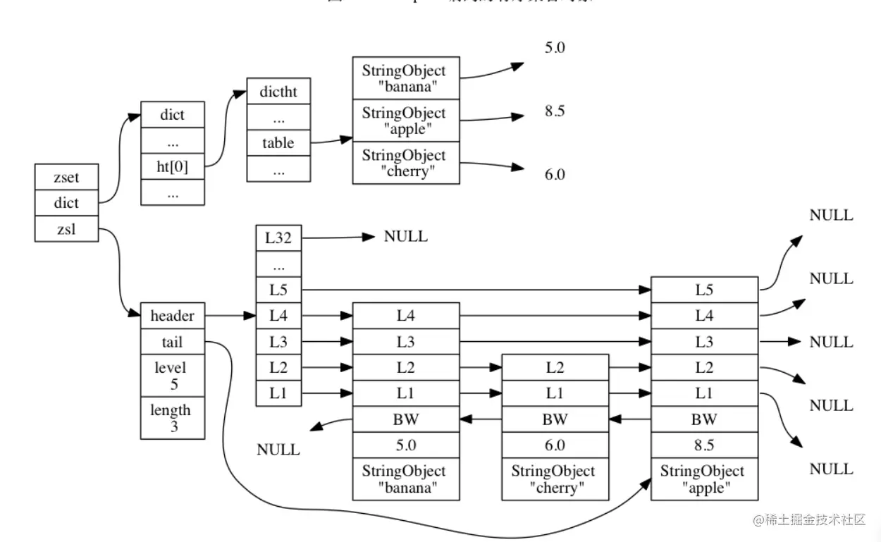
  • skiplist 编码,不满足上述条件时的有序集合对象使用zset 结构作为底层实现,一个zset结构同时包含一个字典和一个跳跃表
typedef struct zset {
    zskiplist *zsl;
    dict *dict;
} zset;

img

img

zset结构中的跳跃表按分值从小到大保存了所有集合元素,每个跳跃表节点都保存了一个集合元素:跳跃表节点的 object 属性保存了元素的成员,而跳跃表节点的 score 属性则保存了元素的分值。 通过这个跳跃表, 程序可以对有序集合进行范围型操作,比如 ZRANK 、ZRANGE 等命令就是基于跳跃表 API 来实现的

除此之外,zset结构中的dict字典为有序集合创建了一个从成员到分值的映射,字典中的每个键值对都保存了一个集合元素:字典的键保存了元素的成员,而字典的值则保存了元素的分值。通过这个字典,程序可以用O(1)复杂度查找给定成员的分值,ZSCORE命令就是根据这一特性实现的,而很多其他有序集合命令都在实现的内部用到了这一特性

有序集合每个元素的成员都是一个字符串对象,而每个元素的分值都是一个 double 类型的浮点数。 值得一提的是,虽然zset结构同时使用跳跃表和字典来保存有序集合元素,但这两种数据结构都会通过指针来共享相同元素的成员和分值,所以同时使用跳跃表和字典来保存集合元素不会产生任何重复成员或者分值,也不会因此而浪费额外的内存。

为什么需要这么做呢?

在理论上来说,有序集合可以单独使用字典或者跳跃表的其中一种数据结构来实现,但无论单独使用字典还是跳跃表,在性能上对比起同时使用字典和跳跃表都会有所降低

举个例子,如果我们只使用字典来实现有序集合,那么虽然以O(1)复杂度查找成员的分值这一特性会被保留,但是,因为字典以无序的方式来保存集合元素,所以每次在执行范围型操作一一一比如ZRANK、ZRANG等命令时,程序都需要对字典保存的所有元素进行排序完成这种排序需要至少O(NlogN)时间复杂度以及额外的O(N)内存空间(因为要创建一个数组来保存排序后的元素)

另一方面,如果我们只使用跳跃表来实现有序集合,那么跳跃表执行范围型操作的所有优点都会被保留,但因为没有了字典,所以根据成员查找分值这一操作的复杂度将上升到到O(logn)

因为以上原因,为了让有序集合的查找和范围型操作都尽可能快地执行,Redis选择了同时使用字典和跳跃表两种数据结构来实现有序集合。

注:常用命令

命令ziplist 编码的实现方法zset 编码的实现方法
ZADD调用 ziplistInsert 函数, 将成员和分值作为两个节点分别插入到压缩列表。先调用 zslInsert 函数, 将新元素添加到跳跃表, 然后调用 dictAdd 函数, 将新元素关联到字典。
ZCARD调用 ziplistLen 函数, 获得压缩列表包含节点的数量, 将这个数量除以 2 得出集合元素的数量。访问跳跃表数据结构的 length 属性, 直接返回集合元素的数量。
ZCOUNT遍历压缩列表, 统计分值在给定范围内的节点的数量。遍历跳跃表, 统计分值在给定范围内的节点的数量。
ZRANGE从表头向表尾遍历压缩列表, 返回给定索引范围内的所有元素。从表头向表尾遍历跳跃表, 返回给定索引范围内的所有元素。
ZREVRANGE从表尾向表头遍历压缩列表, 返回给定索引范围内的所有元素。从表尾向表头遍历跳跃表, 返回给定索引范围内的所有元素。
ZRANK从表头向表尾遍历压缩列表, 查找给定的成员, 沿途记录经过节点的数量, 当找到给定成员之后, 途经节点的数量就是该成员所对应元素的排名。从表头向表尾遍历跳跃表, 查找给定的成员, 沿途记录经过节点的数量, 当找到给定成员之后, 途经节点的数量就是该成员所对应元素的排名。
ZREVRANK从表尾向表头遍历压缩列表, 查找给定的成员, 沿途记录经过节点的数量, 当找到给定成员之后, 途经节点的数量就是该成员所对应元素的排名。从表尾向表头遍历跳跃表, 查找给定的成员, 沿途记录经过节点的数量, 当找到给定成员之后, 途经节点的数量就是该成员所对应元素的排名。
ZREM遍历压缩列表, 删除所有包含给定成员的节点, 以及被删除成员节点旁边的分值节点。遍历跳跃表, 删除所有包含了给定成员的跳跃表节点。 并在字典中解除被删除元素的成员和分值的关联。
ZSCORE遍历压缩列表, 查找包含了给定成员的节点, 然后取出成员节点旁边的分值节点保存的元素分值。直接从字典中取出给定成员的分值。

Hyperloglog对象

源码文件:hyperloglog.c。

建议直接参考:

blog.csdn.net/qq_39885372…

类型检查和多态

Redis中用于操作键的命令基本分为两种,一种是键共有操作,比如说DEL命令、EXPIRE命令、RENAME命令、TYPE 命令、OBJECT命令等。另一种是键特定操作,如SET、GET、APPEND、STRLEN等命令只能对字符串键执行。

类型检查

在执行一个类型特定的命令之前, Redis 会先检查输入键的类型是否正确, 然后再决定是否执行给定的命令。通过 redisObject 结构的 type 属性来实现的:

img

多态命令

这里指的是同一个对象一般具有两种编码方式,比如hash对象是hashtable和ziplist,那么执行命令的时候是怎么确定的呢?也是根据其对象的编码格式来的:

img

文章链接

Redis源码、面试指南(1)跳跃表Skiplist、SDS、字典、Hyperloglog、 #掘金文章# juejin.cn/post/694944…

Redis源码、面试指南(2)整数集合、压缩列表 #掘金文章# juejin.cn/post/694955…