使用 Scala 和 Akka-Stream 打造一个完全响应式广告服务系统

avatar
HR @Tubi

当用户第一次发现 Tubi 在免费提供一些由专业工作室出品的高质量影视剧时,他们会马上产生一个疑问:“这种模式合法吗?”;紧接着,难免可能又会冒出另一个问题:“但是你们怎么赚钱呢?” “领导,我们卖广告!”[1] 事实上,Tubi 从诞生的那一天起,就已经产生稳健的营收,因此我们的成长和运营无需依赖外部风投。

赚钱的秘密就是我们拥有自己的广告服务系统,一个从公司诞生之时就在运行的产品。最开始,我们的广告系统是用 PHP 写的,使用 MySQL 和 Memcached 作为后端存储。虽然这个 PHP 写的系统意外地非常稳定而且性能还不错,但是给它添加新功能非常费劲。当这个系统的架构粗旷地演进了五年时,我们已经非常难理清楚它的一些内部机制是怎样工作的。更糟糕的是,公司里精通 PHP 的同事寥寥无几。所以,我们决定重构该系统,并达到以下目标:

  • 清除长年累月积累下来的技术债务

  • 支持更加优越的投放控制、竞价策略

  • 给我们的广告运营团队提供更好的监控和调试工具

  • 提高测试的覆盖率

我们选择了 Scala 和 Akka 作为新的技术栈主要是出于两方面的因素考虑:通过 Akka Stream 构建高吞吐量的数据分析流水线,和使用 Akka Actors 建立的低延迟机器学习服务基础设施,我们已经积累了很多关于 Akka 框架的经验;与此同时,我们也在 Spark 相关的机器学习项目上广泛地使用了 Scala 技术栈。

我们决定把整个广告业务建模为一个响应式流(Reactive Streams),把状态保存到 Actor 里面。如果你想了解我们这个选择背后的原因,可以先了解一下,一个典型的广告请求是怎样工作的:在用户观看视频的时候,有很多候选的广告植入时间点(我们通过计算机视觉算法,在我们处理原始视频的时候就可以自动选定)。当用户播放视频到这些时间点的前几秒钟,播放器会向我们的广告服务器发送请求,询问是否要插入广告。广告服务器有小于 1 秒钟的时间去执行这个请求。如果要,那么它还要执行一个多流程操作,才能返回需要的广告内容。

作为该系列文章的第一篇,本文主要介绍从广告服务器接收到请求,到鉴别哪些广告活动组(Campaign)符合条件这一过程。在后续文章中,我们会探究如何从每个广告活动组中获得出价信息,以及我们是怎样评判各个出价的。

**第一步:**请求的解析和校验

由于整个请求/响应的生命周期是使用流式建模的,所以我们将整个广告活动组(Campaign)⇒ 订单项(Line Item)⇒ 广告素材(Creative)体系扁平化处理为一个个单独的广告素材单元(若把整个层级结构看作一棵树,那么我们现在以叶子结点(也就是广告素材)作为最小单元进行后续处理)。对于每个广告素材单元,他们都会在整个流上面一一被处理,一个简化后的流程图如下:

图片

上图中的每个处理阶段都有一个单独的图(Graph,Akka-Stream 的一种数据结构,描述一个程序流)。每个 Graph 都是可以被独立地编写、推理和测试。Akka-Stream 同时提供了一套完备的思维模型去并发推理和提供开箱即用的背压(backpressure)功能。

鉴于广告平台团队已经应用了 Akka 全套技术栈,再使用 Akka-Http 作为我们 Web 服务的框架就显得很合情合理:请求的解析、校验,以及指标监控工具都是自带的了。在处理的第一步,我们使用 Akka 定制的路由 DSL(Routing DSL),当然也包括我们自己定制的一些 DSL,去进行全方位的请求参数校验。进行校验的这个工作使我们增益颇多,这样我们在部署生产环境前,能够在开发或者是在测试环境中发现客户端 Bug。

第二步请求的润色


为了顺利处理每个广告请求,我们都需要调用多个服务,加载与之相关的元信息。在 Tubi,我们使用 gRPC 作为服务之间调用的标准方法。再加上,在我们的 Akka 集群中,我们对每个用户都建立一个 Actor 进行元信息的管理。每个用户 Actor 保留着最近 30 天的广告观看历史,这样我们可以对用户观看广告进行有效的频率控制:既不会让用户淹没在没完没了的广告中,也不会让用户频繁地重复多次观看同一个广告。

图片

上图展示了,我们放射式地进行异步 IO 请求,然后把请求的结果合并,最后传递给后面的独立步骤。接下来的步骤就可以判断我们是不是要向用户展示广告,如果是,要展示多少广告。每一个这样的操作,都有他们自己的流(Flow,Akka-Stream 的一种数据结构,是 Graph 的一种特殊形式,描述一个程序流)。在所有流被合并成为整体的图之前,每个流都可以被单独地编写和测试。

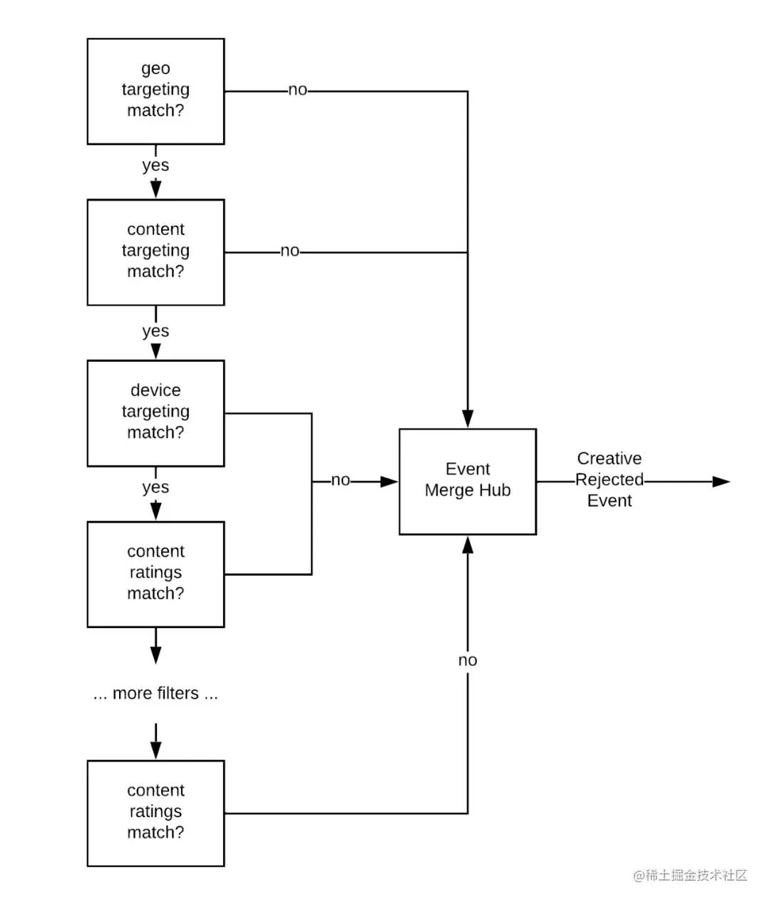
第三步广告过滤和精准投放


当我们整理了所有必要的元信息,如果我们要继续处理这个广告请求,就需要先经过一系列的条件过滤并判定它是否符合精准投放的需求。同理,这个流程也是使用图(Graph)进行建模的:每个广告素材单元都会在流水线上被一一判定:如果判断为不符合条件,则自动生成一个日志事件,我们会把这些日志事件保存起来,用以日后分析或者调试。

图片

这种方法所带来开发效率上的提高不言而喻。举个例子,如果我们要判断广告素材单元是否符合目标的视频题材,这个过滤器如下所示:

class GenresFilter extends BaseFilter("genre") {  
  override def predicate: (RichContext, AdCandidate) \=> Boolean \= {  
    case (context: BaseRequestContext, ad: AdCandidate) \=>  
      if (ad.targeting.genreBlacklist.nonEmpty) {  
        !ad.targeting.genreBlacklist.exists(context.content.genres.contains)  
 } else if (ad.targeting.genre.nonEmpty) {  
 ad.targeting.genre.exists(context.content.genres.contains)  
 } else {  
        true  
 }  
 }  
}

所有机械和死板的逻辑都被包装在一个定制的图(Graph)里面。每个过滤器都变成了不能再简单的一个断言函数(Predicate function,进行逻辑判断的函数),然后可以被一个个单独地进行测试。

小结


本文讨论了我们为什么着手重写内部广告系统、为什么以及怎样使用 Scala 和 Akka 作为我们新技术栈的。我们概览了如何使用流(Stream)来对请求/响应周期进行建模,并深入研究了其中的三个步骤。在接下来的文章中,我们会继续讨论广告系统的流里面剩余的几个步骤,包括:投放速度控制、出价和竞价,最后形成需要展示的广告。

如果你也对使用 Scala 构建分布式系统充满热情,我们 Tubi 正在招聘哦!

  • [1] Facebook CEO 马克·扎克伯格 (Mark Zuckerberg) 在 2018 年在出席美国参议院和众议院的听证会、回答质询的时候,回答“ Facebook 免费提供服务怎么赚钱” 原话:“Senator, we run ads!”

图片

原文:Marios Assiotis, Tubi CTO,点击 “阅读原文” 查看英文版

译者:Yingyu Cheng, Tubi Senior Scala Engineer

特别鸣谢 Neo Lin 协助校正译文

图片