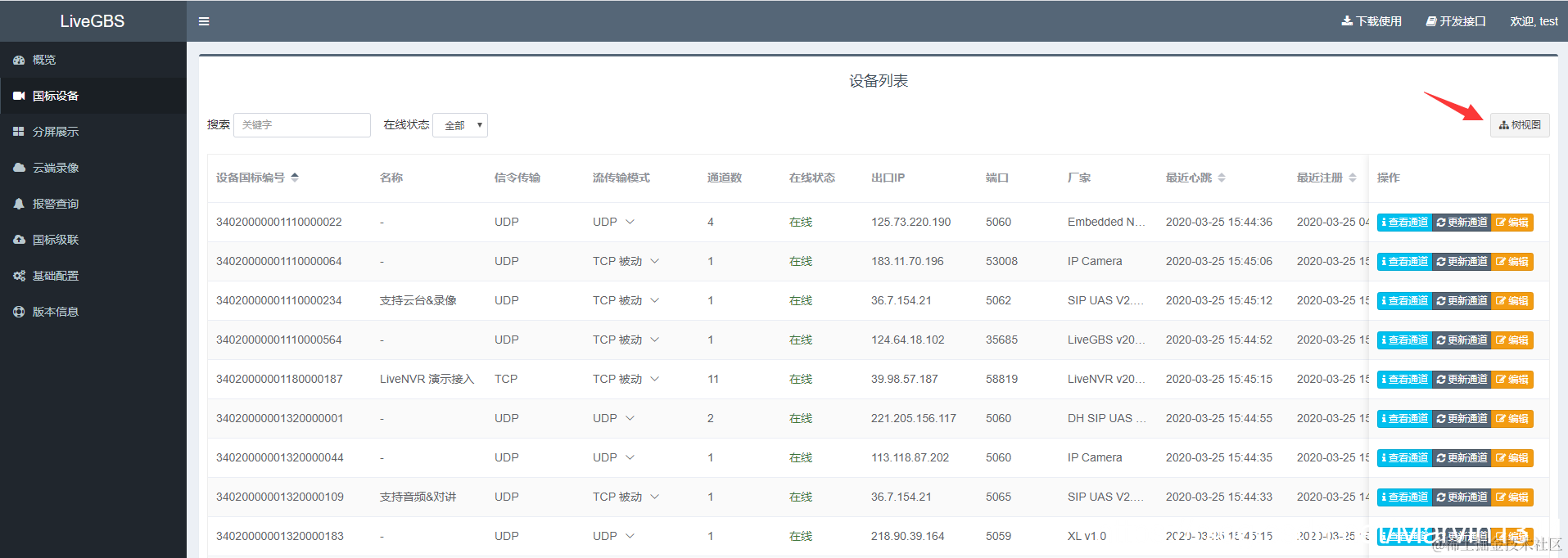
LiveGBS树视图展示设备通道信息GB28181国标流媒体

72 阅读1分钟

GB28181流媒体服务

国标流媒体服务,支持本地|内网部署,下载试用入口

国标设备->树视图

在这里插入图片描述

在这里插入图片描述