GB28181流媒体服务搭建
搭建入口,解压启动即用:www.liveqing.com/docs/downlo…
信令服务配置
服务运行起来后,参考LiveGBS后台管理->基础配置->信令服务配置 设置到下级设备或平台上。
海康GB28181接入示例
这是通过一个网络接入的示例
其它网段
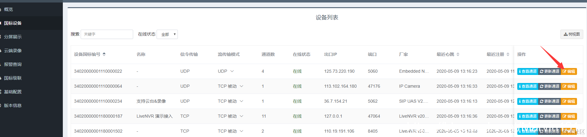
摄像机配置接入后,国标设备 页面查看
编辑设备
点击编辑,可以单独配置信令联络 IP、收流 IP
搭建入口,解压启动即用:www.liveqing.com/docs/downlo…
服务运行起来后,参考LiveGBS后台管理->基础配置->信令服务配置 设置到下级设备或平台上。
这是通过一个网络接入的示例
摄像机配置接入后,国标设备 页面查看
点击编辑,可以单独配置信令联络 IP、收流 IP