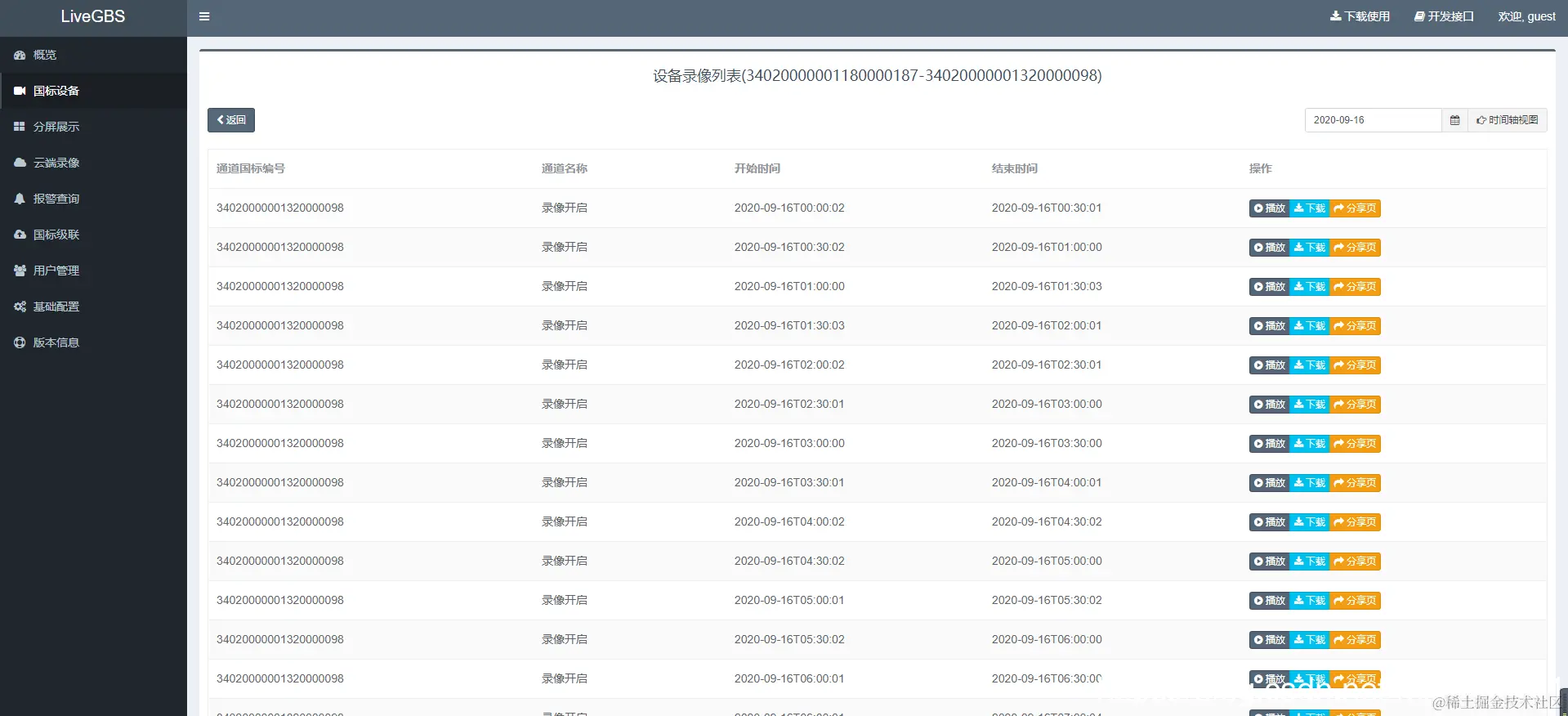
LiveGBS国标GB/T28181流媒体服务查看通道设备录像查看接入设备的前端录像 Marvin 2021-04-08 80 阅读1分钟 查看接入设备的前端录像 如何查看前端设备录像 前端设备录像接口 LiveNVR级联GB28181平台 国标平台查看LiveNVR录像 查看通道 设备录像 设备录像时间轴 设备录像列表 如何查看前端设备录像 数字硬盘录像机接入GB28181流媒体服务 前端设备录像接口 提供了完整的设备录像API接口 查询录像列表 开始回放 回放流保活 回放流停止 回放控制 回放流列表 单条回放流信息 LiveNVR级联GB28181平台 支持RTSP/RTMP/HLS/HTTP-FLV流转换成GB28181输出级联接入到国标平台 国标平台查看LiveNVR录像 查看通道 设备录像 设备录像时间轴 设备录像列表