视频直播流媒体平台对接海康摄像头国网|电网B接口设备STATE_GRID直播播放及录像回看

335 阅读1分钟

LiveGRID视频直播流媒体平台对接海康摄像头国网|电网B接口设备STATE_GRID直播播放及录像回看

1、关于电网B接口

上篇博文有说明,电网视频监控系统中有关B接口的注册相关流程,这篇主要来搭建一个国标流媒体平台, 接入一个海康的国标B接口的流媒体设备。

2、配置设备接入

网络-》高级配置-》平台接入,选择 STATE_GRID
在这里插入图片描述

3、LiveGRID概览

在这里插入图片描述

4、电网B接口设备直播

在这里插入图片描述
在这里插入图片描述
在这里插入图片描述

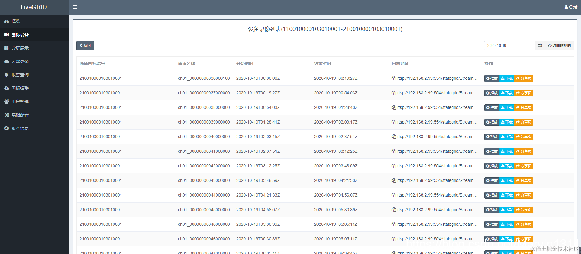
5、电网B接口查看录像列表

在这里插入图片描述
在这里插入图片描述

6、电网B接口设备录像播放-时间轴

在这里插入图片描述

7、搭建GB28181视频直播平台

支持 Windows|Linux 64 位系统环境,支持内网、私有云部署

8、LiveGRID搭建

获取LiveGRID