GB28181流媒体数据几种流传输模式- UDP、TCP被动、TCP主动模式

416 阅读2分钟

GB28181流传输几种模式

  • UDP
    服务端监听UDP端口,通过INVITE信令告知设备端口,设备主动向服务端发起流传输
  • TCP 被动
    服务端监听TCP端口,通过INVITE信令告知设备端口,设备向服务端发起流传输
  • TCP 主动
    设备端告知服务端监听的TCP端口情况,服务端主动向设备拉流,此种场景较少,且设备所在网络可以被服务所在网络访问(如下级设备与上级GB28181服务在同一个局域网,或者都在公网上能相互访问)。

三种模式切换解决不同网络场景

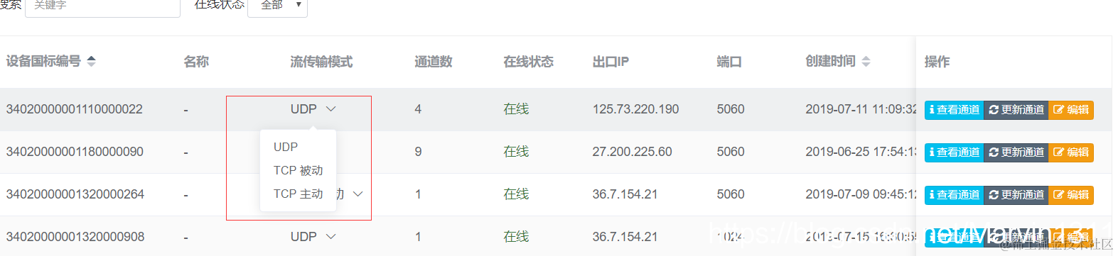
上述三种模式切换,可解决在不同网络环境下,流传输模式的切换选择,如下是LiveGBS的截图:
在这里插入图片描述

国标设备设备列表

在这里插入图片描述
LiveGBS国标(GB28181)流媒体服务软件: 提供用户管理及Web可视化页面管理; 提供设备状态管理,可实时查看设备是否掉线等信息; 实时流媒体处理,PS(TS)转ES; 设备状态监测、云台控制、录像检索、回放; 提供RTSP、RTMP、HTTP-FLV、HLS等多种协议流输出; 对外提供服务器获取状态、信息,控制等HTTP API接口。

支持本地内网私有云部署;为企业视频能力建设,提供了视频点播转码、手机直播推流、云端录像存储计划、RTMP拉流推流服务、RTSP拉流推流服务、设备GB28181接入Onvif云台控制等等能力,同时提供性能强大稳定的RTMP/HLS/RTSP/HTTP-FLV分发,支持H5页面无插件直播,强大的后台管理,详细的二次开发接口文档,服务搭建简单解压后一键启动,支持WindowsLinux环境部署

WEB:www.liveqing.com