操作系统-4.2 VFS

135 阅读5分钟

VFS

Linux支持各种各样的文件系统格式,如ext2、ext3、reiserfs、FAT、NTFS、iso9660等等,不同的磁盘分区、光盘或其它存储设备都有不同的文件系统格式,然而这些文件系统都可以mount到某个目录下,使我们看到一个统一的目录树,各种文件系统上的目录和文件我们用ls命令看起来是一样的,读写操作用起来也都是一样的,这是怎么做到的呢? Linux内核在各种不同的文件系统格式之上做了一个抽象层,使得文件、目录、读写访问等概念成为抽象层的概念,因此各种文件系统看起来用起来都一样,这个抽象层称为虚拟文件系统(VFS,Virtual Filesystem)。 Linux内核的VFS子系统可以图示如下:

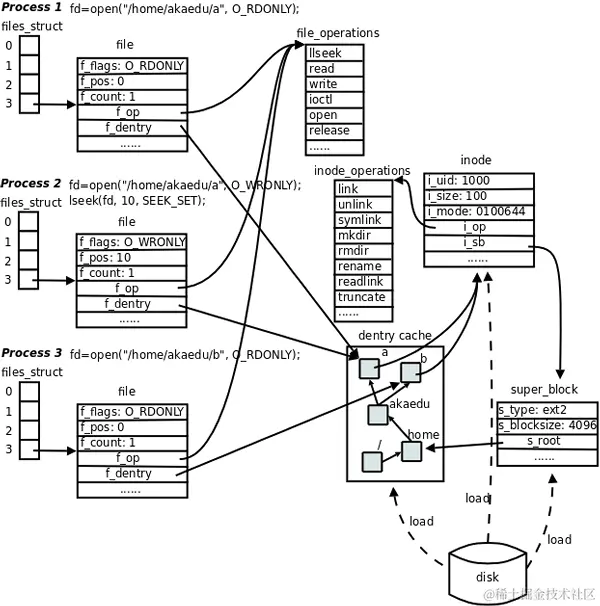
1. 进程的文件描述符表files_struct

每个进程在PCB(Process Control Block)中都保存着一份文件描述符表,文件描述符就是这个表的索引,每个表项都有一个指向已打开文件的指针 已打开的文件在内核中用file结构体表示,文件描述符表中的指针指向file结构体。

2. 内核中的file结构体

  • 在file结构体中维护File Status Flag(file结构体的成员f_flags)和当前读写位置(file结构体的成员f_pos)。 在上图中,进程1和进程2都打开同一文件,但是对应不同的file结构体,因此可以有不同的File Status Flag和读写位置。
  • file结构体中比较重要的成员还有f_count,表示引用计数(Reference Count),dup、fork等系统调用会导致多个文件描述符指向同一个file结构体 例如有fd1和fd2都引用同一个file结构体,那么它的引用计数就是2,当close(fd1)时并不会释放file结构体,而只是把引用计数减到1,如果再close(fd2),引用计数就会减到0同时释放file结构体,这才真的关闭了文件。

3. file_operations结构体

每个file结构体都指向一个file_operations结构体,这个结构体的成员都是函数指针,指向实现各种文件操作的内核函数

  • 比如在用户程序中read一个文件描述符,read通过系统调用进入内核,然后找到这个文件描述符所指向的file结构体,找到file结构体所指向的file_operations结构体,调用它的read成员所指向的内核函数以完成用户请求。在用户程序中调用lseek、read、write、ioctl、open等函数,最终都由内核调用file_operations的各成员所指向的内核函数完成用户请求。
  • file_operations结构体中的release成员用于完成用户程序的close请求,之所以叫release而不叫close是因为它不一定真的关闭文件,而是减少引用计数,只有引用计数减到0才关闭文件。对于同一个文件系统上打开的常规文件来说,read、write等文件操作的步骤和方法应该是一样的,调用的函数应该是相同的,所以图中的三个打开文件的file结构体指向同一个file_operations结构体。
  • 如果打开一个字符设备文件,那么它的read、write操作肯定和常规文件不一样,不是读写磁盘的数据块而是读写硬件设备,所以file结构体应该指向不同的file_operations结构体,其中的各种文件操作函数由该设备的驱动程序实现。

4. dentry结构体

每个file结构体都有一个指向dentry结构体的指针,“dentry”是directory entry(目录项)的缩写。

  • 传给open、stat等函数的参数的是一个路径,例如/home/akaedu/a,需要根据路径找到文件的inode。
  • 为了减少读盘次数,内核缓存了目录的树状结构,称为dentry cache,其中每个节点是一个dentry结构体,只要沿着路径各部分的dentry搜索即可,从根目录/找到home目录,然后找到akaedu目录,然后找到文件a。
  • dentry cache只保存最近访问过的目录项,如果要找的目录项在cache中没有,就要从磁盘读到内存中。

5. inode结构体

每个dentry结构体都有一个指针指向inode结构体。inode结构体保存着从磁盘inode读上来的信息。

  • 在上图的例子中,有两个dentry,分别表示/home/akaedu/a和/home/akaedu/b,它们都指向同一个inode,说明这两个文件互为硬链接。
  • inode结构体中保存着从磁盘分区的inode读上来信息,例如所有者、文件大小、文件类型和权限位等。

6. inode_operations结构体

每个inode结构体都有一个指向inode_operations结构体的指针,后者也是一组函数指针指向一些完成文件目录操作的内核函数。

  • 和file_operations不同,inode_operations所指向的不是针对某一个文件进行操作的函数,而是影响文件和目录布局的函数,例如添加删除文件和目录、跟踪符号链接等等,属于同一文件系统的各inode结构体可以指向同一个inode_operations结构体。

7. super_block结构体

inode结构体有一个指向super_block结构体的指针。

  • super_block结构体保存着从磁盘分区的超级块读上来的信息,例如文件系统类型、块大小等。super_block结构体的s_root成员是一个指向dentry的指针,表示这个文件系统的根目录被mount到哪里,在上图的例子中这个分区被mount到/home目录下。

总结

file、dentry、inode、super_block这几个结构体组成了VFS的核心概念。对于ext2文件系统来说,在磁盘存储布局上也有inode和超级块的概念,所以很容易和VFS中的概念建立对应关系。而另外一些文件系统格式来自非UNIX系统(例如Windows的FAT32、NTFS),可能没有inode或超级块这样的概念,但为了能mount到Linux系统,也只好在驱动程序中硬凑一下,在Linux下看FAT32和NTFS分区会发现权限位是错的,所有文件都是rwxrwxrwx,因为它们本来就没有inode和权限位的概念,这是硬凑出来的。