数据结构课设-单词检索统计程序(C语言版)

603 阅读1分钟

需要项目完整源码的小伙伴请往下看~

最近刚结束数据结构课设,我组抽到的项目是:单词检索统计程序,这个相比用到树、图算法的项目要简单不少。

我尽量用项目文档的要求来书写课设类文章,这样文章更有条理并且大家在书写项目文档的时候有个参考(我是按照我学校的要求来写的,不同的学校有不同的要求,仅供参考哈)。

话不多说,直接来看详细分析。

项目要求

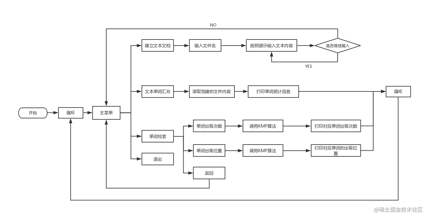
给定一个文本文件,要求统计给定单词在文本中出现的总次数,并检索输出某个单词出现在文本中的行号、在该行中出现的次数以及位置。

设计思路

本项目的设计要求可以分为三个部分实现:

一、建立一个文本文件,文件名由用户用键盘输入。

二、给定单词计数,输入一个不含空格的单词,统计输出该单词在文本中的出现次数。

三、检索给定单词,输入一个单词,检索并输出该单词所在的行号、该行中出现的次数以及在该行中的相应位置。

功能模块

系统流程图

来吧,展示

资源获取

需要项目完整源码的小伙伴,请关注微信公众号:『 木节学编程 』,后台回复 『 单词检索』 即可获取。


我是木节,觉得这篇文章对你有帮助的话,可以来个点赞 + 关注,下期再见!