彻彻底底理解三次握手四次挥手(视频讲解)

202 阅读6分钟

今天来彻底讲讲计算机网络中必考的知识点--三次握手,四次挥手。总结了所有的考点。后面有视频欧。

三次握手

在这里插入图片描述

四次挥手

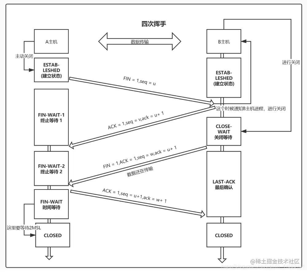
在这里插入图片描述

专有名词讲解

SYN:(连接建立时用于同步序号SYN这个标志位只有在TCP建立连接才会被置为1,握手完成后SYN标志位被置为0)

seq:(标记数据段的顺序,就是这个报文段中的第一个字节的数据编号)

ACK:(确认号,仅当ACK=1,确认号字段才有效。ACK=0,确认号无效)

ack:(期待收到对方下一个报文段的第一个数据字节的序号)

MSL:(最大报文生存时间)

FIN:(用来释放一个连接)

1 为什么是三次握手(一次两次行不行)

==一次握手==:肯定建立不了连接,因为没法判定是否发送成功。

==两次握手==:当A想要建立连接时发送一个SYN,然后等待ACK,结果这个SYN因为网络问题没有及时到达B,所以A在一段时间内没收到ACK后,再发送一个SYN,这次B顺利收到,接着A也收到ACK,这时A发送的。第一个SYN终于到了B(网络延迟),对于B来说这是一个新连接请求,然后B又为这个连接申请资源,返回ACK,然而这个SYN是个无效的请求,A收到这个SYN的ACK后也并不会理会它,而B却不知道,B会一直为这个连接维持着资源,造成资源的浪费。

==三次握手==:可以保证任何一次握手的失败都是可感知的,不会浪费资源。

==四次握手==:没有必要,三次足矣。

2 如果已经建立了连接,但是客户端突然出现故障了怎么办

客户端如果出现故障,服务器不能一直等下去,白白浪费资源。服务器每收到一次客户端的请求后都会重新复位这个计时器,时间通常是设置为2小时,若两小时还没有收到客户端的任何数据,服务器就会发送一个探测报文段,以后每隔75秒钟发送一次。若一连发送10个探测报文仍然没反应,服务器就认为客户端出了故障,接着就关闭连接。

3 Client发送一个SYN包给Server后就挂了,这个时候这个连接处于什么状态呢

Client发送SYN包给Server后挂了,Server回给Client的SYN-ACK一直没收到Client的ACK确认,这个时候这个连接既没建立起来这就会设定一个超时时间让Server将这个连接断开,否则这个连接就会一直占用Server的SYN连接队列中的一个位置,大量这样的连接就会将Server的SYN连接队列耗尽,让正常的连接无法得到处理。,Linux下默认会进行5次重发SYN-ACK包,重试的间隔时间从1s开始,下次的重试间隔时间是前一次的双倍,5次的重试时间间隔为1s, 2s, 4s, 8s, 16s,总共31s,第5次发出后还要等32s都知道第5次也超时了,所以,总共需要 1s + 2s + 4s+ 8s+ 16s + 32s = 63s,TCP才会把断开这个连接。

4 三次握手带来的危害

由于,SYN超时需要63秒,那么就给攻击者一个攻击服务器的机会,攻击者在短时间内发送大量的SYN包给Server(俗称 SYN flood 攻击),用于耗尽Server的SYN队列

5 为什么需要四次挥手,三次挥手可以吗

TCP连接是双向传输的对等的模式,就是说双方都可以同时向对方发送或接收数据。当有一方要关闭连接时,会发送指令告知对方,我要关闭连接了。这时对方会回一个ACK,此时一个方向的连接关闭。但是另一个方向仍然可以继续传输数据,等到发送完了所有的数据后,会发送一个FIN段来关闭此方向上的连接。 接收方发送ACK确认关闭连接。注意,接收到FIN报文的一方只能回复一个ACK, **它是无法马上返回对方一个FIN报文段的,**因为结束数据传输的“指令”是上层应用层给出的,我只是一个“搬运工”,我无法了解“上层的意志”。

6 为什么Time_wait(2MSL)

2MSL是任何报文在网络上的存在的最长时间,超过这个时间报文将被丢弃。这里的2MSL是时间等待计时器设置的。

2MSL可以使本连接持续的时间内所产生的所有报文段都从网络中消失。 这样就可以使不一个新的连接中不会出现这种旧的连接请求报文段。

如果小于2MSL,第一个连接结束,第二个拥有相同的连接出现,而第一个连接的重复报文出现,干扰第二个连接。就会出现某个连接的重复报文在连接终止后出现。

7 关闭连接时最后一个ACK丢失了怎么办

如果最后一个ACK丢失的话,TCP就会认为它的FIN丢失,进行重发FIN。在客户端收到FIN后,就会设置一个2MSL计时器,2ML计时器可以使客户等待足够长的时间,**使得在ACK丢失的情况下可以等到下一个FIN的到来。**如果在TIME一WAIT状态中有一个新的FIN到达了,客户就会发送一个新的ACK,并重新设置2MSL计时器。

如果重传FIN到达客户端时,客户端已经进入 CLOSED状态时,那么客户就永远收不到这个重传的FN报文段, 服务器收不到ACK,服务器无法关闭连接。

8 如果网络连接中出现大量TIME_WAIT状态会有什么危害

如果系统中有很多socket处于TIME_WAT状态,当需要创建新的 socket连接的时可能会受到影响,这也会影响到系统的扩展性。之所以TIME_WAIT能够影响系统的扩展性是因为在一个TCP连接中,一个Socket如果关闭的话,它将保持TIME_WAIT状态大约1-4分钟。 如果很多连接快速的打开和关闭的话系统中处于TIME_WAIT状态的socket将会积累很多,由于本地端口数量的限制,同一时间只有有限数量的 socket连接可以建立,如果太多的socket处于TIME_WAT状态你会发现,由于用于新建连接的本地端口太缺乏将会很难再建立新的。

视频版本地址mp.weixin.qq.com/s/Pw8v6sZy95DV_TQkS5Llbg

视频Bz原址www.bilibili.com/video/BV1hK…

请关注公众号 “程序员面试之道”回复“面试”获取面试一整套大礼包!!!