升级改造报警系统(4)

239 阅读1分钟

前端报警绘图 (开发中)


前端现状

当前平台前端使用 angular1.2.3 jQuery .echart做前端项目架构,因项目庞大及历史问题严重,选择继续在前端平台上做报警前台设计;

遵循敏捷开发的精神,一版本设计两个开发页面进行展示:
	- 报警(index)首页
    - 详情 (details)搜索及详情页 
目前报警页面前后端开发进入测试阶段,详情页面正在进行前后端开发

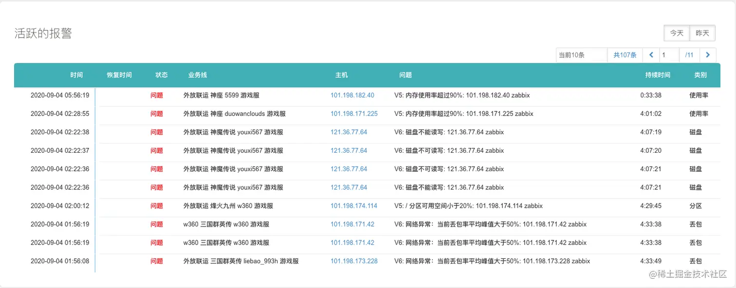
报警(index)

当前活跃的两天报警

报警曲线图表 (默认包含几个快捷 图例按钮)

echart of angular1.x

默认加载一年

点击当天

top 主机汇总

当前版本按主机 汇总报警top

详情 (details)

当前还在前后端开发中。。。

时间选择器 及 搜索框

时间选择器 使用jQuery的datetimepack 和搜索框

table 主页面 及search

根据选定的时间聚合数据,绑定数据到对应的searchBox选择项中。根据时间+searchBox 筛选出 table 的body主题

属性管理菜单(原型图设计中)

可根据自定义菜单展示table thead 字段