Spring中的@Import注解作用

4,970 阅读5分钟

1.简介

在平时看源码或者很多配置类上面都会出现@Import注解,功能就是和Spring XML 里面 的 一样. @Import注解是用来导入配置类或者一些需要前置加载的类.

2.源码解析

2.1 导入配置的三种类型

@Import支持 三种方式1.带有@Configuration的配置类(4.2 版本之前只可以导入配置类,4.2版本之后 也可以导入 普通类)2.ImportSelector 的实现3.ImportBeanDefinitionRegistrar 的实现

2.2 源码解释

/**
 * Indicates one or more {@link Configuration @Configuration} classes to import.
 * 
 *功能类似XML 里面的 <import/> ,可以导入 @Configuration配置类,ImportSelector、
 * ImportBeanDefinitionRegistrar 的实现,4.2 版本之后可以导入普通类(类似AnnotationConfigApplicationContext#register
 * )
 * <p>Provides functionality equivalent to the {@code <import/>} element in Spring XML.
 * Allows for importing {@code @Configuration} classes, {@link ImportSelector} and
 * {@link ImportBeanDefinitionRegistrar} implementations, as well as regular component
 * classes (as of 4.2; analogous to {@link AnnotationConfigApplicationContext#register}).
 *
 * 可以在类级别声明或作为元注释声明
 * <p>May be declared at the class level or as a meta-annotation.
 * 如需要引入XML或其他类型的文件,使用@ImportResource注解
 * <p>If XML or other non-{@code @Configuration} bean definition resources need to be
 * imported, use the {@link ImportResource @ImportResource} annotation instead.
 */
 @Target(ElementType.TYPE)
@Retention(RetentionPolicy.RUNTIME)
@Documented
public @interface Import {

	/**
	 * {@link Configuration}, {@link ImportSelector}, {@link ImportBeanDefinitionRegistrar}
	 * or regular component classes to import.
	 */
	Class<?>[] value();

}

3、测试例子

3.1 导入普通类

  1. 新建一个TestA

    public class TestA {

    public void fun(String str) {
        System.out.println(str);
    }
    
    public void printName() {
        System.out.println("类名 :" + Thread.currentThread().getStackTrace()[1].getClassName());
    }
    

    }

  2. 新建一个ImportConfig,在类上面加上@Configuration,加上@Configuration是为了能让Spring 扫描到这个类,并且直接通过@Import引入TestA类

    @Import({TestA.class}) @Configuration public class ImportConfig { }

3.测试结果TestA 是一个普通的类,现在可以被@Autowired注释然后调用,就直接说明已经被Spring 注入并管理了,普通的类都是需要先实例化

@RunWith(SpringJUnit4ClassRunner.class)
@SpringBootTest(classes = ApplicationMain.class)
public class ImportAnnotionTest {

    @Autowired
    TestA testA;

    @Test
    public void TestA() {
        testA.printName();
    }
}

打印:

类名 :com.test.importdemo.TestA

3.2 导入带有@Configuration的配置类

  1. 新建TestB

    @Configuration public class TestB { public void fun(String str) { System.out.println(str); }

    public void printName() {
        System.out.println("类名 :" + Thread.currentThread().getStackTrace()[1].getClassName());
    }
    

    }

  2. 在ImportConfig.class里面直接引入TestB

    @Import({TestA.class,TestB.class}) @Configuration public class ImportConfig { }

3.测试结果TestB.class 的类上面已经有了@Configuration注解,本身就会配spring扫到并实例,@import引入带有@Configuration的配置文件,是需要先实例这个配置文件再进行相关操作

   @Autowired
    TestB testB;

    @Test
    public void TestB(){
        testB.printName();
    }
12345678

打印:

ImportAnnotionTest in 8.149 seconds (JVM running for 10.104)
类名 :com.test.importdemo.TestB
2020-08-16 14:12:05.737  INFO 23760 --- [       Thread-2]

3.3 通过ImportSelector 方式导入的类

  1. 新建TestC.class

    public class TestC { public void fun(String str) { System.out.println(str); }

    public void printName() {
        System.out.println("类名 :" + Thread.currentThread().getStackTrace()[1].getClassName());
    }
    

    }

2.新建SelfImportSelector.class 实现ImportSelector 接口,注入TestC.class//TODO ImportSelector 相关解释

public class SelfImportSelector implements ImportSelector {
    @Override
    public String[] selectImports(AnnotationMetadata importingClassMetadata) {
        return new String[]{"com.test.importdemo.TestC"};
    }
}

3.ImportConfig上面引入SelfImportSelector.class

@Import({TestA.class,TestB.class,SelfImportSelector.class})
@Configuration
public class ImportConfig {
}

4.测试结果

    @Autowired
    TestC testC;

    @Test
    public void TestC() {
        testC.printName();
    }

打印:

ImportAnnotionTest in 7.23 seconds (JVM running for 9.065)
类名 :com.test.importdemo.TestC
2020-08-16 14:23:15.330  INFO 1196 --- [ 

3.4 通过 ImportBeanDefinitionRegistrar 方式导入的类

1.新建TestD.class

public class TestD {
    public void fun(String str) {
        System.out.println(str);
    }

    public void printName() {
        System.out.println("类名 :" + Thread.currentThread().getStackTrace()[1].getClassName());
    }
}

2.新建SelfImportBeanDefinitionRegistrar.class,实现接口ImportBeanDefinitionRegistrar,注入TestD.class

public class SelfImportBeanDefinitionRegistrar implements ImportBeanDefinitionRegistrar {
    @Override
    public void registerBeanDefinitions(AnnotationMetadata importingClassMetadata, BeanDefinitionRegistry registry) {
        RootBeanDefinition root = new RootBeanDefinition(TestD.class);
        registry.registerBeanDefinition("testD", root);
    }
}

3.ImportConfig类上加上导入SelfImportBeanDefinitionRegistrar.class

@Import({TestA.class,TestB.class,SelfImportSelector.class,
        SelfImportBeanDefinitionRegistrar.class})
@Configuration
public class ImportConfig {
}

4.测试结果

    @Autowired
    TestD testD;

    @Test
    public void TestD() {
        testD.printName();
    }

打印:

ImportAnnotionTest in 7.817 seconds (JVM running for 9.874)
类名 :com.test.importdemo.TestD
2020-08-16 14:30:05.781  INFO 23476 --- [ 

通过以上几种方法都是能成功注入Spring.

4. 详细过程解析

这里主要看 ConfigurationClassParser.java 里面 的doProcessConfigurationClass(ConfigurationClass configClass, SourceClass sourceClass) 这个方法。

4.1 getImports 方法

在分析这个方法之前,我们先看一下 getImports 方法,这个方法就是获取所有的@import 里面的类这里是获取 @import 里面的类,大致流程如下:1. 定义一个 visited 的集合,用作 是否已经 判断过的标志2. 这里就是获取sourceClass 上面的 所有的 annotation,并挨个判断, 如果不是 @import ,那就 进一步递归 调用 对应的 annotation,直到全部结束3. 加载sourceClass 里面 的@Import annotation 里面对应的类名 ,最后返回

	private Set<SourceClass> getImports(SourceClass sourceClass) throws IOException {
		Set<SourceClass> imports = new LinkedHashSet<>();
		Set<SourceClass> visited = new LinkedHashSet<>();
		collectImports(sourceClass, imports, visited);
		return imports;
	}
	// 这里就是获取sourceClass 上面的 所有的 annotation, 如果不是 @import ,那就 进一步递归 调用 对应的 annotation,直到全部结束
	private void collectImports(SourceClass sourceClass, Set<SourceClass> imports, Set<SourceClass> visited)
			throws IOException {

		if (visited.add(sourceClass)) {
			for (SourceClass annotation : sourceClass.getAnnotations()) {
				String annName = annotation.getMetadata().getClassName();
				if (!annName.equals(Import.class.getName())) {
					collectImports(annotation, imports, visited);
				}
			}
			imports.addAll(sourceClass.getAnnotationAttributes(Import.class.getName(), "value"));
		}
	}

4.2 processImports 方法

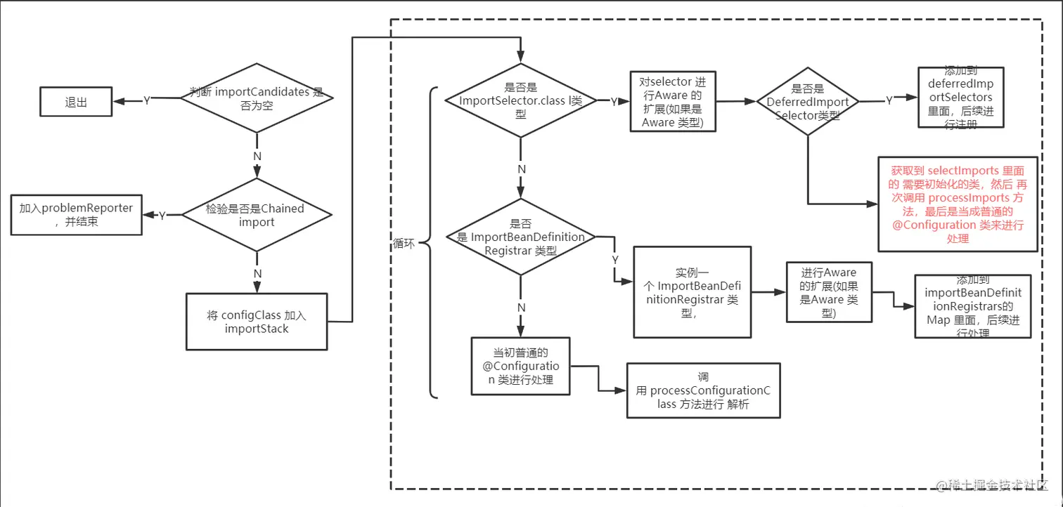
processImports 这个方法 的代码逻辑也很清晰,流程图如下:

大致的流程如下:

  1. 判断 importCandidates 是否为空,为空 退出
  2. 判断isChainedImportOnStack ,如果为true ,加入 problemReporter 里面的error ,并退出
  3. 把当前的 configClass 加入到 ImportStack里面,ImportStack 是继承了 ArrayDeque // TODO 和实现了 ImportRegistry// TODO
  4. 对 getImports 里面获取到的 需要import 的类 进行遍历 处理4.1 如果是 ImportSelector 类型,首先实例一个 ImportSelector 对象,然后 对其进行 Aware 扩展(如果 实现了 Aware 接口)4.1.2 进一步判断 是否 是 DeferredImportSelector 类型,如果是 ,加入到 deferredImportSelectors 里面,最后处理 ,这里可以看一下 方法parse(Set configCandidates), 里面最后一行才调用,这也就是 有的时候,如果想最后注入,就可以定义为deferredImportSelectors 类型4.1.2 如果 不是 DeferredImportSelector 类型 ,那就 调用 selectImports 方法,获取到所有的需要 注入的类,这时 再次调用 processImports 方法,这里调用processImports 方法,其实 是把 这些需要注入的类当成普通的 @Configuration 处理
  5. 如果是 ImportBeanDefinitionRegistrar 类型,这里也是 先实例一个对象,然后加入到 importBeanDefinitionRegistrars 里面,后续 会在 ConfigurationClassBeanDefinitionReader 这个类里面 的 loadBeanDefinitionsFromRegistrars 方法处理的

6.如果上面两种类型都不是,那就是当初普通的 带有@Configuration 的类进行处理了