OA办公系统 Springboot vue 前后分离 跨域 工作流 集成代码生成器

161 阅读9分钟

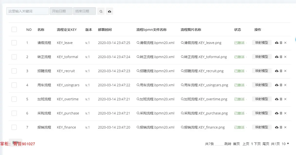
1.模型管理 :web在线流程设计器、预览流程xml、导出xml、部署流程

2.流程管理 :导入导出流程资源文件、查看流程图、根据流程实例反射出流程模型、激活挂起
自由跳转

3.运行中流程:查看流程信息、当前任务节点、当前流程图、作废暂停流程、指派待办人

4.历史的流程:查看流程信息、流程用时、流程状态、查看任务发起人信息

5.待办任务 :查看本人个人任务以及本角色下的任务、办理、驳回、作废、指派一下代理人

6.已办任务 :查看自己办理过的任务以及流程信息、流程图、流程状态(作废 驳回 正常完成)

注:当办理完当前任务时,下一任务待办人会即时通讯收到新任务消息提醒,当作废和完结任务时,

任务发起人会收到站内信消息通知

1.代码生成器: [正反双向](单表、主表、明细表、树形表,快速开发利器)+快速表单构建器

freemaker模版技术 ,0个代码不用写,生成完整的一个模块,带页面、建表sql脚本、处理类、service等完整模块

2.多数据源:(支持同时连接无数个数据库,可以不同的模块连接不同数的据库)支持N个数据源

3.阿里数据库连接池druid,安全权限框架 shiro(菜单权限和按钮权限, 缓存框架 ehcache

4.代码编辑器,在线模版编辑,仿开发工具编辑器

5.调用摄像头拍照 自定义裁剪编辑头像,头像图片色度调节

6.websocket 及时站内信并声音提醒、实时在线管理、websocket及时刷新页面(完胜ajax技术)

更新即时通讯功能,支持好友,群组,发图片、文件,消息声音提醒,离线消息,保留聊天记录

-------------------------------------------------------------------系统模块

1. 权限管理:点开二级菜单进入三级菜单显示 角色(基础权限)和按钮权限

角色(基础权限): 分角色组和角色,独立分配菜单权限和增删改查权限。(一个用户可以多个角色)

按钮权限: 给角色分配按钮权限。

2. 按钮管理:自定义按钮管理,维护按钮shiro权限标识等

3. 菜单管理:N级别自定义菜单,选择菜单图标,菜单状态显示隐藏(递归处理)

4. 数据字典:N级别,支持多级别分类。内设编号,排序等

5. 日志管理:记录用户登录退出和一些重要操作记录

6. 在线管理:websocket技术,实时检测在线用户列表,统计在线人数,可强制用户下线 同一用户只能在一个客户端登录

7. 系统用户:对各个基本的用户增删改查,导出到excel表格,批量删除

8. 代码生成:生成完整的模块代码,并保留生成记录模版,可复用 (超强悍开发利器)

正向生成: 生成完整的模块,html页面、处理类、mapper层、service层、myabaits的xml 建表的sql脚本等

反向生成: 任意连接其它数据库(mysql、oracle、sqlserver),根据表反射生成本系统的模块

9 模版管理:代码在线编辑器,管理模版,保存编辑记录,一键还原,代码生成器如虎添翼

10.性能监控:监控整个系统的性能,SQL监控,SQL防火墙,URL监控,SPRING监控,SESSION监控等

11.网络监控:实时监控服务器网络接收数据包速度,动态图表展示

12.服务器监控:实时监控jvm内存,服务器内存,CPU使用率。 单次读取服务器其它配置等信息

13. 接口测试:POST or GET 方式检测系统接口,参数加密,json返回结果,计算服务器响应时间

14.系统设置:修改系统名称,每页显示条数, 邮件服务配置,站内信配置

15. 站内信:收信箱和发信箱,websocket技术通讯技术做的及时收信提醒,可配置语音提示来信

-----------------------------通讯模块 单聊群聊发图片发文件 离线消息保留聊天记录

16. 好友管理:搜索、添加、删除、拉黑好友,查看好友资料

17. 好友分组:自定义好友分组

18. 我的群组:创建群组,搜索申请加入别人的群,踢出群成员,管理群聊天记录

-----------------------------

19. 数据库备份:可备份单表(sqlserver不支持)、整库,支持本地和远程备份(java界面编程技术,socket编程技术)

20. 备份定时器:quartz 强大的任务调度,多线程备份数据库,任务启动关闭异步操作

21. 数据库还原:历史备份记录,还原数据库 or 单表(sqlserver不支持),统计备份时间和文件大小

22. SQL编辑器:强大的SQL编辑器,支持编辑语句复杂查询语句,生成动态报表,可导出excel

----------------------------OA模块

23. 组织机构:N级别,公司or部门管理

24. 员工管理:和组织机构部门管理,可以绑定登录系统用户,授权数据权限

25. 工作日志:填写日常工作内容,此模块绑定数据权限

26. 请假申请:添加请假单,走工作流请假模型流程

27. 用车申请:添加用车单,走工作流用车模型流程

28. 加班申请:添加加班单,走工作流加班模型流程

29. 招聘申请:添加招聘单,走工作流招聘模型流程

30. 转正申请:添加转正单,走工作流转正模型流程

31. 采购申请:添加采购单,走工作流采购模型流程

32. 报销申请:添加报销单,走工作流报销模型流程

33. 通用申请:添加通用单,进行选择流程标识,走相应模型流程

34. 通知公告:发布通知信息,根据组织机构权限,下级能看到上级发布的通知公告

35. 用品管理:办公用品下级菜单,维护办公用品数据

36. 申领记录:办公用品下级菜单,添加申领用品信息,备注是否需要归还,便于追还

37. 员工工资:根据年月份,单个、批量生成工资单,参考考勤,打印工资单,计算总金额

38. 固定资产:维护固定资产信息,型号、数量、原价、折旧、状态等信息

39. 车辆管理:维护车辆信息,品牌颜色,保养、保险、年检时间、状态、车型等信息

40. 个人笔记:维护个人笔记,个人只能看到个人数据

41. 客户管理:维护个人客户资料,可以把自己客户复制、转移给其它用户

42. 日程安排:日历、列表形式维护个人日程安排

43. 公共文件:下载其他用户公布的文件

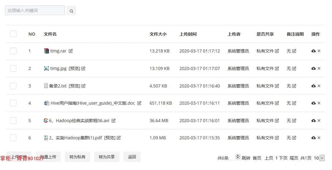
44. 我的文件:单个、批量上传文件,转为公有私有,预览图片、文本、PDF文件,播放MP4视频

45. 考勤管理:维护员工考勤信息,迟到、早退、旷工、加班、出差、请假等

46. 签到记录:在手机端打卡签到,参考打卡IP、地点判断打卡位置,设定上下班等时间

(后台根据定位经纬度查看地图坐标,定位功能有误差,并且需要手机浏览器定位权限,兼容的少)

------------------------------------------------------

47.接口API:集成swagger接口API生成

菜单权限:分配给每个角色不同的菜单权限, 每个角色看到的菜单不同,N级别菜单

按钮权限:独立分配不同的角色不同的功能权限,增删改查权限分配具体到不同的菜单,自定义按钮管理

支持多用户分权限管理后台, 权限具体到不同的菜单不同的按钮一个用户可以多个角色

----------------------------------------------------技术点

1. 导入 导出 excel 文件 (应用在系统用户中)

2 生成 word文件 (应用在代码生成器生成的doc文档)

3. IO 流下载文件 (应用在代码生成器中生成后压缩成zip 文件下载)

4 代码 zip 压缩打包 (应用在代码生成器中生成后压缩成zip 文件)

5. MD5加密 SHA加密(登录密码用此加密)接口加密身份校验

6. 数据库连接池 阿里的 druid。Druid在监控、可扩展性、稳定性和性能方面都有明显的优势,支持并发

7.安全框架 shiro (登录授权)(session管理)(shiro 注解菜单权限拦截)(shiro 标签按钮权限)

8.freemaker模版引擎(代码生成器用)

9.ehcache 自定义缓存 ,选择缓存存放目录,处理并发,增加系统性能

10.tab标签页面功能,标签自由切换,不重复操作数据库(可全部关闭,关闭当前,关闭其它)

11.多数据源技术

12.调用摄像头拍照技术,图片裁剪技术 (用户头像编辑)

13.在线编辑器,仿开发工具 (代码生成器的模版编辑)

14. 单群发邮件,可以发html、纯文本格式

15.根据汉字 解析汉字的全拼(拼音)和首字母(导入excel到用户表,根据用户的汉字姓名生成拼音的用户名)

16.站内信语音提醒,js控制音频播放

17.java 读写 ini 配置文件

18.java websocket 即时通讯技术,点对点,好友、群组,发图片文件,离线消息,保留聊天记录

19.百度富文本编辑器,可上传图片、附件

20.java Quartz 任务调度 (应用在数据库定时备份模块中)

21.ajax 异步跨域技术,跨域上传文件,图片

22.pdf文件在线预览,在线预览文本文件,转码预览

23.视频播放技术

24.批量上传文件,上传进度条,读取文件大小

25.根据经纬度地图上描点(应用在签到打开功能上)

26.Base64传输图片

官网