面试题
es 在数据量很大的情况下(数十亿级别)如何提高查询效率啊?
面试官心理分析
这个问题是肯定要问的,说白了,就是看你有没有实际干过 es,因为啥?
其实 es 性能并没有你想象中那么好的。很多时候数据量大了,特别是有几亿条数据的时候,可能你会懵逼的发现,跑个搜索怎么一下 510s,坑爹了。第一次搜索的时候,是510s,后面反而就快了,可能就几百毫秒。
你就很懵,每个用户第一次访问都会比较慢,比较卡么?所以你要是没玩儿过 es,或者就是自己玩玩儿 demo,被问到这个问题容易懵逼,显示出你对 es 确实玩儿的不怎么样?
面试题剖析
说实话,es 性能优化是没有什么银弹的,啥意思呢?就是不要期待着随手调一个参数,就可以万能的应对所有的性能慢的场景。也许有的场景是你换个参数,或者调整一下语法,就可以搞定,但是绝对不是所有场景都可以这样。
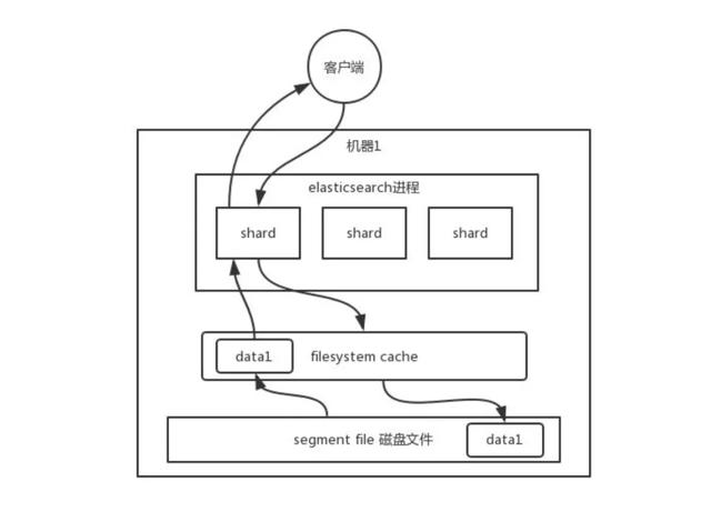
性能优化的杀手锏——filesystem cache
你往 es 里写的数据,实际上都写到磁盘文件里去了,查询的时候,操作系统会将磁盘文件里的数据自动缓存到 filesystem cache 里面去。

es 的搜索引擎严重依赖于底层的 filesystem cache,你如果给 filesystem cache 更多的内存,尽量让内存可以容纳所有的 idx segment file 索引数据文件,那么你搜索的时候就基本都是走内存的,性能会非常高。
性能差距究竟可以有多大?我们之前很多的测试和压测,如果走磁盘一般肯定上秒,搜索性能绝对是秒级别的,1秒、5秒、10秒。但如果是走 filesystem cache,是走纯内存的,那么一般来说性能比走磁盘要高一个数量级,基本上就是毫秒级的,从几毫秒到几百毫秒不等。
这里有个真实的案例。
某个公司 es 节点有 3 台机器,每台机器看起来内存很多,64G,总内存就是 64 * 3 = 192G。每台机器给 es jvm heap 是 32G,那么剩下来留给 filesystem cache的就是每台机器才 32G,总共集群里给 filesystem cache 的就是 32 * 3 = 96G 内存。
而此时,整个磁盘上索引数据文件,在 3 台机器上一共占用了 1T 的磁盘容量,es 数据量是 1T,那么每台机器的数据量是 300G。这样性能好吗?filesystem cache 的内存才 100G,十分之一的数据可以放内存,其他的都在磁盘,然后你执行搜索操作,大部分操作都是走磁盘,性能肯定差。
归根结底,你要让 es 性能要好,最佳的情况下,就是你的机器的内存,至少可以容纳你的总数据量的一半。
根据我们自己的生产环境实践经验,最佳的情况下,是仅仅在 es 中就存少量的数据,就是你要用来搜索的那些索引,如果内存留给 filesystem cache 的是 100G,那么你就将索引数据控制在 100G 以内,这样的话,你的数据几乎全部走内存来搜索,性能非常之高,一般可以在 1 秒以内。
比如说你现在有一行数据。id,name,age .... 30 个字段。但是你现在搜索,只需要根据 id,name,age 三个字段来搜索。
如果你傻乎乎往 es 里写入一行数据所有的字段,就会导致说 90% 的数据是不用来搜索的,结果硬是占据了 es 机器上的 filesystem cache 的空间,单条数据的数据量越大,就会导致 filesystem cahce 能缓存的数据就越少。
其实,仅仅写入 es 中要用来检索的少数几个字段就可以了,比如说就写入 es id,name,age 三个字段,然后你可以把其他的字段数据存在 mysql/hbase 里,我们一般是建议用 es + hbase 这么一个架构。
hbase 的特点是适用于海量数据的在线存储,就是对 hbase 可以写入海量数据,但是不要做复杂的搜索,做很简单的一些根据 id 或者范围进行查询的这么一个操作就可以了。从 es 中根据 name 和 age 去搜索,拿到的结果可能就 20 个 doc id,然后根据 doc id 到 hbase 里去查询每个 doc id 对应的完整的数据,给查出来,再返回给前端。
写入 es 的数据最好小于等于,或者是略微大于 es 的 filesystem cache 的内存容量。然后你从 es 检索可能就花费 20ms,然后再根据 es 返回的 id 去 hbase 里查询,查 20 条数据,可能也就耗费个 30ms,可能你原来那么玩儿,1T 数据都放 es,会每次查询都是 5~10s,现在可能性能就会很高,每次查询就是 50ms。
数据预热
假如说,哪怕是你就按照上述的方案去做了,es 集群中每个机器写入的数据量还是超过了 filesystem cache 一倍,比如说你写入一台机器 60G 数据,结果 filesystem cache 就 30G,还是有 30G 数据留在了磁盘上。
其实可以做数据预热。
举个例子,拿微博来说,你可以把一些大V,平时看的人很多的数据,你自己提前后台搞个系统,每隔一会儿,自己的后台系统去搜索一下热数据,刷到 filesystem cache 里去,后面用户实际上来看这个热数据的时候,他们就是直接从内存里搜索了,很快。
或者是电商,你可以将平时查看最多的一些商品,比如说 iphone 8,热数据提前后台搞个程序,每隔 1 分钟自己主动访问一次,刷到 filesystem cache 里去。
对于那些你觉得比较热的、经常会有人访问的数据,最好做一个专门的缓存预热子系统,就是对热数据每隔一段时间,就提前访问一下,让数据进入 filesystem cache 里面去。这样下次别人访问的时候,性能一定会好很多。
冷热分离
es 可以做类似于 mysql 的水平拆分,就是说将大量的访问很少、频率很低的数据,单独写一个索引,然后将访问很频繁的热数据单独写一个索引。最好是将冷数据写入一个索引中,然后热数据写入另外一个索引中,这样可以确保热数据在被预热之后,尽量都让他们留在 filesystem os cache 里,别让冷数据给冲刷掉。
你看,假设你有 6 台机器,2 个索引,一个放冷数据,一个放热数据,每个索引 3 个 shard。3 台机器放热数据 index,另外 3 台机器放冷数据 index。然后这样的话,你大量的时间是在访问热数据 index,热数据可能就占总数据量的 10%,此时数据量很少,几乎全都保留在 filesystem cache 里面了,就可以确保热数据的访问性能是很高的。
但是对于冷数据而言,是在别的 index 里的,跟热数据 index 不在相同的机器上,大家互相之间都没什么联系了。如果有人访问冷数据,可能大量数据是在磁盘上的,此时性能差点,就 10% 的人去访问冷数据,90% 的人在访问热数据,也无所谓了。
document 模型设计
对于 MySQL,我们经常有一些复杂的关联查询。在 es 里该怎么玩儿,es 里面的复杂的关联查询尽量别用,一旦用了性能一般都不太好。
最好是先在 Java 系统里就完成关联,将关联好的数据直接写入 es 中。搜索的时候,就不需要利用 es 的搜索语法来完成 join 之类的关联搜索了。
document 模型设计是非常重要的,很多操作,不要在搜索的时候才想去执行各种复杂的乱七八糟的操作。es 能支持的操作就那么多,不要考虑用 es 做一些它不好操作的事情。如果真的有那种操作,尽量在 document 模型设计的时候,写入的时候就完成。另外对于一些太复杂的操作,比如 join/nested/parent-child 搜索都要尽量避免,性能都很差的。
分页性能优化
es 的分页是较坑的,为啥呢?
举个例子吧,假如你每页是 10 条数据,你现在要查询第 100 页,实际上是会把每个 shard 上存储的前 1000 条数据都查到一个协调节点上,如果你有个 5 个 shard,那么就有 5000 条数据,接着协调节点对这 5000 条数据进行一些合并、处理,再获取到最终第 100 页的 10 条数据。
分布式的,你要查第 100 页的 10 条数据,不可能说从 5 个 shard,每个 shard 就查 2 条数据,最后到协调节点合并成 10 条数据吧?
你必须得从每个 shard 都查 1000 条数据过来,然后根据你的需求进行排序、筛选等等操作,最后再次分页,拿到里面第 100 页的数据。你翻页的时候,翻的越深,每个 shard 返回的数据就越多,而且协调节点处理的时间越长,非常坑爹。所以用 es 做分页的时候,你会发现越翻到后面,就越是慢。
我们之前也是遇到过这个问题,用 es 作分页,前几页就几十毫秒,翻到 10 页或者几十页的时候,基本上就要 5~10 秒才能查出来一页数据了。
有什么解决方案吗?
不允许深度分页(默认深度分页性能很差)
跟产品经理说,你系统不允许翻那么深的页,默认翻的越深,性能就越差。
类似于 app 里的推荐商品不断下拉出来一页一页的
类似于微博中,下拉刷微博,刷出来一页一页的,你可以用 scroll api,关于如何使用,自行上网搜索。
scroll 会一次性给你生成所有数据的一个快照,然后每次滑动向后翻页就是通过游标 scroll_id移动,获取下一页下一页这样子,性能会比上面说的那种分页性能要高很多很多,基本上都是毫秒级的。
但是,唯一的一点就是,这个适合于那种类似微博下拉翻页的,不能随意跳到任何一页的场景。也就是说,你不能先进入第 10 页,然后去第 120 页,然后又回到第 58 页,不能随意乱跳页。所以现在很多产品,都是不允许你随意翻页的,app,也有一些网站,做的就是你只能往下拉,一页一页的翻。
初始化时必须指定 scroll 参数,告诉 es 要保存此次搜索的上下文多长时间。你需要确保用户不会持续不断翻页翻几个小时,否则可能因为超时而失败。
除了用 scroll api,你也可以用 search_after 来做,search_after 的思想是使用前一页的结果来帮助检索下一页的数据,显然,这种方式也不允许你随意翻页,你只能一页页往后翻。初始化时,需要使用一个唯一值的字段作为 sort 字段。
文源网络,仅供学习之用,如有侵权请联系删除。
我将面试题和答案都整理成了PDF文档,还有一套学习资料,涵盖Java虚拟机、spring框架、Java线程、数据结构、设计模式等等,但不仅限于此。
关注公众号【java圈子】获取资料,还有优质文章每日送达。
