rocketmq架构以及基础概念模型

755 阅读9分钟

1:技术/部署架构

1.1:基础架构

RocketMq是阿里巴巴开源的一款分布式消息中间件,具有低延迟、高并发、高可用、高可靠、灵活伸缩等特性!目前已经成为Apache的一个顶级的开源项目。

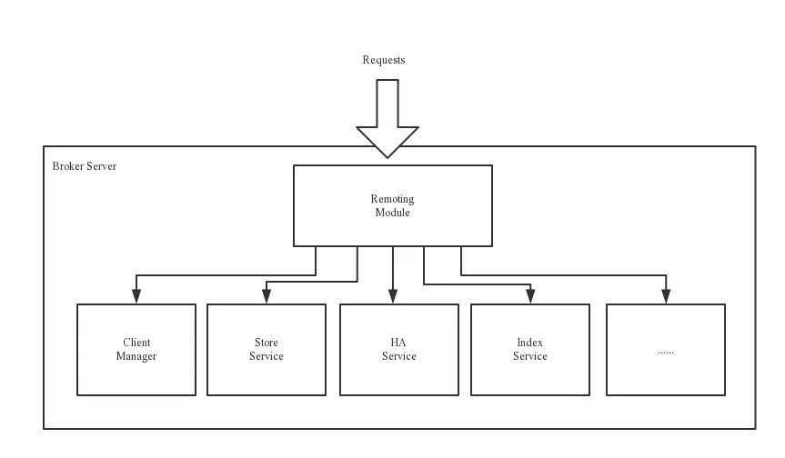
RocketMQ架构上主要分为四部分,如上图所示:

1:NameServer:NameServer是一个轻量级的Topic路由注册中心,角色类似于springcloud中的eureka,dubbo中的zk。支持broker的动态注册和发现。

主要有包含两个重要功能:

Broker管理 NameServer接受来自Broker集群的注册信息并保存下来,作为路由信息的基本数据,并提供心跳检测,检查Broker是否存活。

路由信息管理 每个NameServer将保存关于Broker集群的整个路由信息和用于客户端查询的队列信息,这样,Producer和Conumser通过NameServer就可以知道整个Broker集群的路由信息,从而进行消息的投递和消费。

NameServer是一个几乎无状态的节点,可集群部署,支持快速水平存储扩展。NameServer各实例间相互不进行信息通讯。Broker向每台NameServer注册自己的路由信息,所以每一个NameServer上都保存着一份完整的路由信息。此时就算某一个NameServer因为某种原因下线了,Broker仍然可以从其他的NameServer同步路由信息,producer和consumer仍然可以动态感知Broker的路由信息。

2:Producer::发布消息的角色,可以理解为生产者,可以支持分布式集群部署,Producer通过MQ的负载均衡模块选择相应的Broker集群队列进行消息投递,投递的过程支持快速失败并且低延迟。

Producer与NameServer集群中的其中一个节点(随机选择)建立长连接,定期从NameServer获取Topic路由信息,并向提供Topic 服务的Master建立长连接,且定时向Master发送心跳。

3:Consumer:消息消费的角色,支持分布式集群方式部署。支持以push推,pull拉两种模式对消息进行消费。同时也支持集群方式和广播方式的消费,它提供实时消息订阅机制。

Consumer与NameServer集群中的其中一个节点(随机选择)建立长连接,定期从NameServer获取Topic路由信息,并向提供Topic服务的Master、Slave建立长连接,且定时向Master、Slave发送心跳。

Consumer既可以从Master订阅消息,也可以从Slave订阅消息,消费者在向Master拉取消息时,Master服务器会根据拉取偏移量与最大偏移量的距离(判断是否读老消息,产生读I/O),以及从服务器是否可读等因素建议下一次是从Master还是Slave拉取。

4:Broker:消息中转角色,Broker主要负责消息的存储、投递和查询以及服务高可用保证。分为 Master Broker 和 Slave Broker,一个Master可以对应多个Slave,但是一个Slave只能对应一个Master,Master与Slave 的对应关系通过指定相同的BrokerName,不同的BrokerId 来定义,BrokerId为0表示Master,非0表示Slave。Master也可以部署多个。每个Broker与NameServer集群中的所有节点建立长连接,定时注册Topic信息到所有NameServer。

注意:当前RocketMQ版本在部署架构上支持一Master多Slave,但只有BrokerId=1的从服务器才会参与消息的读负载。

Broker服务器有几个重要的子模块:

  • Remoting Module:负责处理来自clients端的请求。
  • Client Manager:负责管理客户端(Producer/Consumer)和维护Consumer的Topic订阅信息
  • Store Service:提供方便简单的API接口处理消息存储到物理硬盘和查询功能。
  • HA Service:高可用服务,提供Master Broker 和 Slave Broker之间的数据同步功能。
  • Index Service:根据特定的Message key对投递到Broker的消息进行索引服务,以提供消息的快速查询。

1.2:集群工作流程

  • 启动NameServer,NameServer起来后监听端口,等待Broker、Producer、Consumer连上来,相当于一个路由控制中心。
  • Broker启动,跟所有的NameServer保持长连接,定时发送心跳包。心跳包中包含当前Broker信息(IP+端口等)以及存储所有Topic信息。注册成功后,NameServer集群中就有Topic跟Broker的映射关系。
  • 收发消息前,先创建Topic,创建Topic时需要指定该Topic要存储在哪些Broker上,也可以在发送消息时自动创建Topic。
  • Producer发送消息,启动时先跟NameServer集群中的其中一台建立长连接,并从NameServer中获取当前发送的Topic存在哪些Broker上,轮询从队列列表中选择一个队列,然后与队列所在的Broker建立长连接从而向Broker发消息。
  • Consumer跟Producer类似,跟其中一台NameServer建立长连接,获取当前订阅Topic存在哪些Broker上,然后直接跟Broker建立连接通道,开始消费消息。

2:基础概念模型

  • Topic:消息主题,一级消息类型,通过 Topic 对消息进行分类
  • Message:消息,消息队列中信息传递的载体。
  • Message ID:消息的全局唯一标识,由 MQ 系统自动生成,唯一标识某条消息。
  • Message Key:消息的业务标识,由消息生产者(Producer)设置,唯一标识某个业务逻辑。
  • Tag:消息标签,二级消息类型,用来进一步区分某个 Topic 下的消息分类,消费者可以通过该tag在消费者程序端进行消息过滤。
  • Producer:消息生产者,也称为消息发布者,负责生产并发送消息。
  • Producer 实例:Producer 的一个对象实例,不同的 Producer 实例可以运行在不同进程内或者不同机器上。Producer 实例线程安全,可在同一进程内多线程之间共享。
  • Consumer:消息消费者,也称为消息订阅者,负责接收并消费消息。
  • Consumer 实例:Consumer 的一个对象实例,不同的 Consumer 实例可以运行在不同进程内或者不同机器上。一个 Consumer 实例内配置线程池消费消息。
  • Group:一类 Producer 或 Consumer,这类 Producer 或 Consumer 通常生产或消费同一类消息,且消息发布或订阅的逻辑一致
  • Group ID:Group 的标识。
  • 队列QUEUE:每个 Topic 下会由一到多个队列来存储消息
  • Exactly-Once 投递语义:Exactly-Once 投递语义是指发送到消息系统的消息只能被 Consumer 处理且仅处理一次,即使 Consumer 重试消息发送导致某消息重复投递,该消息在 Consumer 也只被消费一次
  • 集群消费:一个 Group ID 所标识的所有 Consumer 平均分摊消费消息。例如某个 Topic 有 9 条消息,一个 Group ID 有 3 个 Consumer 实例,那么在集群消费模式下每个实例平均分摊,只消费其中的 3 条消息。
  • 广播消费:一个 Group ID 所标识的所有 Consumer 都会各自消费某条消息一次。例如某个 Topic 有 9 条消息,一个 Group ID 有 3 个 Consumer 实例,那么在广播消费模式下每个实例都会各自消费 9 条消息。
  • 定时消息:Producer 将消息发送到消息队列 RocketMQ 版服务端,但并不期望这条消息立马投递,而是推迟到在当前时间点之后的某一个时间投递到 Consumer 进行消费,该消息即定时消息。(开源版本的RocketMq好像不支持定时消息投递)
  • 延时消息:Producer 将消息发送到消息队列 RocketMQ 版服务端,但并不期望这条消息立马投递,而是延迟一定时间后才投递到 Consumer 进行消费,该消息即延时消息
  • 事务消息:消息队列RocketMQ提供类似 X/Open XA 的分布事务功能,通过RocketMq事务消息能达到分布式事务的最终一致
  • 顺序消息:消息队列 RocketMQ 提供的一种按照顺序进行发布和消费的消息类型,分为全局顺序消息和分区顺序消息
  • 全局顺序消息:对于指定的一个 Topic,所有消息按照严格的先入先出(FIFO)的顺序进行发布和消费
  • 分区顺序消息:对于指定的一个 Topic,所有消息根据 Sharding Key 进行区块分区。同一个分区内的消息按照严格的 FIFO 顺序进行发布和消费
  • 消息堆积:Producer 已经将消息发送到消息队列 RocketMQ 的服务端,但由于 Consumer 消费能力有限,未能在短时间内将所有消息正确消费掉,此时在消息队列 RocketMQ 的服务端保存着未被消费的消息,该状态即消息堆积。
  • 消息过滤: Consumer 可以根据消息标签(Tag)对消息进行过滤,确保 Consumer 最终只接收被过滤后的消息类型。消息过滤在消息队列 RocketMQ 的服务端完成
  • 消息轨迹: 在一条消息从 Producer 发出到 Consumer 消费处理过程中,由各个相关节点的时间、地点等数据汇聚而成的完整链路信息
  • 重置消费位点: 以时间轴为坐标,在消息持久化存储的时间范围内(默认 3 天),重新设置 Consumer 对已订阅的 Topic 的消费进度,设置完成后 Consumer 将接收设定时间点之后由 Producer 发送到消息队列 RocketMQ 版服务端的消息
  • 死信队列: 死信队列用于处理无法被正常消费的消息。当一条消息初次消费失败,消息队列 RocketMQ 会自动进行消息重试;达到最大重试次数后,若消费依然失败,则表明 Consumer 在正常情况下无法正确地消费该消息。此时,消息队列 RocketMQ 不会立刻将消息丢弃,而是将这条消息发送到该 Consumer 对应的特殊队列中。 消息队列 RocketMQ 将这种正常情况下无法被消费的消息称为死信消息(Dead-Letter Message),将存储死信消息的特殊队列称为死信队列(Dead-Letter Queue)

参考:github.com/apache/rock… 关于rocketMq的概念,基本都参考了官方的文档。