当下IT运维人员的一大问题,就是对于大量的告警难以进行精准的通知,以及无法在大批量的告警中快速的定位到问题的所在,再加上时不时出现的告警风暴,加大了告警处理的难度,这就需要一款完善的告警管理平台来针对告警的统一化管理。
睿象云智能告警平台Cloud Alert(简称CA)快速接入各类事件,通过人工智能算法自动发现、诊断、修复IT系统运行事故,并能帮助企业形成最佳事件管理流程,让业务运行更加安全可靠。
CA中包含着如下几大功能:
应用集成:将多平台告警进行统一化管理
分派策略:将指定告警精准化分派给相应人员
压缩规则:算法智能降噪与自定义压缩,减少告警的重复性,避免告警风暴
排班管理:满足企业内部成员排班需求
团队管理:针对成员的管理和分组的设定
智能降噪:高聚合智能降噪和仿阅读智能降噪,帮助用户在事后分析告警
新奇事件:快速定位今日与本周的告警事件,以及对事件的分析
授权管理:针对已购买授权的管理

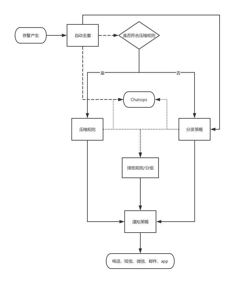
告警的主要流程如下:

更多功能详情,欢迎访问睿象云官网~