NodeJS:Stream研究笔记

488 阅读5分钟

以下内容主要来自官方文档及自行阅读源码,较多内部逻辑及函数已被省略,只抽象其主干思想:

Readable可读流

官方文档-实现一个可读流

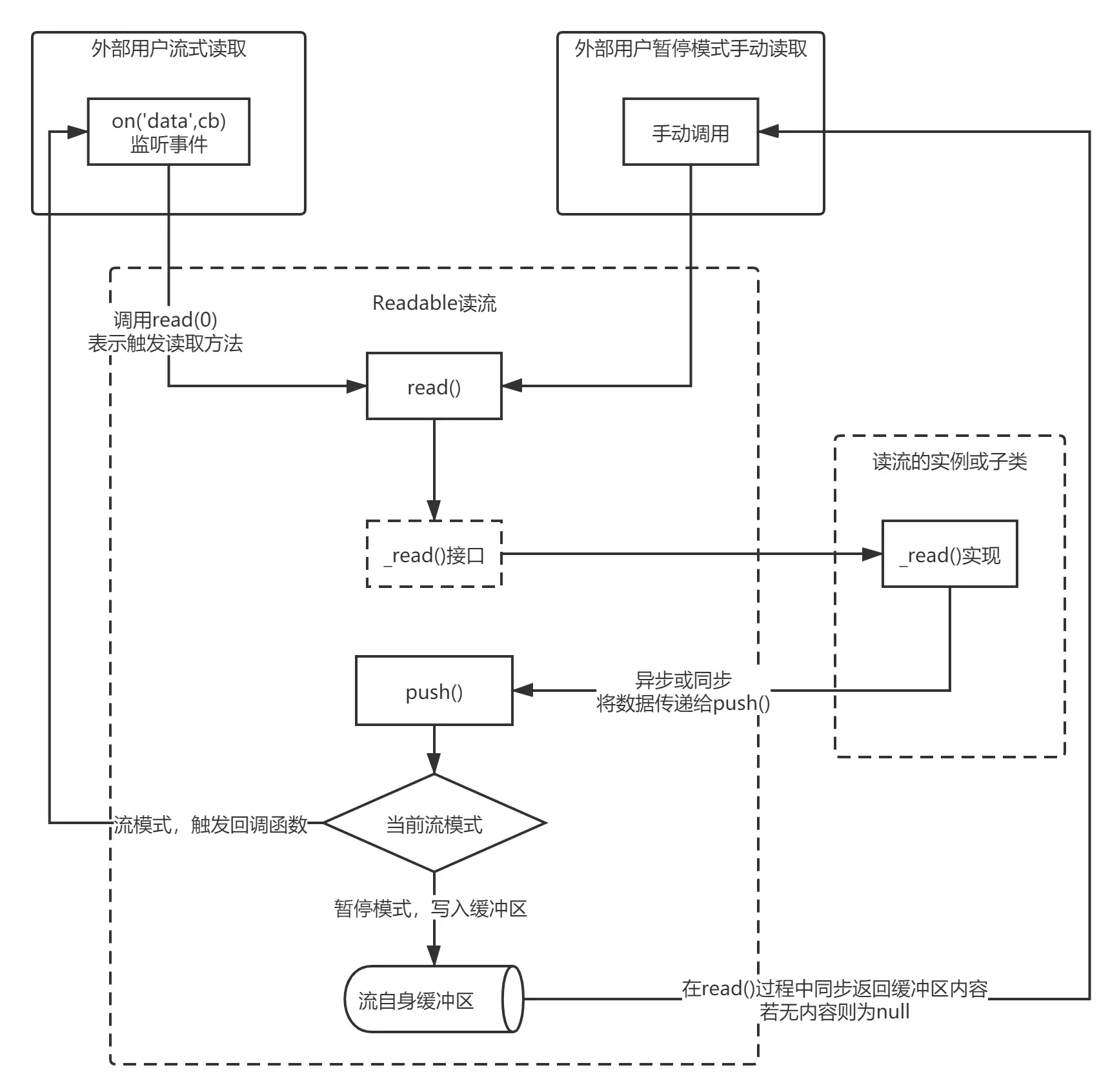
  • 所有可读流都必须提供_read()方法的实现,以从基础资源中获取数据。
  • 当调用_read()时,如果资源中已有可用数据,则应该使用this.push(dataChunk)将数据加入到读流的缓冲区队列中,然后_read()应该持续以上操作直到push()返回false

从结论来说,如果你不调用push(),可读流永远不会产生数据。

关于可读流的两种读取模式在这里就不再赘述了,有趣的是可读流内部的缓冲区buffer并不是一个Buffer(因为流要支持对象模式,不能只支持二进制数据)或者Array,而是一个自己实现的单链表,带头尾指针,这里应该是考虑方便缓冲区的前后读写,并且不需要使用数组的索引功能。

push()函数还提到说当它返回false时就不应该继续写入了,其实代码内部中只是返回了缓冲区与highWaterMark的大小对比,其实并不会抛弃超过的数据,所以自己实现时多写一些内容进去是没问题的(比如一次批量拿到了N个数据,总不能写一半丢一半)。

Writable可写流

官方文档-实现一个可写流

  • 所有可写流实现必须提供_write方法,以将数据发送到基础资源
  • 必须调用回调方法来表示本次写入的成功或失败(如果失败则第一个参数为Error,否则为null)
  • 在调用_write()和回调被调用之间如果有新的write()调用,则这些数据会先被放入缓冲区。调用回调时,流可能会发出“drain事件。

可写流相对比可读流逻辑简单一点,就是包裹一下用户自定义的写方法,并且做缓冲队列,从这里我们能知道很重要的一点:可写流的write()是串行调用的,不支持并发,因此才有了一个writev()方法作为批量写入的替代。write()返回的true/false也仅是表示数据量是否达到了它的水位线,但继续向其写入也是没问题的(当然要注意内存用量)。

Duplex双工流

官方文档-实现一个双工流

就是简单继承了可读流和可写流而已,注意它并不是像一个队列一样一边写了一边就可以读,需要用户自己去实现读写方法,其实与分开实现一个可读流一个可写流没什么区别,这里就不再多说。而一般要用作pipe()的中间流的话,不如直接使用它的子类Transform转换流。

Transform转换流

官方文档-实现一个转换流

  • _transform()可以当作是可写流的_write()的用途
  • _flush()是上游流发出end事件时触发的方法,可以在这里将残余的中间数据处理并输出到下游去

转换流是双工流的子类,封装了一些转换的逻辑,主要思路就是:

可写流的数据流入 => _transform()方法 => 可读流数据流出

因为它本质上还是对可读流、可写流的封装,因此类似可写流的highWaterMark与串行写入实现的流速控制、pipe()管道方法等特性都是可以享受的,Node内常见的对流的加密压缩也都是用它实现的,注意的一点是_transform()方法本身是不会帮你把数据push()到可读流的(只有用户自己知道什么时候数据才是可以被输出的),因此要注意自己保留中间数据、及时调用push()输出、以及在_flush()接口内处理残余数据。

这里附一个简单易懂的例子:

const stream = require('stream');

/**
 * 将逐条数据缓存在内存,达到batchSize或上游流结束时,才向下游发出一条打包的data消息
 */
class BatchStream extends stream.Transform {
  /**
   * @param {*} batchSize 批量大小
   * @param {*} options 传递给基类stream的options,部分属性固定
   */
  constructor(batchSize = 500, options = {}) {
    options.allowHalfOpen = false;
    options.writableObjectMode = true;
    options.readableObjectMode = true;
    options.highWaterMark= 1024;
    super(options);
    this.batchSize = batchSize;
    this._chunks = [];
  }
  async _transform(chunk, encoding, callback) {
    this._chunks = this._chunks.concat(chunk);

    while (this._chunks.length >= this.batchSize) {
      const batch = this._chunks.splice(0, this.batchSize);
      this.push(batch)
    }

    callback();
  }
  _flush(cb) {
    if (this._chunks.length) this.push(this._chunks)
    cb();
  }
}
module.exports = BatchStream;

刚开始编写流的实现时可能要注意的一点是,流本身带有的那些数据缓冲区、写入队列并不是给你用的,因此如果要你保留一些中间状态,必须要自己建变量存着,比如上面例子的this._chunks

总结

Node的流设计与Promise一样,本质上都是对回调、异步控制的封装和抽象,由于事件订阅的机制以及有流速控制,它更适合用于持续的异步过程,并可用pipe()管道方法将其简化,在使用其异步方法的过程中有以下点可以关注:

  • 可读流on('data',cb)形式订阅数据事件的形式,无法直接控制并发量,可以考虑用类似streamQueue这样的形式再做一层控制,或者自己实现一个可写流,使用pipe()来做自动的流速控制
  • 可写流write()会将写入都串行执行,本身虽然保证了数据的有序性,但不一定高效,在追求效率的时候,可以考虑实现_writev()接口,或者不在_write()内等待异步执行,直接回调cb,如果出现问题想要中断流程,可以再手动触发错误ws.emit('error')