华为社招面试攻略:Redis中是如何实现分布式锁的?

839 阅读5分钟

问:你对Redis使用熟悉吗?Redis中是如何实现分布式锁的?

要点

Redis要实现分布式锁,以下条件应该得到满足

互斥性

  • 在任意时刻,只有一个客户端能持有锁。

不能死锁

  • 客户端在持有锁的期间崩溃而没有主动解锁,也能保证后续其他客户端能加锁。

容错性

  • 只要大部分的Redis节点正常运行,客户端就可以加锁和解锁。

实现

可以直接通过 set key value px milliseconds nx 命令实现加锁, 通过Lua脚本实现解锁。

//获取锁(unique_value可以是UUID等)
SET resource_name unique_value NX PX  30000

//释放锁(lua脚本中,一定要比较value,防止误解锁)
if redis.call("get",KEYS[1]) == ARGV[1] then
    return redis.call("del",KEYS[1])
else
    return 0
end

代码解释

  • set 命令要用 set key value px milliseconds nx,替代 setnx + expire 需要分两次执行命令的方式,保证了原子性,
  • value 要具有唯一性,可以使用UUID.randomUUID().toString()方法生成,用来标识这把锁是属于哪个请求加的,在解锁的时候就可以有依据;
  • 释放锁时要验证 value 值,防止误解锁;
  • 通过 Lua 脚本来避免 Check And Set 模型的并发问题,因为在释放锁的时候因为涉及到多个Redis操作 (利用了eval命令执行Lua脚本的原子性);

加锁代码分析

首先,set()加入了NX参数,可以保证如果已有key存在,则函数不会调用成功,也就是只有一个客户端能持有锁,满足互斥性。其次,由于我们对锁设置了过期时间,即使锁的持有者后续发生崩溃而没有解锁,锁也会因为到了过期时间而自动解锁(即key被删除),不会发生死锁。最后,因为我们将value赋值为requestId,用来标识这把锁是属于哪个请求加的,那么在客户端在解锁的时候就可以进行校验是否是同一个客户端。

解锁代码分析

将Lua代码传到jedis.eval()方法里,并使参数KEYS[1]赋值为lockKey,ARGV[1]赋值为requestId。在执行的时候,首先会获取锁对应的value值,检查是否与requestId相等,如果相等则解锁(删除key)。

存在的风险

如果存储锁对应key的那个节点挂了的话,就可能存在丢失锁的风险,导致出现多个客户端持有锁的情况,这样就不能实现资源的独享了。

  1. 客户端A从master获取到锁
  2. 在master将锁同步到slave之前,master宕掉了(Redis的主从同步通常是异步的)。主从切换,slave节点被晋级为master节点
  3. 客户端B取得了同一个资源被客户端A已经获取到的另外一个锁。导致存在同一时刻存不止一个线程获取到锁的情况。

Redlock算法出现

这个场景是假设有一个 redis cluster,有 5 个 redis master 实例。然后执行如下步骤获取一把锁:

  1. 获取当前时间戳,单位是毫秒;
  2. 跟上面类似,轮流尝试在每个 master 节点上创建锁,过期时间较短,一般就几十毫秒;
  3. 尝试在大多数节点上建立一个锁,比如 5 个节点就要求是 3 个节点 n / 2 + 1;
  4. 客户端计算建立好锁的时间,如果建立锁的时间小于超时时间,就算建立成功了;
  5. 要是锁建立失败了,那么就依次之前建立过的锁删除;
  6. 只要别人建立了一把分布式锁,你就得不断轮询去尝试获取锁。


华为社招面试攻略:Redis中是如何实现分布式锁的?

Redis 官方给出了以上两种基于 Redis 实现分布式锁的方法,详细说明可以查看:

https://redis.io/topics/distlock 。

Redisson

Redisson是一个在Redis的基础上实现的Java驻内存数据网格(In-Memory Data Grid)。它不仅提供了一系列的分布式的Java常用对象,还实现了可重入锁(Reentrant Lock)、公平锁(Fair Lock、联锁(MultiLock)、 红锁(RedLock)、 读写锁(ReadWriteLock)等,还提供了许多分布式服务。

Redisson提供了使用Redis的最简单和最便捷的方法。Redisson的宗旨是促进使用者对Redis的关注分离(Separation of Concern),从而让使用者能够将精力更集中地放在处理业务逻辑上。

Redisson 分布式重入锁用法

Redisson 支持单点模式、主从模式、哨兵模式、集群模式,这里以单点模式为例:

// 1.构造redisson实现分布式锁必要的Config
Config config = new Config();
config.useSingleServer().setAddress("redis://127.0.0.1:5379").setPassword("123456").setDatabase(0);
// 2.构造RedissonClient
RedissonClient redissonClient = Redisson.create(config);
// 3.获取锁对象实例(无法保证是按线程的顺序获取到)
RLock rLock = redissonClient.getLock(lockKey);
try {
    /**
     * 4.尝试获取锁
     * waitTimeout 尝试获取锁的最大等待时间,超过这个值,则认为获取锁失败
     * leaseTime   锁的持有时间,超过这个时间锁会自动失效(值应设置为大于业务处理的时间,确保在锁有效期内业务能处理完)
     */
    boolean res = rLock.tryLock((long)waitTimeout, (long)leaseTime, TimeUnit.SECONDS);
    if (res) {
        //成功获得锁,在这里处理业务
    }
} catch (Exception e) {
    throw new RuntimeException("aquire lock fail");
}finally{
    //无论如何, 最后都要解锁
    rLock.unlock();
}

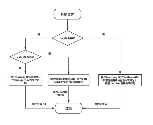
加锁流程图

华为社招面试攻略:Redis中是如何实现分布式锁的?

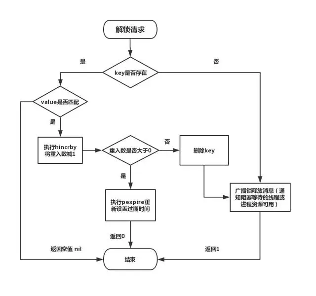
解锁流程图

华为社招面试攻略:Redis中是如何实现分布式锁的?

我们可以看到,RedissonLock是可重入的,并且考虑了失败重试,可以设置锁的最大等待时间, 在实现上也做了一些优化,减少了无效的锁申请,提升了资源的利用率。

需要特别注意的是,RedissonLock 同样没有解决 节点挂掉的时候,存在丢失锁的风险的问题。而现实情况是有一些场景无法容忍的,所以 Redisson 提供了实现了redlock算法的 RedissonRedLock,RedissonRedLock 真正解决了单点失败的问题,代价是需要额外的为 RedissonRedLock 搭建Redis环境。

所以,如果业务场景可以容忍这种小概率的错误,则推荐使用 RedissonLock, 如果无法容忍,则推荐使用 RedissonRedLock。