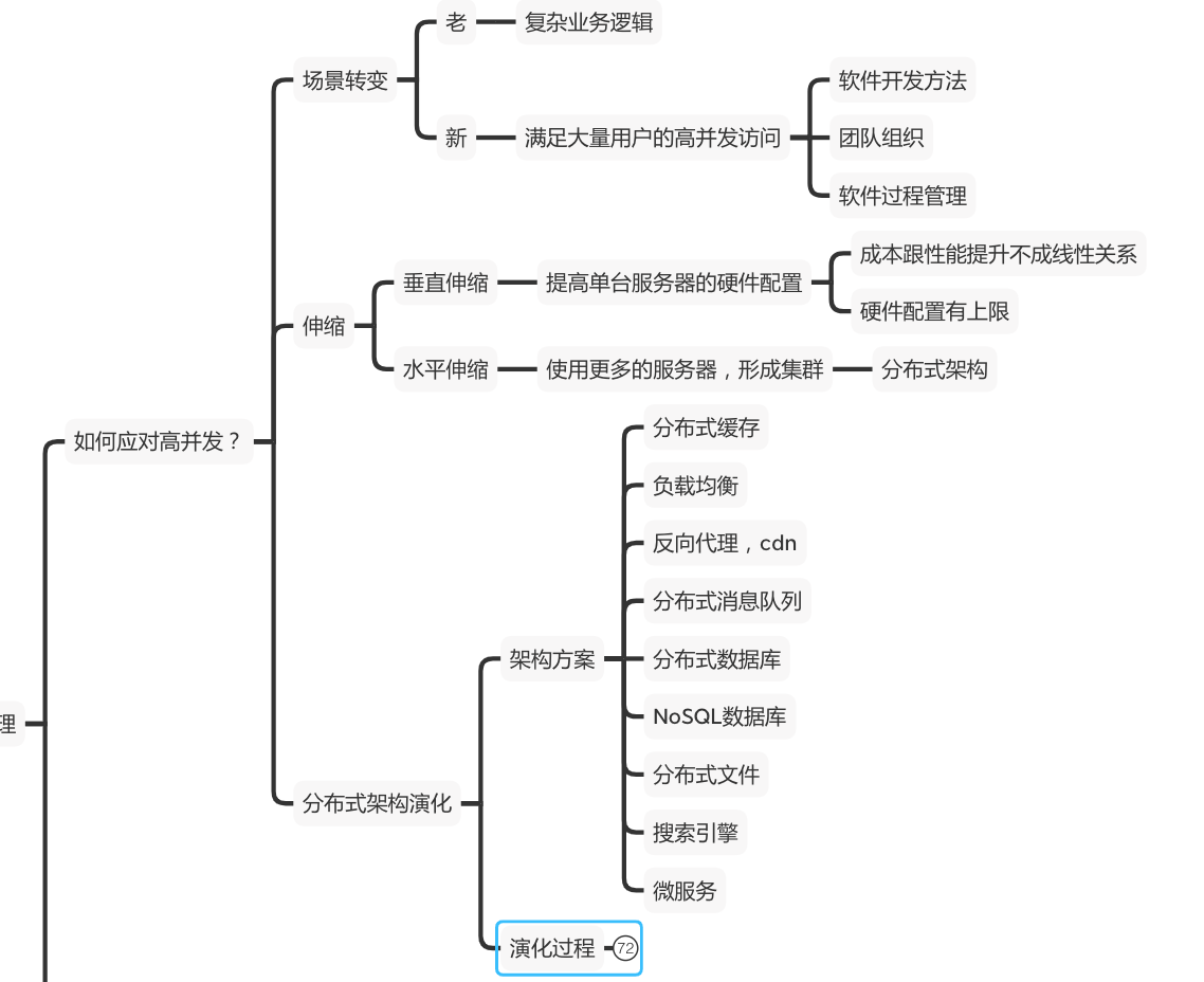
场景的变化
| 场景 | 特点 | 变化点 |
|---|---|---|
| 老 | 复杂的业务逻辑 | |
| 新 | 大量用户高并发访问 | 软件开发方法,过程管理,组织架构变化 |
垂直伸缩
提高服务器的硬件配置来支撑;
两个问题:
- 物理服务器的硬件性能上限;
- 投入的成本跟性能提升不成线性关系;
水平伸缩
使用更多的服务器形成集群来支撑
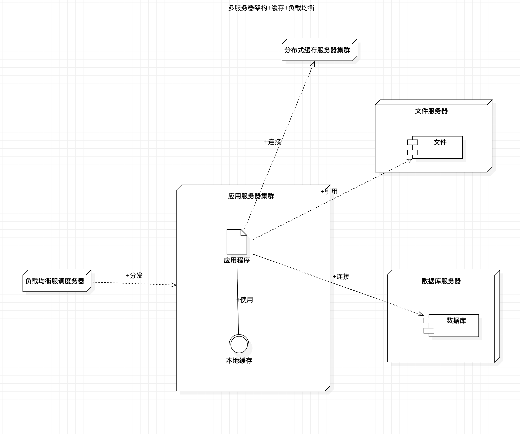
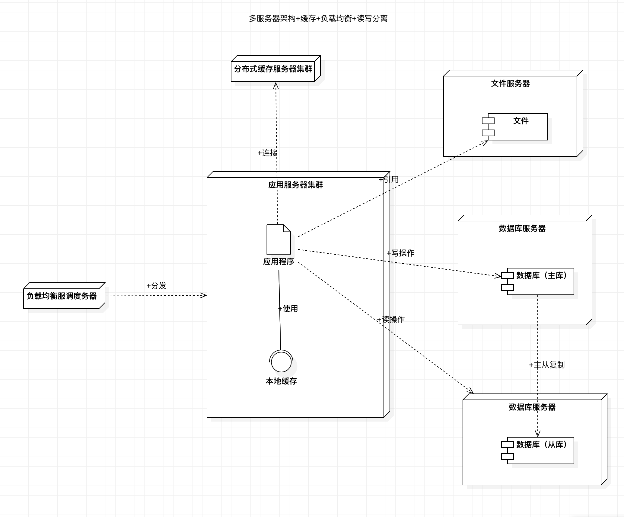
分布式架构的演进






22 缓存
背景
分布式架构中,使用缓存可以优化绝大部分的性能。
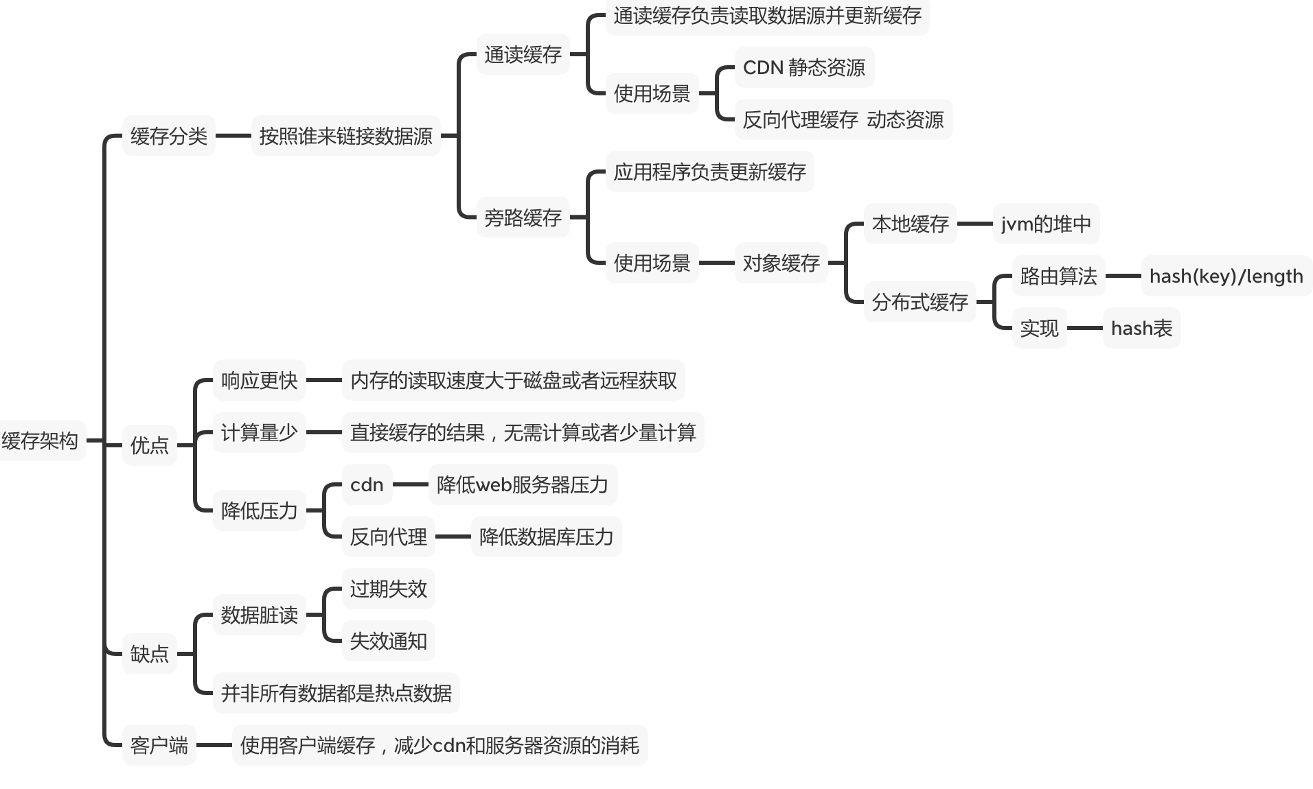
分类
按照谁来操作数据源可以分为两类缓存;
通路缓存
缓存组件直接连接数据源并更新缓存
使用场景:
- CDN 处理静态资源;
- 反向代理缓存 处理动态资源
旁路缓存
应用程序直接连接数据源更新缓存
使用场景:
- 本地缓存: 数据存在jvm的堆中;
- 分布式缓存: 路由算法, hash(key)/length ,主要通过hash表来实现;
优缺点
优点:
- 响应更快,内存的速度远远大于磁盘和远程获取;
- 节省计算资源,直接缓存的是结果;
- 可以降低压力, cdn可以降低web访问的压力, 反向代理可以降低数据库的访问压力
缺点:
- 数据脏读;(过期失效和失效通知来处理)
- 热点数据难以识别;
客户端也可以使用缓存,减少对静态资源的访问;
中台的概念
中台的发展历程
| 时间 | 发展说明 |
|---|---|
| 2008 | 淘宝和天猫重复建设和资源浪费问题-》共享公共部分,平台化 |
| 2015 | supercell的先进模式(沉淀出通用的素材,算法) 阿里开始 大中台,小前台的组织和业务机制转型 |
| 2017 | 阿里,滴滴开始分享中台建设经验,中小企业也开始,但是碰到很多问题 |
| 2018 | baj开始进行中台化的组织架构变更,中台彻底火爆起来 |
| 2019 | 中小企业不断建设中台,但是迷惑很多,无确定的知识理论体系,只有一些实践经验 |
中台为什么这么火?
我认为分两个大的原因:
第一,baj大企业的样板效益,这么做了,并取得了良好的效果;
第二,中小企业的变革和发展碰到的问题;分三个小点概括;
1.中小企业信息化过程中的痛点,重复建设(烟囱林立,数据孤岛),中台可以解决这个痛点;
2.中小企业面对经济发展下行,希望把自己的核心能力进行沉淀和最大程度的复用,企业核心能力确定性面对市场的不确定性;
3.中小企业为了追求业务的持续增长,关注B端(供给侧),希望把自己的能力赋能给更多的传统行业。
小结



32
通过本篇,你可以学到:
1. 了解分布式架构的演进过程;
2. 缓存的常见分类和优缺点;
3.中台的发展历程和火爆原因分析;
原创不易,转载请注明出处。